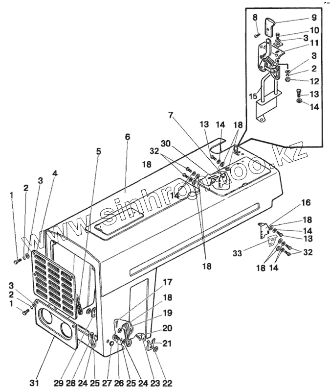
Каталог запасных частей к технике: МТЗ-90/92. Облицовка радиатора. Капот
80-8400005-08
1
1
2
2
2
3
3
3
3
4
5
6
7
8
9
10
11
12
13
13
13
14
14
14
14
14
15
16
17
18
18
18
18
18
18
19
20
21
22
23
24
24
25
25
26
27
28
29
30
31
32
32
33
| Позиция на иллюстрации | Заводской номер детали | Название детали | |
|---|---|---|---|
| 80-8400005-08 | 80-8400005-08 | Облицовка | |
| 1 | М6х35 | Болт | |
| 2 | ШП6 | Шайба | |
| 3 | ШЧ6 | Шайба | |
| 4 | 80-8401070 | Решетка | |
| 5 | 50-8400016-А | Сектор правый | |
| 6 | 80-8402020-01 | Капот | |
| 7 | 80-8402060-В | Кронштейн | |
| 8 | 4x10 | Винт | |
| 9 | 80-6105056 | Рукоятка | |
| 10 | М6х16 | Винт | |
| 11 | 80-8402410 | Замок | |
| 12 | М6 | Гайка | |
| 13 | М8х20 | Болт | |
| 14 | ШП8 | Шайба | |
| 15 | 80-8402420-А | Скоба | |
| 16 | 80-8402065-В | Кронштейн | |
| 17 | 3,2x25 | Шплинт | |
| 18 | ШЧ8 | Шайба | |
| 19 | 50-8400017-А | Сектор левый | |
| 20 | 50-1310158-Б | Пружина | |
| 21 | 80-8401004-01 | Захват левый | |
| 22 | ШЧ 16 | Шайба | |
| 23 | 80-8400014 | Рычаг | |
| 24 | ШЧ 10 | Шайба | |
| 25 | ШП 10 | Шайба | |
| 26 | 50-8400024 | Болт | |
| 27 | 50-2401071 | Пробка | |
| 28 | М10x25 | Болт | |
| 29 | 80-8401004 | Захват правый | |
| 30 | 80-8402067-В-01 | Кронштейн | |
| 31 | 80-8401080 | Решетка (со встроенными фарами) | |
| 32 | М8х16 | Болт | |
| 33 | 80-8402067-В | Кронштейн |
Содержащиеся в справочниках-каталогах запасные части и детали не предлагаются к продаже, а носят исключительно информационный характер