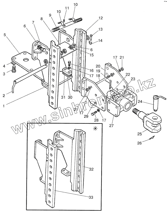
Каталог запасных частей к технике: МТЗ-822. Тягово-сцепное устройство
1322-2707010-Б
1321-2707010-Б
1
2
3
4
5
6
6
7
8
9
10
10
11
12
13
14
15
16
17
17
17
17
18
19
20
21
21
22
23
24
25
26
27
28
29
30
31
31
32
33
| Позиция на иллюстрации | Заводской номер детали | Название детали | |
|---|---|---|---|
| 1322-2707010-Б | 1322-2707010-Б | Тягово-сцепное устройство | |
| 1321-2707010-Б | 1321-2707010-Б | Тягово-сцепное устройство | |
| 1 | 1321-2707060-Б-01 | Боковина левая | |
| 2 | 1522-2707030 | Палец | |
| 3 | 1321-2707014 | Болт | |
| 4 | 1222-2707137 | Пластина | |
| 5 | 1321-2707011-Б | Плита | |
| 6 | ШП20 | Шайба | |
| 7 | 70-4605036 | Болт | |
| 8 | 1321-2707080-Б | Щиток | |
| 9 | 1321-2707074 | Стяжка | |
| 10 | 1321-2707083-Б | Скоба | |
| 11 | М6х12 | Винт | |
| 12 | 1321-2707060-Б | Боковина правая | |
| 13 | А61.05.005 | Чека | |
| 14 | А61.05.004 | Кольцо | |
| 15 | 1321-2707013 | Гайка | |
| 16 | 1220-4605506 | Болт | |
| 17 | ШП16 | Шайба | |
| 18 | 1522-2707244 | Стяжка | |
| 19 | 6,3х63 | Шплинт | |
| 20 | 1321-2707070-Б | Пластина | |
| 21 | М16 | Гайка | |
| 22 | 1522-2707243 | Гайка | |
| 23 | 1522-2707242 | Шайба | |
| 24 | 1321-2707040-Б | Шкворень | |
| 25 | 1321-2707052 | Вилка | |
| 26 | 1321-2707042 | Шплинт | |
| 27 | 1321-2707051 | Кронштейн | |
| 28 | 680-2707024 | Болт | |
| 29 | 1321-2707070Б-01 | Пластина | |
| 30 | 900-2707135 | Пластина | |
| 31 | 900-2707135-01 | Пластина | |
| 31 | 900-2707135-02 | Пластина | |
| 32 | 1322-2707060-Б | Боковина правая | |
| 33 | 1322-2707060Б-01 | Боковина левая |
Содержащиеся в справочниках-каталогах запасные части и детали не предлагаются к продаже, а носят исключительно информационный характер