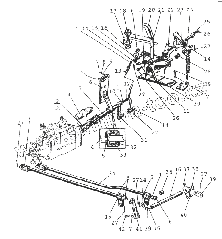
Каталог запасных частей к технике: МТЗ-80 (2002). 4616 Управление регулятором
1
1
2
3
4
4
5
5
6
6
6
6
6
7
7
7
7
8
9
10
11
11
12
13
14
14
14
14
15
15
15
16
17
18
19
20
21
22
23
24
25
26
26
27
27
27
27
27
27
27
28
29
30
31
32
33
34
35
36
37
38
39
39
40
41
42
| Позиция на иллюстрации | Заводской номер детали | Название детали | |
|---|---|---|---|
| 1 | 70-4616140 | Тяга | |
| 2 | OCT37.001.115-75 | Шайба 6Т | |
| 3 | ГОСТ5915-70 | Гайка М6-6Н.6.019 | |
| 4 | 85-4616053 | Чехол | |
| 5 | 80-4616050-В | Вал | |
| 6 | 80В-4616050 | Кронштейн | |
| 7 | ГОСТ5915-70 | Гайка М6-6Н.6.019 | |
| 8 | ОСТ37.001.115-75 | Шайба 8Т | |
| 9 | ГОСТ11371-78 | Шайба С6.01.08кп.019 | |
| 10 | ГОСТ11371-78 | Шайба С6.01.08кп.019 | |
| 11 | ОСТ37.001.115-75 | Шайба 8Т | |
| 12 | ГОСТ7798-70 | Болт M6-6gx16.88.35.019 | |
| 13 | 80-4616С44-Б | Тяга | |
| 14 | ГОСТ11371-78 | Шайба С6.01.08кп.019 | |
| 15 | 80-4616051 | Ползун | |
| 16 | ГОСТ5915-70 | Гайка М6-6Н.6.019 | |
| 17 | 804616034 | Упор | |
| 18 | 80-4616070 | Винт | |
| 19 | 50-1605152 | Пружина | |
| 20 | А13.17.000 | Рукоятка | |
| 21 | 80-4616020-Б | Рычаг | |
| 22 | 80-4616035 | Рычаг | |
| 23 | 85-4616090-Б1 | Сектор | |
| 24 | 80-4616017 | Ролик | |
| 25 | 80-4616155 | Палец | |
| 26 | ГОСТ7798-70 | Болт M6-6gx16.88.35.019 | |
| 27 | ГОСТ397-79 | Шплинт 3.2x18.019 | |
| 28 | 80-4616016 | Втулка | |
| 29 | ГОСТ7796-70 | Болт М8-6gх20.88.35.019 | |
| 30 | 80-4616150 | Кронштейн | |
| 31 | 80В-4616040 | Рычаг | |
| 32 | 80В-4616023 | Втулка | |
| 33 | 80В-4616022 | Сфера | |
| 34 | 70-4616150 | Тяга | |
| 35 | 70-8405114 | Втулка | |
| 36 | 70-4616051 | Валик | |
| 37 | Р50-4616053 | Шпонка | |
| 38 | ГОСТ19942-86 | Кольцо Б15 | |
| 39 | Р50-4616054 | Пластина | |
| 40 | Р50-4616130-Б | Рычаг | |
| 41 | 70-4616110 | Рычаг | |
| 42 | ГОСТ7796-70 | Болт М8-6gх20.88.35.019 |
Содержащиеся в справочниках-каталогах запасные части и детали не предлагаются к продаже, а носят исключительно информационный характер