Каталог запасных частей к технике: МТЗ-510/512, 520/522. Управление подачей топлива
70-1108005-Б1
1
1
2
2
2
3
3
4
5
5
6
7
8
9
10
11
12
13
13
13
13
14
14
14
14
14
14
14
15
16
17
18
19
19
20
21
22
23
24
25
26
27
28
29
30
31
32
33
33
34
35
36
37
38
39
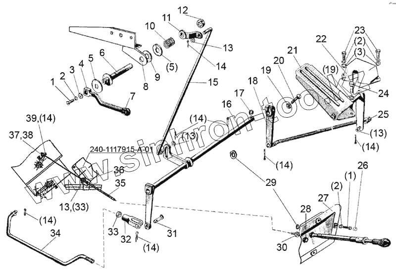
| Позиция на иллюстрации | Заводской номер детали | Название детали | |
|---|---|---|---|
| 70-1108005-Б1 | 70-1108005-Б1 | Подача топлива | |
| 1 | M6-6gx12.88.35.019 | Болт | |
| 2 | 6T | Шайба | |
| 3 | С 6.01.019 | Шайба | |
| 4 | 70-1108271 | Рукоятка | |
| 5 | 50-1108148 | Шайба | |
| 6 | 70-1108260 | Валик | |
| 7 | 70-3401093 | Наконечник | |
| 8 | 70-1108250 | Кронштейн | |
| 9 | 80-1108178 | Шайба фрикционная | |
| 10 | А20-245-Б | Пружина | |
| 11 | 50-1108146 | Рычаг | |
| 12 | М14x1.5-61-1.6.019 | Гайка | |
| 13 | С 8.01.019 | Шайба | |
| 14 | 3.2x18.019 | Шплинт | |
| 15 | 70-1108167-Б1 | Тяга | |
| 16 | 70-1108230 | Валик | |
| 17 | 50-1108044 | Шпонка | |
| 18 | 70Х-1108043 | Рычаг | |
| 19 | 8Т | Шайба | |
| 20 | M8-6gx25.88.35.019 | Болт | |
| 21 | 70-1108220 | Педаль | |
| 22 | 70-1108244 | Коробка | |
| 23 | М6-6gх16.88.35.019 | Болт | |
| 24 | М8-6gх20.88.35.019 | Болт | |
| 25 | 70-1108063 | Тяга | |
| 26 | А30.04.017 | Колпачок | |
| 27 | 70-1115020 | Щиток управления | |
| 28 | 70-3723023 | Втулка | |
| 29 | С 12.01.019 | Шайба | |
| 30 | М12х1.25-61-1.6.019 | Гайка | |
| 31 | 8x30 | Палец | |
| 32 | А20.213-А | Вилка | |
| 33 | М8-6Н.6.019 | Гайка | |
| 34 | 70-1108116 | Тяга | |
| 35 | 80-1108630-А | Трос | |
| 36 | 80-1108026 | Кронштейн | |
| 37 | 70-1310441 | Фиксатор | |
| 38 | В.М4-6gх10.46.016 | Винт | |
| 39 | 80-1108317 | Бонка |
Содержащиеся в справочниках-каталогах запасные части и детали не предлагаются к продаже, а носят исключительно информационный характер