Вернуться на главную
Поиск
Каталоги запчастей к технике
Сельхозтехника
МТЗ
МТЗ-2022
Установка конденсатора и фильтра-осушителя
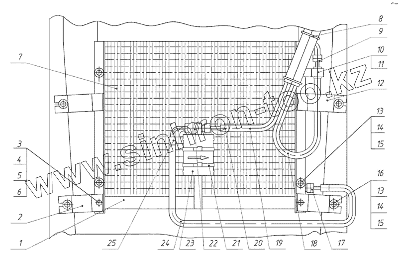
Каталог запасных частей к технике: МТЗ-2022. Установка конденсатора и фильтра-осушителя
zoom-in
zoom-out
enlarge
shrink
circle-right
circle-left
file-text2
info
cart
Тип техники
Не выбрано
Легковые автомобили
Грузовые автомобили и прицепы
Автобусы
Сельхозтехника
Спецтехника
Двигатели
Мототехника
Марка
Не выбрано
AGCO
Amity
CASE IH
DongFeng
Fortschritt
Foton
Franz Kleine
Gaspardo
Great Plains
KRONE
KUHN
Lemken
Lovol
MacDon
Massey Ferguson
New Holland
TIGARBO
Vaderstad
Versatile
Wirax
Агро
Агротехмаш
Бобруйскагромаш (ОАО «УКХ «Бобруйскагромаш»)
БЭМЗ
ВгТЗ
Воронежсельмаш
ВТЗ
Гомсельмаш
ДКЗ
ЗАО "Техника-сервис"
ЗиД
КЗК
Кировец-Ландтехник
Клевер
Красная Звезда
Лидагропроммаш
Лидсельмаш
ЛТЗ
Машстройхолдинг
Минитракторы
Мордовагромаш
МТЗ
Навигатор-Новое машиностроение
Нефтекамский автозавод
ПТЗ
Ремком
РСМ
Сибсельмаш
ТеКЗ
ТКЗ
ХЗТСШ
ХТЗ
ЮМЗ
Модель
Не выбрано
1025.5 (2013)
1025/1025.2/1025.3 (2009)
1220 (2011)
1220.5 (2013)
1523.5 (2013)
1523.5 с ГМТ (2014)
2122.3/2122.4 (2015)
3022ДЦ.1 (2011)
320.4М (2019)
622 (2012)
800/900 (2003)
80Х (2012)
892 (2011)
922.3 / 922.4 (2013)
922.5 (2013)
923.4 (2014)
923.5 (2013)
92П (2010)
952.5 (2013)
БЕЛАРУС 1025.7 (2022)
БЕЛАРУС 1220.7 (2022)
БЕЛАРУС 1221.7 (2022)
БЕЛАРУС 2103 (2015)
БЕЛАРУС 320 (1998)
БЕЛАРУС 3522.5 (2013)
БЕЛАРУС 3525 (2019)
БЕЛАРУС 421 (2014)
БЕЛАРУС 451 (2023)
БЕЛАРУС 651 (2023)
БЕЛАРУС 923.7 (2022)
БЕЛАРУС 952.7 (2022)
Беларус-08Н (09Н) (2015)
Беларус-422.1 (2018)
КБ-00.000 (САЗ) (2015)
КМ-2 (САЗ) (2015)
МТЗ-082
МТЗ-100
МТЗ-1005 (2008)
МТЗ-1021.3 (2010)
МТЗ-1025.4 (2009)
МТЗ-112Н, 132Н (2010)
МТЗ-1221 (1997)
МТЗ-1221 (2009) (2009)
МТЗ-1221.4 (2009)
МТЗ-1221.4 (2009)
МТЗ-1221.5 (2013)
МТЗ-1222/1523 (2009)
МТЗ-1522 (2008)
МТЗ-1523
МТЗ-1523 (2013)
МТЗ-1523 (2008) (2008)
МТЗ-1523.4 (2010)
МТЗ-1523.6 (2018)
МТЗ-2022 (2010)
МТЗ-2103 (2010)
МТЗ-2522 (2010)
МТЗ-310, 320, 321 (2011)
МТЗ-3522 (2011)
МТЗ-510/512, 520/522 (2010)
МТЗ-570 (2010)
МТЗ-80 (1998)
МТЗ-80 (2002) (2002)
МТЗ-80 (2009) (2009)
МТЗ-80.1 (2015)
МТЗ-821/921 (2009)
МТЗ-822 (2008)
МТЗ-826 (2010)
МТЗ-90/92 (2008)
МТЗ-900
МТЗ-900/920/950/952 (2009)
МТЗ-920.4/952.4 (2009)
МТЗ-922 (2008)
МТЗ-923 (2008)
ФР-00.010 (САЗ) (2015)
ФР-00700-Б (САЗ) (2015)
Схема
>
Не выбрано
Кабина
Дверь кабины
Сиденье оператора
Механизм реверса
Установка отопителя-охладителя
Установка отопителя-охладителя
Установка конденсатора и фильтра-осушителя
Установка компрессора
Установка шлангов кондиционера
Зеркало внутреннее
Зеркало наружное
Козырек противосолнечный
Установка ящика инструментального
Облицовка
Крылья передних колес
Подножка
Управление БД, ПВМ и редуктором
Управление навесным устройством
Баки топливные
Установка воздухоочистителя
Управление подачей топлива
Управление подачей топлива (в режиме реверса)
Установка глушителя
Блок охлаждения 2022-1301009-Б
Установка охладителя
Ограждение вентилятора
Установка сцепления
Корпус сцепления
Управление сцеплением
Управление сцеплением
Цилиндр главный 2022-1602810
Бачок 822-1602120
Гидроусилитель 2022-1602510-01
Цилиндр рабочий 1523-1602550
Цилиндр главный (на реверсе)
Кран 2822-1602100-03
Коробка передач 1222-1700010
Вал первичный
Вал промежуточный
Вал пониженных передач и заднего хода
Вал блока шестерен
Вал вторичный
Механизм управления коробкой передач
Цилиндр
Привод насосов
Насос масляный шестеренный
Фильтр
Фильтр-распределитель
Привод переднего ведущего моста
Привод карданный
Ограждение
Передний ведущий мост, редуктор центральный
Редуктор конечной передачи переднего ведущего моста
Корпус заднего моста, передача конечная, механизм отключения привода независимого ВОМ
Передача конечная
Дифференциал, стакан подшипников
Привод блокировки
Полурама в сборе
Колеса передние ведущие
Колеса задние ведущие
Тяга рулевая
Колонка рулевая
Колонка рулевая
Гидроцилиндр 50x25-250
Управление рулевое гидрообъемное
Управление рулевое гидрообъемное
Управление рулевое гидрообъемное, реверс
Тормоза рабочие
Управление тормозами
Цилиндр рабочий 822-1602550-Б-01
Управление тормозами на реверсе
Управление стояночным тормозом
Трубопроводы и арматура пневмопривода тормозов прицепа
Регулятор давления
Баллон
Кран тормозной
Головка соединительная
Электрооборудование по дизелю
Электрооборудование трансмиссии
Электрооборудование по кабине
Электрооборудование по кабине
Установка фонарей передних
Генератор
Установка батарей аккумуляторных
Щиток приборов
Гидроагрегаты и арматура
Гидроагрегаты и арматура
Гидроагрегаты и арматура
Бак
Фильтр выносной Б2022-4608310
Привод насоса гидросистемы
Тягово-сцепное устройство
Вал отбора мощности задний
Управление гидропривода заднего ВОМ
Балласт
Устройство навесное
Узлы и элементы навесного устройства
Инструмент оператора
Аптечка
1
2
3
4
5
6
7
8
9
10
11
12
13
13
14
14
15
15
16
17
18
19
20
21
22
23
24
25
Позиция на иллюстрации
Заводской номер детали
Название детали
1
3022-8112050
Кронштейн
2
3022-8112110
Кронштейн
3
M6-6gx25.88.35.019
Винт
4
М6-6Н.6.019
Гайка
5
С6.01.019
Шайба
6
6Т
Шайба
7
U00022437
Конденсатор
8
80-3723045-01
Манжета
9
70108FG095
Фитинг 70108FG095
10
923-3723012
Хомутик
11
3022-8100011
Трубка
12
3022-8112110-01
Кронштейн
13
М8-6Н.6.019
Гайка
14
С8.01.019
Шайба
15
8Т
Шайба
16
M8-6gx25.88.35.019
Болт
17
70106FG056
Фитинг 70106FG056
18
90008GN1
Шланг
19
90006 GN1
Шланг
20
70106 FG039
Фитинг
21
TORRO 70-90/9-C6W
Хомут
22
Датчик давления
Датчик давления
23
017051
Фильтр-осушитель 017051
24
90006GN1
Шланг
25
70106FG032
Фитинг
Содержащиеся в справочниках-каталогах запасные части и детали не предлагаются к продаже, а носят исключительно информационный характер
Дополнительная информация
×
Название:
Номер:
Примечание: