Каталог запасных частей к технике: МТЗ-2022. Передача конечная
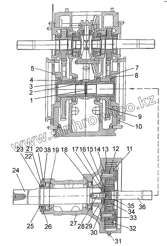
1
2
3
4
5
5
7
8
9
10
11
12
13
14
15
16
17
17
18
19
20
21
22
23
24
25
26
27
27
28
29
29
30
31
32
33
34
34
35
36
38
| Позиция на иллюстрации | Заводской номер детали | Название детали | |
|---|---|---|---|
| 2022-2407080 | 2022-2407080 | Полуось | |
| 2022-2407030 | 2022-2407030 | Крышка | |
| 1 | С52 | Кольцо | |
| 2 | А.8х26.65Г | Штифт | |
| 3 | 2022-2407123 | Втулка | |
| 4 | 1822-2409012 | Муфта | |
| 5 | 2022-2407130 | Стакан | |
| 5 | 2022-2407131 | Стакан | |
| 7 | 1822-2409011 | Муфта | |
| 8 | 217А | Подшипник | |
| 9 | 2022-2407122 | Шестерня ведомая | |
| 10 | 2022-2407132 | Кольцо | |
| 11 | 2022-2407538 | Шайба сателлита | |
| 12 | 2022-2407539 | Шайба распорная | |
| 13 | 2022-2405050 | Шестерня ведомая | |
| 14 | 2022-2407556 | Ось | |
| 15 | 2022-2407507 | Шайба | |
| 16 | 2022-2407537 | Шайба | |
| 17 | 2022-2407506 | Прокладка | |
| 17 | 2022-2407506-01 | Прокладка | |
| 18 | 7220А | Подшипник | |
| 19 | 2022-2407091 | Кольцо | |
| 20 | 2022-2407028 | Крышка | |
| 21 | М12x35 | Болт | |
| 22 | ШП 12 | Шайба | |
| 23 | 2022-2407084 | Втулка | |
| 24 | 2022-2407082 | Полуось | |
| 25 | 120-125-30-1-4 | Кольцо | |
| 26 | 2.2-120x150-1 | Манжета | |
| 27 | 2022-2407015-01 | Рукав правый | |
| 27 | 2022-2407015 | Рукав левый | |
| 28 | 2022-2407511 | Болт | |
| 29 | 2022-2407535 | Водило | |
| 29 | 2022-2407536 | Водило | |
| 30 | 2С55 | Кольцо | |
| 31 | "ПК КГ 3/8""" | Пробка | |
| 32 | 2022-2405035 | Сателлит | |
| 33 | А.8х45 | Штифт | |
| 34 | 2022-2407540 | Шестерня ведущая | |
| 34 | 2022-2405028 | Шестерня ведущая | |
| 35 | 1221-2407542 | Втулка | |
| 36 | 1221-2407541 | Вал | |
| 37 | 6х27,8А3 | Ролик | |
| 38 | 2022-2407029 | Прокладка |
Содержащиеся в справочниках-каталогах запасные части и детали не предлагаются к продаже, а носят исключительно информационный характер