Каталог запасных частей к технике: МТЗ-2022. Облицовка
1
2
2
2
2
3
3
3
3
4
4
4
4
4
5
5
6
6
7
8
8
8
8
8
8
8
8
9
10
11
12
13
14
15
16
16
16
16
16
16
16
17
17
17
17
17
17
17
17
17
18
19
20
21
22
23
24
25
26
27
28
29
30
30
31
32
32
33
34
35
36
37
38
39
40
41
42
43
44
45
46
47
48
49
50
51
52
53
54
55
56
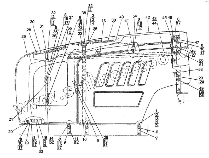
| Позиция на иллюстрации | Заводской номер детали | Название детали | |
|---|---|---|---|
| 1 | 923-8400011 | Фиксатор | |
| 2 | М8-6Н.6.019 | Гайка | |
| 3 | С8.01.019 | Шайба | |
| 4 | 8Т | Шайба | |
| 5 | 549А-1305044 | Кольцо | |
| 6 | С16.01.019 | Шайба | |
| 7 | 2022-8400142 | Опора | |
| 8 | M6-6gx16.88.35.019 | Болт | |
| 9 | 2022-840001 | Пластина | |
| 10 | 2022-8400010 | Рама | |
| 11 | 2022-8400024 | Направляющая | |
| 12 | 2022-8400024-01 | Направляющая | |
| 13 | 90-8400012-Б | Кронштейн | |
| 14 | 90-8400021 | Зажим | |
| 15 | M8-6gx20.88.35.019 | Болт | |
| 16 | С6.01.019 | Шайба | |
| 17 | 6Т | Шайба | |
| 18 | С6.01.019 | Шайба | |
| 19 | 923-8400050 | Зажим | |
| 20 | 923-8400012 | Упор | |
| 21 | 90-8400070 | Тяга | |
| 22 | 923-8400031 | Ось | |
| 23 | 90-8402410 | Замок левый | |
| 24 | 90-8402410-01 | Замок правый | |
| 25 | B.M6-6gx12.58.019 | Винт | |
| 26 | М6-6Н.6.019 | Гайка | |
| 27 | B.M5-6gx12.58.019 | Винт | |
| 28 | 5 65Г.07.6 | Шайба | |
| 29 | 2022-8400225 | Маска | |
| 30 | 21054 | Пневмоподъемник | |
| 31 | 2022-8400170-Б | Опора | |
| 32 | M8-6gx30.88.35.019 | Болт | |
| 33 | 2022-8400035 | Кронштейн | |
| 34 | 70-3401093 | Наконечник | |
| 35 | C8.01.019 | Шайба | |
| 36 | 3.2x25.019 | Шплинт | |
| 37 | 2022-8400027 | Кронштейн | |
| 38 | 2022-8400040 | Опора | |
| 39 | 923-8400045 | Петля | |
| 40 | 90-8400070-01 | Тяга | |
| 41 | 2022-8400190 | Опора | |
| 42 | 2022-8402020 | Капот | |
| 43 | 2022-8402350 | Боковина | |
| 44 | 2022-8402360 | Боковина | |
| 45 | 2022-8402101 | Экран | |
| 46 | 1221-8402420 | Скоба | |
| 47 | 80-8402410 | Замок | |
| 48 | 70-4803023 | Муфта | |
| 49 | 923-8400033 | Стержень | |
| 50 | 822-8400080-01 | Трос управления | |
| 51 | М12х1.25-6Н.6.019 | Гайка | |
| 52 | 92П-8400016 | Пластина | |
| 53 | 1321-8402095-Б | Фиксатор | |
| 54 | 80-6708225 | Кронштейн | |
| 55 | M8-6gx40.88.35.019 | Болт | |
| 56 | М10-6Н.6.019 | Гайка |
Содержащиеся в справочниках-каталогах запасные части и детали не предлагаются к продаже, а носят исключительно информационный характер