Каталог запасных частей к технике: МТЗ-1523 (2008). Отопитель
1
2
2
3
3
3
4
5
6
7
8
9
9
10
10
11
11
12
13
14
15
16
17
17
18
18
19
20
21
22
23
23
23
24
24
24
25
26
27
28
29
30
30
31
31
32
33
34
35
35
36
37
38
39
40
41
42
43
44
45
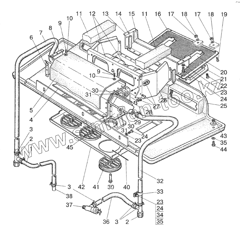
| Позиция на иллюстрации | Заводской номер детали | Название детали | |
|---|---|---|---|
| 1 | 1522-8101012-03 | Шланг | |
| 2 | 80-8100050 | Кран | |
| 3 | 20-32 Норма | Хомут Норма | |
| 4 | 1522-8101104 | Крышка | |
| 5 | 1522-8101105 | Обивка | |
| 6 | 1522-8101170 | Стенка | |
| 7 | 1522-8101012-01 | Шланг | |
| 8 | 1522-8101101-01 | Косынка | |
| 9 | 2-4х16 | Шуруп | |
| 10 | С5 | Шайба | |
| 11 | 1522-8101013-02 | Уплотнитель | |
| 12 | ИЖСК632546.001 | Вентилятор | |
| 13 | 1522-8101103 | Обечайка | |
| 14 | 1522-8101013-04 | Уплотнитель | |
| 15 | 1522-8101013-03 | Уплотнитель | |
| 16 | 1522-8101160 | Накладка | |
| 17 | М6 | Гайка | |
| 18 | ШЧ6 | Шайба | |
| 19 | ВМ6х25 | Винт | |
| 20 | 80-8100012 | Заслонка | |
| 21 | 1522-8101033 | Крышка | |
| 22 | ВМ6х25 | Винт | |
| 23 | ШП8 | Шайба | |
| 24 | М8х25 | Болт | |
| 25 | 1522-8101110 | Панель | |
| 26 | 1522-8101130 | Короб | |
| 27 | ВМ5х10 | Винт | |
| 28 | 1522-8101101 | Косынка | |
| 29 | 1522-8101060 | Радиатор | |
| 30 | ШП5 | Шайба | |
| 31 | М5 | Гайка | |
| 32 | 1522-8101012 | Шланг | |
| 33 | 220-3723012 | Хомутик | |
| 34 | М8 | Гайка | |
| 35 | ШЧ8 | Шайба | |
| 36 | 1522-8101012-02 | Шланг | |
| 37 | ВС11(КР-29) | Кран | |
| 38 | 80-8100023 | Штуцер | |
| 39 | 50-8400031 | Ось | |
| 40 | 80-8100014-02 | Стержень | |
| 41 | 150.95.301 | Воздухораспределитель | |
| 42 | 1522-8101029 | Панель | |
| 43 | М8 | Гайка | |
| 44 | М8х35 | Болт | |
| 45 | 1522-8101102 | Стенка |
Содержащиеся в справочниках-каталогах запасные части и детали не предлагаются к продаже, а носят исключительно информационный характер