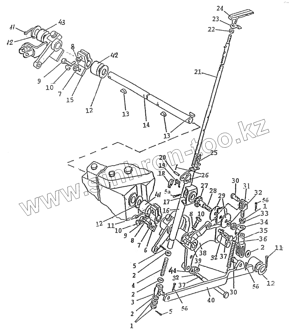
Каталог запасных частей к технике: МТЗ-1523.6. Управление стояночным тормозом
1
1
2
2
2
2
3
4
5
5
5а
5б
5б
5б
6
7
7
8
8
9
9
10
10
10
11
11
11
12
12
12
12
13
13
14
15
16
17
18
19
20
21
22
23
24
25
26
27
28
29
30
30
31
32
32
32
33
34
35
36
37
37
38
39
40
41
42
43
44
| Позиция на иллюстрации | Заводской номер детали | Название детали | |
|---|---|---|---|
| 1522М-3507010 | 1522М-3507010 | Управление тормозами | |
| 1522-3507020 | 1522-3507020 | Механизм вытяжной | |
| 31 | 1522-3507160 | Тяга | |
| 1 | ГайкаМ12х1,25-6Н.6.019 | Гайка М12х1,25-6Н.6.019 | |
| 2 | ШайбаС12.01.019 | Шайба | |
| 3 | 1522-3507012 | Цапфа | |
| 4 | 77.55.230 | Пружина внутренняя | |
| 5 | Шплинт4х25.019 | Шплинт | |
| 5а | Шплинт4х36.019 | Шплинт | |
| 5б | Шплинт3,2х18.019 | Шплинт | |
| 6 | 1522-3507050 | Рычаг | |
| 7 | ГайкаМ12-6Н.6.019 | Гайка | |
| 8 | Шайба12.ОТ | Шайба | |
| 9 | БолтМ12-6gх40.88.35.019 | Болт | |
| 10 | БолтМ12-6gх35.88.35.019 | Болт | |
| 11 | Шплинт5х36.019 | Шплинт | |
| 12 | 50-3503071 | Шайба | |
| 13 | СШ-611 | Шпонка | |
| 14 | 1522М-3503015 | Валик | |
| 15 | 1522-3507045 | Рычаг | |
| 16 | 1522-3507030-A | Кронштейн | |
| 17 | ШайбаС18.01.019 | Шайба С 18.01.019 | |
| 18 | 1522-3507022 | Фиксатор | |
| 19 | 1522-3507024 | Пружина | |
| 20 | 1522-3507029 | Палец | |
| 21 | 1522-3507025 | Тяга | |
| 22 | 52-2203013 | Гайка | |
| 23 | 1522-3507023 | Упор | |
| 24 | 1522-3507021-А | Рукоятка | |
| 25 | ВК409 | Выключатель | |
| 26 | Шплинт1,6х12.019 | Шплинт 1,6х12.019 | |
| 27 | 1522-3507028 | Втулка | |
| 28 | 1522-3507038 | Ось | |
| 29 | 1522-3507013 | Шайба | |
| 30 | Палец12х32 | Палец | |
| 31 | 1021-3507161 | Тяга | |
| 32 | Шайба14.ОТ | Шайба | |
| 33 | ГайкаМ14х1,5-6Н.6.019 | Гайка | |
| 34 | 80-1602116 | Ушко | |
| 35 | 80В-3503551 | Вилка | |
| 36 | 80В-4616014-A | Пружина | |
| 37 | 1221М-3502039-02 | Болт | |
| 38 | 1522М-3507070 | Кронштейн | |
| 39 | 1522-3507060 | Рычаг | |
| 40 | 1522М-3507040 | Рычаг | |
| 41 | 1221М-3503016-02 | Втулка | |
| 42 | 1221М-3503016-01 | Втулка | |
| 43 | 1221М-3503016 | Втулка | |
| 44 | 80-1602116-01 | Ушко |
Содержащиеся в справочниках-каталогах запасные части и детали не предлагаются к продаже, а носят исключительно информационный характер