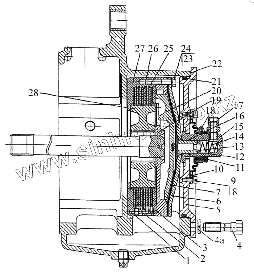
Каталог запасных частей к технике: МТЗ-1523.6. Муфта блокировки дифференциала «мокрая»
15
1
2
3
3
3
3
3
3
3
4
4а
5
6
7
8
9
10
11
12
13
14
15
16
17
18
18
18
19
20
21
22
23
24
25
26
27
28
| Позиция на иллюстрации | Заводской номер детали | Название детали | |
|---|---|---|---|
| 80М-2409010 | 80М-2409010 | Муфта блокировки | |
| 15 | 1221М-2409050-01 | Переходник | |
| 1 | 80М-2409002 | Палец | |
| 2 | 50-1702148-А | Пружина фиксатора | |
| 3 | 80М-2409028 | Диск отжимной | |
| 3 | 80М-2409028-01 | Диск отжимной | |
| 3 | 80М-2409028-02 | Диск отжимной | |
| 3 | 80М-2409028-03 | Диск отжимной | |
| 3 | 80М-2409028-04 | Диск отжимной | |
| 3 | 80М-2409028-05 | Диск отжимной | |
| 3 | 80М-2409028-06 | Диск отжимной | |
| 4 | 1221М-3502039 | Болт | |
| 4а | Шайба14.ОТ | Шайба | |
| 5 | 1221М-2409034-01 | Крышка | |
| 6 | 70-2409030-Б | Крышка диафрагмы | |
| 7 | 70-2409021 | Диафрагма | |
| 8 | БолтМ8-6gх40.88.35.019 | Болт | |
| 9 | Шайба6Т | Шайба | |
| 10 | 80М-2409037 | Кольцо | |
| 11 | 80М-2409036 | Уплотнитель | |
| 12 | 70-2409033-Б | Кольцо | |
| 13 | 70-2409027-А | Втулка | |
| 14 | 54-06-448-А | Пружина | |
| 15 | 70-2409026-Б | Переходник | |
| 16 | 020-025-30-1-4 | Кольцо | |
| 17 | 85-3407470 | Штуцер | |
| 18 | 32-50/9-C6W | Хомут NORMA TORRO | |
| 18 | 35-50/971 | Хомут с червячной резьбой 35-50 | |
| 19 | 70-2409020-02 | Вал блокировочный | |
| 20 | 80М-2409018 | Диск нажимной | |
| 21 | Кольцо205-215-58-2-2 | Кольцо 205-215-58-2-2 | |
| 22 | 1221М-2409051 | Прокладка | |
| 23 | БолтМ8-6gх40.88.35.019 | Болт | |
| 24 | Шайба8Т | Шайба 8Т | |
| 25 | 80М-2409016 | Диск промежуточный | |
| 26 | 2522-1802035-А | Диск ведущий | |
| 27 | 80М-2409015 | Корпус муфты | |
| 28 | 80M-2409001 | Ступица |
Содержащиеся в справочниках-каталогах запасные части и детали не предлагаются к продаже, а носят исключительно информационный характер