Вернуться на главную
Поиск
Каталоги запчастей к технике
Сельхозтехника
МТЗ
МТЗ-1523.4
Установка отопителя-охладителя
Каталог запасных частей к технике: МТЗ-1523.4. Установка отопителя-охладителя
zoom-in
zoom-out
enlarge
shrink
circle-right
circle-left
file-text2
info
cart
Тип техники
Не выбрано
Легковые автомобили
Грузовые автомобили и прицепы
Автобусы
Сельхозтехника
Спецтехника
Двигатели
Мототехника
Марка
Не выбрано
AGCO
Amity
CASE IH
DongFeng
Fortschritt
Foton
Franz Kleine
Gaspardo
Great Plains
KRONE
KUHN
Lemken
Lovol
MacDon
Massey Ferguson
New Holland
TIGARBO
Vaderstad
Versatile
Wirax
Агро
Агротехмаш
Бобруйскагромаш (ОАО «УКХ «Бобруйскагромаш»)
БЭМЗ
ВгТЗ
Воронежсельмаш
ВТЗ
Гомсельмаш
ДКЗ
ЗАО "Техника-сервис"
ЗиД
КЗК
Кировец-Ландтехник
Клевер
Красная Звезда
Лидагропроммаш
Лидсельмаш
ЛТЗ
Машстройхолдинг
Минитракторы
Мордовагромаш
МТЗ
Навигатор-Новое машиностроение
Нефтекамский автозавод
ПТЗ
Ремком
РСМ
Сибсельмаш
ТеКЗ
ТКЗ
ХЗТСШ
ХТЗ
ЮМЗ
Модель
Не выбрано
1025.5 (2013)
1025/1025.2/1025.3 (2009)
1220 (2011)
1220.5 (2013)
1523.5 (2013)
1523.5 с ГМТ (2014)
2122.3/2122.4 (2015)
3022ДЦ.1 (2011)
320.4М (2019)
622 (2012)
800/900 (2003)
80Х (2012)
892 (2011)
922.3 / 922.4 (2013)
922.5 (2013)
923.4 (2014)
923.5 (2013)
92П (2010)
952.5 (2013)
БЕЛАРУС 1025.7 (2022)
БЕЛАРУС 1220.7 (2022)
БЕЛАРУС 1221.7 (2022)
БЕЛАРУС 2103 (2015)
БЕЛАРУС 320 (1998)
БЕЛАРУС 3522.5 (2013)
БЕЛАРУС 3525 (2019)
БЕЛАРУС 421 (2014)
БЕЛАРУС 451 (2023)
БЕЛАРУС 651 (2023)
БЕЛАРУС 923.7 (2022)
БЕЛАРУС 952.7 (2022)
Беларус-08Н (09Н) (2015)
Беларус-422.1 (2018)
КБ-00.000 (САЗ) (2015)
КМ-2 (САЗ) (2015)
МТЗ-082
МТЗ-100
МТЗ-1005 (2008)
МТЗ-1021.3 (2010)
МТЗ-1025.4 (2009)
МТЗ-112Н, 132Н (2010)
МТЗ-1221 (1997)
МТЗ-1221 (2009) (2009)
МТЗ-1221.4 (2009)
МТЗ-1221.4 (2009)
МТЗ-1221.5 (2013)
МТЗ-1222/1523 (2009)
МТЗ-1522 (2008)
МТЗ-1523
МТЗ-1523 (2013)
МТЗ-1523 (2008) (2008)
МТЗ-1523.4 (2010)
МТЗ-1523.6 (2018)
МТЗ-2022 (2010)
МТЗ-2103 (2010)
МТЗ-2522 (2010)
МТЗ-310, 320, 321 (2011)
МТЗ-3522 (2011)
МТЗ-510/512, 520/522 (2010)
МТЗ-570 (2010)
МТЗ-80 (1998)
МТЗ-80 (2002) (2002)
МТЗ-80 (2009) (2009)
МТЗ-80.1 (2015)
МТЗ-821/921 (2009)
МТЗ-822 (2008)
МТЗ-826 (2010)
МТЗ-90/92 (2008)
МТЗ-900
МТЗ-900/920/950/952 (2009)
МТЗ-920.4/952.4 (2009)
МТЗ-922 (2008)
МТЗ-923 (2008)
ФР-00.010 (САЗ) (2015)
ФР-00700-Б (САЗ) (2015)
Схема
>
Не выбрано
Кабина трактора
Кабина трактора
Дверь кабины
Сиденье оператора
Сиденье оператора
Механизм реверса
Установка кондиционера
Установка компрессора
Отопитель (по заказу)
Отопитель (по заказу)
Установка отопителя-охладителя
Установка отопителя-охладителя
Зеркало внутреннее
Зеркало наружное
Козырек противосолнечный
Облицовка
Облицовка
Крылья передних колес
Подножка
Управление БД и ПВМ 1522-8700410-Д
Управление БД и ПВМ и ПВОМ 1523-8700210-Д
Управление БД, ПВМ и редуктором 2022-8700450-Д
Управление навесным устройством 1522-8700610
Управление двигателем «DEUTZ» 2022Д.4-8700910-Б
Установка двигателя
Баки топливные
Установка воздухоочистителя
Управление подачей топлива
Установка топливного фильтра
Установка глушителя
Блок охлаждения 1523Д-1301009
Ограждение вентилятора
Установка сцепления 1523Д-1005009
Корпус сцепления
Корпус сцепления
Управление сцеплением
Цилиндр главный 2022-1602810
Гидроусилитель
Цилиндр рабочий
Кран
Бачок
Коробка переда 1522-1700010
Вал первичный
Вал вторичный
Вал промежуточный
Вал пониженных передач
Механизм управления коробкой передач
Коробка передач 1222-1700010 (24F+12R)
Вал первичный
Вал промежуточный
Вал пониженных передач и заднего хода
Вал блока шестерен
Вал вторичный
Механизм управления коробкой передач
Цилиндр
Привод насоса
Насос масляный шестеренный
Фильтр
Фильтр-распределитель
Привод переднего ведущего моста
Привод карданный
Ограждение
Передний ведущий мост, главная передача, дифференциал и редуктор конечной передачи
Главная передача переднего ведущего моста (1222-2300020-05)
Дифференциал
Редуктор конечной передачи переднего ведущего моста (1222-2300020-05)
Корпус заднего моста, конечная передача
Дифференциал, cтакан подшипников
Система смазки заднего моста (вариант)
Система смазки заднего моста (вариант)
Механизм блокировки дифференциала
Муфта блокировки дифференциала «мокрая»
Полурама
Тяга рулевая
Колеса передние ведущие
Колеса задние ведущие
Колонка рулевая
Колонка рулевая
Гидроцилиндр 50x25-200
Управление рулевое гидрообъемное
Управление рулевое гидрообъемное
Тормоза «мокрые»
Управление тормозами, бачки тормозной жидкости
Управление «мокрыми» тормозами (вариант)
Управление «мокрыми» тормозами (вариант)
Управление стояночным тормозом («мокрым»)
Трубопроводы и арматура пневмопривода тормозов прицепа
Баллон
Кран тормозной
Установка фар дорожных
Электрооборудование по дизелю
Электрооборудование по трансмиссии
Электрооборудование по трансмиссии
Электрооборудование по кабине I
Электрооборудование по кабине II
Установка фонарей передних
Установка батарей аккумуляторных
Щиток приборов
Тягово-сцепное устройство
Вал отбора мощности
Передний вал отбора мощности
Редуктор переднего вала отбора мощности
Управление гидроприводом заднего ВОМ
Балласт
Устройство навесное
Узлы и элементы навесного устройства
Переднее навесное устройство
Кронштейн
Тяга (верхняя)
Раскос
Гидроагрегаты и арматура
Гидроагрегаты и арматура
Гидроагрегаты и арматура
Бак
Привод насоса гидросистемы
Инструмент оператора
Аптечка
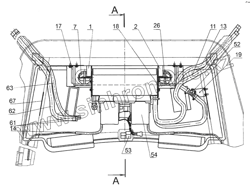
1
2
7
11
13
14
17
18
19
26
52
53
54
61
62
63
Позиция на иллюстрации
Заводской номер детали
Название детали
1
3022-8101020
Кронштейн
2
3022-8101020-01
Кронштейн
3
3022-8101100
Кронштейн
6
1522-8101110
Панель
7
1522-8104100
Дефлектор
8
80-3805065-01
Винт
9
80-8104060
Фильтр
11
3022-8101011
Шланг
13
3022-8101011-02
Шланг
14
3022-8101012
Трубка
17
3022-8101017
Стенка
18
3022-8101018
Уплотнитель
19
1522-8101036
Кронштейн
21
1522-8101013-02
Уплотнитель
23
1522-8101091-02
Уплотнитель
25
1522-8104023
Решетка
26
1522-8104105
Скоба
27
80-8100012
Заслонка
29
80-8100011-Б
Крышка
52
ПО 11
Кран
53
586415
Выключатель вентилятора
54
U003CF041E
Климатический блок
61
TORRO 20-32/9-C6W
Хомут
62
Шланг №10 90010GN
Шланг №10 90010GN
63
Шланг №6 90006GN
Шланг №6 90006GN
Содержащиеся в справочниках-каталогах запасные части и детали не предлагаются к продаже, а носят исключительно информационный характер
Дополнительная информация
×
Название:
Номер:
Примечание: