Каталог запасных частей к технике: МТЗ-1523.4. Электрооборудование по кабине I
1
2
2
3
3
3
3
3
3
3
3
4
4
4
5
13
14
14
15
15
16
16
17
17
17
17
17
17
18
18
19
19
20
20
21
21
21
22
22
23
23
24
25
26
27
28
29
30
32
32
33
39
40
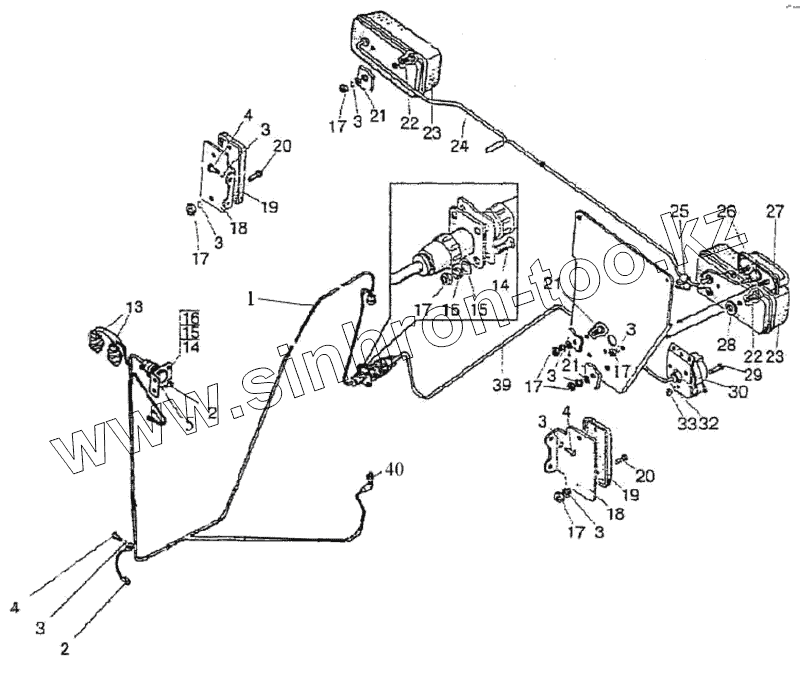
| Позиция на иллюстрации | Заводской номер детали | Название детали | |
|---|---|---|---|
| 1 | 923-3724100-Г | Жгут кабины | |
| 2 | 822-3724012 | Провод | |
| 3 | ШП6 | Шайба | |
| 4 | М6х12 | Винт | |
| 5 | 923-3723042 | Втулка | |
| 9 | 1522-3712003 | Кронштейн | |
| 13 | 3720.10 | Выключатель сигнала торможения | |
| 14 | ВМ3х16 | Винт | |
| 15 | ШЧ3 | Шайба | |
| 16 | ШП3 | Шайба | |
| 17 | М6 | Гайка | |
| 18 | 1222-3731003 | Кронштейн | |
| 19 | 3731.10 | Световозвращатель | |
| 20 | ВМ6х16 | Винт | |
| 21 | ШЧ6 | Шайба | |
| 22 | ВМ6х20 | Винт | |
| 23 | 3716.10 | Фонарь задний | |
| 24 | 923-3724160-Б | Жгут | |
| 25 | 70-1115012 | Хомутик | |
| 26 | 70-3723035 | Наконечник | |
| 27 | 3717.10 | Фонарь освещения номерного знака | |
| 28 | 80-6708904 | Прокладка | |
| 29 | ВМ5х35 | Винт | |
| 30 | 3723.10 | Розетка прицепа | |
| 32 | 923-3723041 | Кронштейн | |
| 32 | ШП5 | Шайба | |
| 33 | М5 | Гайка | |
| 39 | 2522-3724203 | Жгут | |
| 40 | 3710.60 | Выключатель лампы ручного тормоза |
Содержащиеся в справочниках-каталогах запасные части и детали не предлагаются к продаже, а носят исключительно информационный характер