Вернуться на главную
Поиск
Каталоги запчастей к технике
Сельхозтехника
МТЗ
МТЗ-1523
Теплообменник
Каталог запасных частей к технике: МТЗ-1523. Теплообменник
zoom-in
zoom-out
enlarge
shrink
circle-right
circle-left
file-text2
info
cart
Тип техники
Не выбрано
Легковые автомобили
Грузовые автомобили и прицепы
Автобусы
Сельхозтехника
Спецтехника
Двигатели
Мототехника
Марка
Не выбрано
AGCO
Amity
CASE IH
DongFeng
Fortschritt
Foton
Franz Kleine
Gaspardo
Great Plains
KRONE
KUHN
Lemken
Lovol
MacDon
Massey Ferguson
New Holland
TIGARBO
Vaderstad
Versatile
Wirax
Агро
Агротехмаш
Бобруйскагромаш (ОАО «УКХ «Бобруйскагромаш»)
БЭМЗ
ВгТЗ
Воронежсельмаш
ВТЗ
Гомсельмаш
ДКЗ
ЗАО "Техника-сервис"
ЗиД
КЗК
Кировец-Ландтехник
Клевер
Красная Звезда
Лидагропроммаш
Лидсельмаш
ЛТЗ
Машстройхолдинг
Минитракторы
Мордовагромаш
МТЗ
Навигатор-Новое машиностроение
Нефтекамский автозавод
ПТЗ
Ремком
РСМ
Сибсельмаш
ТеКЗ
ТКЗ
ХЗТСШ
ХТЗ
ЮМЗ
Модель
Не выбрано
1025.5 (2013)
1025/1025.2/1025.3 (2009)
1220 (2011)
1220.5 (2013)
1523.5 (2013)
1523.5 с ГМТ (2014)
2122.3/2122.4 (2015)
3022ДЦ.1 (2011)
320.4М (2019)
622 (2012)
800/900 (2003)
80Х (2012)
892 (2011)
922.3 / 922.4 (2013)
922.5 (2013)
923.4 (2014)
923.5 (2013)
92П (2010)
952.5 (2013)
БЕЛАРУС 1025.7 (2022)
БЕЛАРУС 1220.7 (2022)
БЕЛАРУС 1221.7 (2022)
БЕЛАРУС 2103 (2015)
БЕЛАРУС 320 (1998)
БЕЛАРУС 3522.5 (2013)
БЕЛАРУС 3525 (2019)
БЕЛАРУС 421 (2014)
БЕЛАРУС 451 (2023)
БЕЛАРУС 651 (2023)
БЕЛАРУС 923.7 (2022)
БЕЛАРУС 952.7 (2022)
Беларус-08Н (09Н) (2015)
Беларус-422.1 (2018)
КБ-00.000 (САЗ) (2015)
КМ-2 (САЗ) (2015)
МТЗ-082
МТЗ-100
МТЗ-1005 (2008)
МТЗ-1021.3 (2010)
МТЗ-1025.4 (2009)
МТЗ-112Н, 132Н (2010)
МТЗ-1221 (1997)
МТЗ-1221 (2009) (2009)
МТЗ-1221.4 (2009)
МТЗ-1221.4 (2009)
МТЗ-1221.5 (2013)
МТЗ-1222/1523 (2009)
МТЗ-1522 (2008)
МТЗ-1523
МТЗ-1523 (2013)
МТЗ-1523 (2008) (2008)
МТЗ-1523.4 (2010)
МТЗ-1523.6 (2018)
МТЗ-2022 (2010)
МТЗ-2103 (2010)
МТЗ-2522 (2010)
МТЗ-310, 320, 321 (2011)
МТЗ-3522 (2011)
МТЗ-510/512, 520/522 (2010)
МТЗ-570 (2010)
МТЗ-80 (1998)
МТЗ-80 (2002) (2002)
МТЗ-80 (2009) (2009)
МТЗ-80.1 (2015)
МТЗ-821/921 (2009)
МТЗ-822 (2008)
МТЗ-826 (2010)
МТЗ-90/92 (2008)
МТЗ-900
МТЗ-900/920/950/952 (2009)
МТЗ-920.4/952.4 (2009)
МТЗ-922 (2008)
МТЗ-923 (2008)
ФР-00.010 (САЗ) (2015)
ФР-00700-Б (САЗ) (2015)
Схема
>
Не выбрано
Кабина
Кабина
Дверь кабины
Сиденье оператора
Сиденье оператора
Механизм реверса
Отопитель
Принадлежности кабины
Зеркало наружное
Козырек противосолнечный
Облицовка
Облицовка
Крылья передних колес
Крылья передних колес
Подножка
Подвеска и блок цилиндров
Головка цилиндров, клапаны и толкатели клапанов
Крышки головок цилиндров, коллектор и сапуны
Поршни и шатуны. Вал коленчатый и маховик
Механизм распределительный
Газопровод дизеля
Картер масляный
Насос масляный и приемник масляного насоса
Теплообменник
Установка масляного фильтра
Фильтр масляный центробежный
Баки топливные
Тракт воздухоподводящий
Установка воздухоочистителя
Трубопроводы топливные и установка топливной аппаратуры
Маслопроводы турбокомпрессора
Насос топливный
Регулятор частоты вращения
Корректор по наддуву
Насос подкачивающий
Форсунка
Фильтр топливный грубой очистки
Фильтр топливный тонкой очистки
Управление подачей топлива
Глушитель
Радиатор водяной
Труба водосборная и термостаты
Насос водяной и натяжитель
Установка муфты вентилятора
Сцепление
Корпус сцепления
Корпус сцепления
Корпус сцепления
Управление сцеплением на переднем ходу и реверсе
Цилиндр «Girling»
Гидроусилитель
Цилиндр главный (на реверсе)
Коробка передач 1522-1700010
Вал первичный
Вал вторичный
Вал промежуточный
Вал пониженных передач
Механизм управления коробкой передач
Коробка передач 1222-1700010
Вал первичный
Вал промежуточный
Вал пониженных передач и заднего хода
Вал блока шестерен
Вал вторичный
Механизм управления коробкой передач
Цилиндр
Привод насоса
Насос масляный шестеренный НМШ-25
Фильтр
Фильтр-распределитель
Привод переднего ведущего моста
Привод карданный
Передний ведущий мост. Главная передача переднего ведущего моста. Дифференциал
Редуктор конечной передачи переднего ведущего моста (1222-2300020-05)
Передний ведущий мост. Редуктор центральный
Редуктор конечной передачи переднего ведущего моста (1525-2308005)
Корпус заднего моста. Конечная передача
Дифференциал. Стакан подшипников
Конечная передача (смазка)
Механизм блокировки дифференциала
Полурама в сборе
Тяга рулевая
Колеса передние ведущие
Ступицы задних колес
Механизм поворота
Колонка рулевая
Колонка рулевая
Колонка рулевая (реверс)
Управление рулевое гидрообъемное
Управление рулевое гидрообъемное (реверс)
Привод шестеренного насоса
Тормоза
Управление тормозами
Цилиндр рабочий
Управление тормозами на реверсе
Управление стояночным тормозом
Трубопроводы и арматура пневмопривода тормозов прицепа
Регулятор давления
Баллон
Кран тормозной
Головка соединительная
Компрессор и установка компрессора
Электрооборудование
Электрооборудование по дизелю
Электрооборудование по трансмиссии
Электрооборудование по кабине I
Электрооборудование по кабине II
Генератор
Стартер
Фонарь передний
Плафон освещения кабины
Фонарь задний
Фонарь освещения номерного знака
Установка батарей аккумуляторных
Управление БД, ПВМ и передним ВОМ
Управление навесным устройством "Воsсh"
Щиток приборов
Вал отбора мощности (ВОМ)
Распределитель заднего ВОМ. Управление распределителем
Механизм переключения ВОМ (независимый/синхронный)
Устройство навесное
Узлы и элементы навесного устройства
Гидроагрегаты и арматура
Гидроцилиндр
Гидрораспределитель
Бак
Привод насоса гидросистемы
Регулятор "Воsсh"
Ящик инструментальный
Инструмент оператора
Аптечка
Перечень запасных частей для устройства впрыска топлива PP6M10P1f-3491
Перечень запасных частей для регулятора RV3M300/1050-3394
Перечень запасных частей для корректора давления наддува ZS64-1800
Перечень запасных частей для подкачивающего насоса CD3M-3554
1
2
3
4
4
5
6
6
7
8
9
10
11
12
13
14
15
15
15
16
16
16
17
18
19
20
21
22
23
24
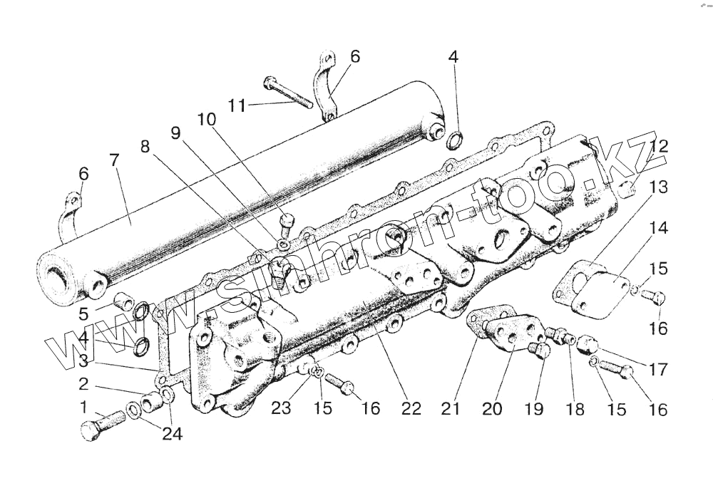
Позиция на иллюстрации
Заводской номер детали
Название детали
260-1013010
260-1013010
Теплообменник в сборе
1
260-1013018
Болт штуцера
2
260-1013013
Втулка
3
260-1013002
Прокладка
4
020-025-30-2-4
Кольцо
5
260-1013024
Штифт
6
260-1013012
Скоба
7
260-1013020-01
Сердцевина
8
260-1013019
Пробка
9
36-1104788
Прокладка
10
240-1003281
Пробка
11
260-1013028
Болт
12
3-КГ3/8"
Пробка
13
50-1015598
Прокладка патрубка
14
260-1013016
Фланец
15
ШП8
Шайба
16
М8х25
Болт
17
R143-10-А1
Заглушка штуцера
18
6
Штуцер
19
КГ1/4"
Пробка
20
260-10130-14
Фланец
21
260-1013015
Прокладка
22
260-1013011
Крышка теплообменника
23
ШЧ8
Шайба
24
D18-055-А-012
Кольцо уплотнительное
Содержащиеся в справочниках-каталогах запасные части и детали не предлагаются к продаже, а носят исключительно информационный характер
Дополнительная информация
×
Название:
Номер:
Примечание: