Каталог запасных частей к технике: МТЗ-1523. Управление гидроприводом заднего ВОМ
1
1
2
2
2
2
2
2
3
3
3
3
4
4
6
7
9
10
11
11
12
13
14
15
16
19
20
21
22
23
23
24
25
25
25
26
27
28
29
30
30
30
31
32
33
34
35
36
37
38
38
39
40
41
42
43
44
45
46
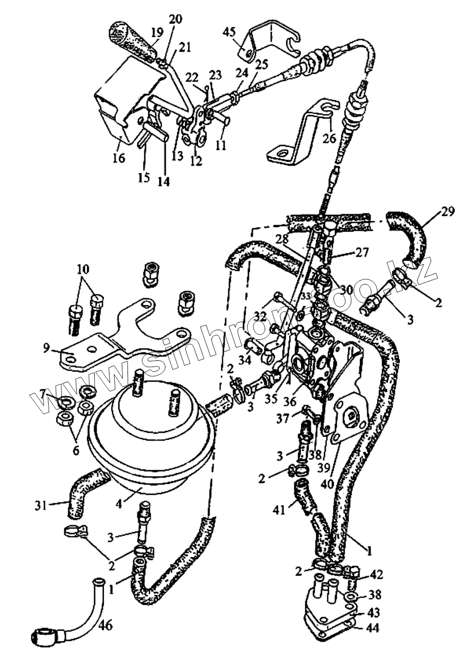
| Позиция на иллюстрации | Заводской номер детали | Название детали | |
|---|---|---|---|
| 2022-4218005-А | 2022-4218005-А | Гидросистема заднего ВОМ | |
| 1223-4218100 | 1223-4218100 | Управление гидроприводом заднего ВОМ | |
| 1822-4218105 | 1822-4218105 | Переключатель | |
| 1 | 2022-4218030 | Трубопровод | |
| 2 | 12-20/9-C6W | Хомут NORMA TORRO | |
| 2 | 12-22/971 | Хомут NORМА ТОRRО | |
| 3 | 85-3407470 | Штуцер | |
| 4 | 2022-4218015 | Пневмопереходник | |
| 4 | ШКЯМ549.00.000 | Пневмопереходник | |
| 4 | А29.66.000-В | Пневмопереходник | |
| 4 | А29.66.000-Б | Пневмопереходник | |
| 6 | ГайкаМ10-6Н.6.019 | Гайка | |
| 7 | Шайба10.ОТ | Шайба | |
| 9 | 1522-4216011 | Кронштейн | |
| 10 | БолтМ10-6gх30.88.35.019 | Болт | |
| 11 | Палец6х22 | Палец | |
| 11 | 70-1601109-01 | Палец | |
| 12 | 1822-4218116 | Валик | |
| 13 | 50-1702148-А | Пружина фиксатора | |
| 14 | ШтифтА.10х40.65Г | Штифт | |
| 15 | ШтифтА.8х30.65Г | Штифт А.8х30.65Г | |
| 16 | 1822-4218117 | Основание | |
| 19 | 1822-4218121 | Рукоятка | |
| 20 | ГайкаМ8-6Н.6.019 | Гайка | |
| 21 | 1822-4218115 | Рукоятка | |
| 22 | Шплинт1,6х12.019 | Шплинт 1,6х12.019 | |
| 23 | 80В-1108542-А-01 | Наконечник | |
| 23 | 80В-1108542-01 | Наконечник | |
| 24 | ГайкаМ6-6Н.6.019 | Гайка | |
| 25 | 100.М4322.01250 | Трос | |
| 25 | 23.588.1.1.2.00.01-02 | Трос | |
| 25 | 772-L-TТ-75-1250 | Трос дистанционного управления | |
| 26 | 1523-4218122 | Скоба | |
| 27 | 240-1111103 | Болт | |
| 28 | 1522-4218110-01 | Тяга | |
| 29 | 1221-2412026-05 | Рукав | |
| 30 | ШайбаМ14400-868-4490-41 | Шайба | |
| 30 | Шайба627РРМ14 | Шайба | |
| 30 | ШайбаSCN227-Р18-РМ14 | Шайба | |
| 31 | 2022-4218026-02 | Рукав | |
| 32 | БолтМ6-6gх40.88.35.019 | Болт | |
| 33 | Шайба6Т | Шайба | |
| 34 | Палец8х22 | Палец | |
| 35 | Шплинт3,2х25.019 | Шплинт | |
| 36 | 85-4216115 | Кран в сборе | |
| 37 | БолтМ8-6gх20.88.35.019 | Болт | |
| 38 | Шайба8Т | Шайба 8Т | |
| 39 | 1223-4218041 | Кронштейн | |
| 40 | 1522-4218002 | Прокладка | |
| 41 | 2022-4218026-01 | Рукав | |
| 42 | БолтМ8-6gх25.88.35.019 | Болт | |
| 43 | 2022-4218025 | Фланец | |
| 44 | 2522-4218002 | Прокладка | |
| 45 | 1522-4218114 | Скоба | |
| 46 | 822-4801190 | Маслопровод |
Содержащиеся в справочниках-каталогах запасные части и детали не предлагаются к продаже, а носят исключительно информационный характер