Вернуться на главную
Поиск
Каталоги запчастей к технике
Сельхозтехника
МТЗ
МТЗ-1523
Муфта блокировки дифференциала «мокрая»
Каталог запасных частей к технике: МТЗ-1523. Муфта блокировки дифференциала «мокрая»
zoom-in
zoom-out
enlarge
shrink
circle-right
circle-left
file-text2
info
cart
Тип техники
Не выбрано
Легковые автомобили
Грузовые автомобили и прицепы
Автобусы
Сельхозтехника
Спецтехника
Двигатели
Мототехника
Марка
Не выбрано
AGCO
Amity
CASE IH
DongFeng
Fortschritt
Foton
Franz Kleine
Gaspardo
Great Plains
KRONE
KUHN
Lemken
Lovol
MacDon
Massey Ferguson
New Holland
TIGARBO
Vaderstad
Versatile
Wirax
Агро
Агротехмаш
Бобруйскагромаш (ОАО «УКХ «Бобруйскагромаш»)
БЭМЗ
ВгТЗ
Воронежсельмаш
ВТЗ
Гомсельмаш
ДКЗ
ЗАО "Техника-сервис"
ЗиД
КЗК
Кировец-Ландтехник
Клевер
Красная Звезда
Лидагропроммаш
Лидсельмаш
ЛТЗ
Машстройхолдинг
Минитракторы
Мордовагромаш
МТЗ
Навигатор-Новое машиностроение
Нефтекамский автозавод
ПТЗ
Ремком
РСМ
Сибсельмаш
ТеКЗ
ТКЗ
ХЗТСШ
ХТЗ
ЮМЗ
Модель
Не выбрано
1025.5 (2013)
1025/1025.2/1025.3 (2009)
1220 (2011)
1220.5 (2013)
1523.5 (2013)
1523.5 с ГМТ (2014)
2122.3/2122.4 (2015)
3022ДЦ.1 (2011)
320.4М (2019)
622 (2012)
800/900 (2003)
80Х (2012)
892 (2011)
922.3 / 922.4 (2013)
922.5 (2013)
923.4 (2014)
923.5 (2013)
92П (2010)
952.5 (2013)
БЕЛАРУС 1025.7 (2022)
БЕЛАРУС 1220.7 (2022)
БЕЛАРУС 1221.7 (2022)
БЕЛАРУС 2103 (2015)
БЕЛАРУС 320 (1998)
БЕЛАРУС 3522.5 (2013)
БЕЛАРУС 3525 (2019)
БЕЛАРУС 421 (2014)
БЕЛАРУС 451 (2023)
БЕЛАРУС 651 (2023)
БЕЛАРУС 923.7 (2022)
БЕЛАРУС 952.7 (2022)
Беларус-08Н (09Н) (2015)
Беларус-422.1 (2018)
КБ-00.000 (САЗ) (2015)
КМ-2 (САЗ) (2015)
МТЗ-082
МТЗ-100
МТЗ-1005 (2008)
МТЗ-1021.3 (2010)
МТЗ-1025.4 (2009)
МТЗ-112Н, 132Н (2010)
МТЗ-1221 (1997)
МТЗ-1221 (2009) (2009)
МТЗ-1221.4 (2009)
МТЗ-1221.4 (2009)
МТЗ-1221.5 (2013)
МТЗ-1222/1523 (2009)
МТЗ-1522 (2008)
МТЗ-1523
МТЗ-1523 (2013)
МТЗ-1523 (2008) (2008)
МТЗ-1523.4 (2010)
МТЗ-1523.6 (2018)
МТЗ-2022 (2010)
МТЗ-2103 (2010)
МТЗ-2522 (2010)
МТЗ-310, 320, 321 (2011)
МТЗ-3522 (2011)
МТЗ-510/512, 520/522 (2010)
МТЗ-570 (2010)
МТЗ-80 (1998)
МТЗ-80 (2002) (2002)
МТЗ-80 (2009) (2009)
МТЗ-80.1 (2015)
МТЗ-821/921 (2009)
МТЗ-822 (2008)
МТЗ-826 (2010)
МТЗ-90/92 (2008)
МТЗ-900
МТЗ-900/920/950/952 (2009)
МТЗ-920.4/952.4 (2009)
МТЗ-922 (2008)
МТЗ-923 (2008)
ФР-00.010 (САЗ) (2015)
ФР-00700-Б (САЗ) (2015)
Схема
>
Не выбрано
Установка двигателя
Баки топливные
Воздухоподводящий тракт
Установка воздухоочистителя
Управление подачей топлива
Управление подачей топлива (на реверсе)
Глушитель
Блок охлаждения
Установка охладителя
Ограждение вентилятора
Установка сцепления 260.1-1005009
Корпус сцепления (с КП 24х12)
Корпус сцепления (2022-1600010-А-01) (с КП 24х12)
Управление сцеплением
Цилиндр главный
Цилиндр главный (на реверсе)
Гидроусилитель
Цилиндр рабочий
Кран
Бачок
Коробка передач 1522-1700010
Вал первичный
Вал вторичный
Вал промежуточный
Вал пониженных передач
Механизм управления коробкой передач
Коробка передач 1222-1700010 (24F+12R)
Вал первичный
Вал промежуточный
Вал пониженных передач и заднего хода
Вал блока шестерен
Вал вторичный
Механизм управления коробкой передач
Установка ходоуменьшителя
Цилиндр
Привод насосов
Фильтр
Фильтр-распределитель
Привод переднего ведущего моста
Привод карданный
Ограждение
Передний ведущий мост
Главная передача переднего ведущего моста (1222-2300020-05)
Дифференциал
Редуктор конечной передачи переднего ведущего моста (1222-2300020-05)
Корпус заднего моста
Дифференциал. Стакан подшипников.
Система смазки заднего моста
Механизм блокировки дифференциала
Муфта блокировки дифференциала «мокрая»
Тягово-сцепное устройство
Тягово-сцепное устройство (варианты комплектации)
Тяга рулевая
Колеса передние ведущие
Колеса задние ведущие
Колонка рулевая
Колонка рулевая
Кардан
Колонка рулевая (реверса)
Кардан (реверса)
Управление рулевое гидрообъемное
Гидроцилиндр 50х25-200
Тормоза «мокрые»
Управление стояночным тормозом
Управление тормозами
Управление тормозами (вариант с реверсным постом управления)
Бачки тормозной жидкости
Цилиндр рабочий
Трубопроводы и арматура пневмопривода тормозов прицепа
Баллон
Кран тормозной
Трубопроводы и арматура пневмопривода тормозов прицепа
Кран тормозной
Установка фар дорожных
Электрооборудование по дизелю (1222-370030-Б со свечами накаливания)
Электрооборудование по дизелю (1222-3700030-Б-01 без свечей накаливания)
Электрооборудование по трансмиссии
Электрооборудование кабины
Установка фонарей передних
Установка фонарей задних
Установка фар рабочих
Установка батарей аккумуляторных
Щиток приборов
Установка щитка приборов
Инструмент оператора
Аптечка
Вал отбора мощности
Передний ВОМ
Редуктор переднего вала отбора мощности
Управление гидроприводом заднего ВОМ
Балласт
Устройство навесное
Узлы и элементы навесного устройства
Захват Walterscheid
Захват МТЗ
Шарниры и переходные элементы
Переднее навесное устройство
Установка кронштейна передней навески
Кронштейн с рычагами
Узлы и элементы навесного устройства
Гидроагрегаты и арматура
Гидроагрегаты и арматура
Бак
Привод насоса гидросистемы
Установка стеклоочистителя заднего
Установка стеклоочистителя переднего
Установка стеклоомывателя
Кабина трактора
Крыша
Дверь кабины
Кабина. Стекла кабины.
2522-6702285 Установка панели
1222-6702295-02 Установка пульта
1222-6702335-Б1 Установка чехла
2522-6702285-Б Установка панели
1523-6702295-01 Установка пульта
1523-6702335-01 Установка чехла
Сиденье оператора
Сиденье оператора
Механизм реверса
Установка кондиционера (Для тракторов Беларус -1523.3)
Установка кондиционера
Установка компрессора
Рычаг натяжной
Установка конденсатора (Для трактора Беларус – 1523.3)
Установка конденсатора (Для Беларус – 1523/1523В)
Установка фильтра
Установка отопителя-охладителя
Панель
Система отопления и вентиляции
Отопитель-вентилятор
Арматура отопителя
Зеркало внутреннее
Зеркало наружное
Козырек противосолнечный
Облицовка
Крылья передних колес
Подножка
Подножка
Управление БД и ПВМ (1522-8700410-Д)
Управление БД, ПВМ и ПВОМ (1523-8700210-Д)
Управление навесным устройством
Управление БД, ПВМ и редуктором (2022-8700450-Д-02)
Управление БД, ПВМ, ПВОМ и редуктором (2022-8700250-Д-01)
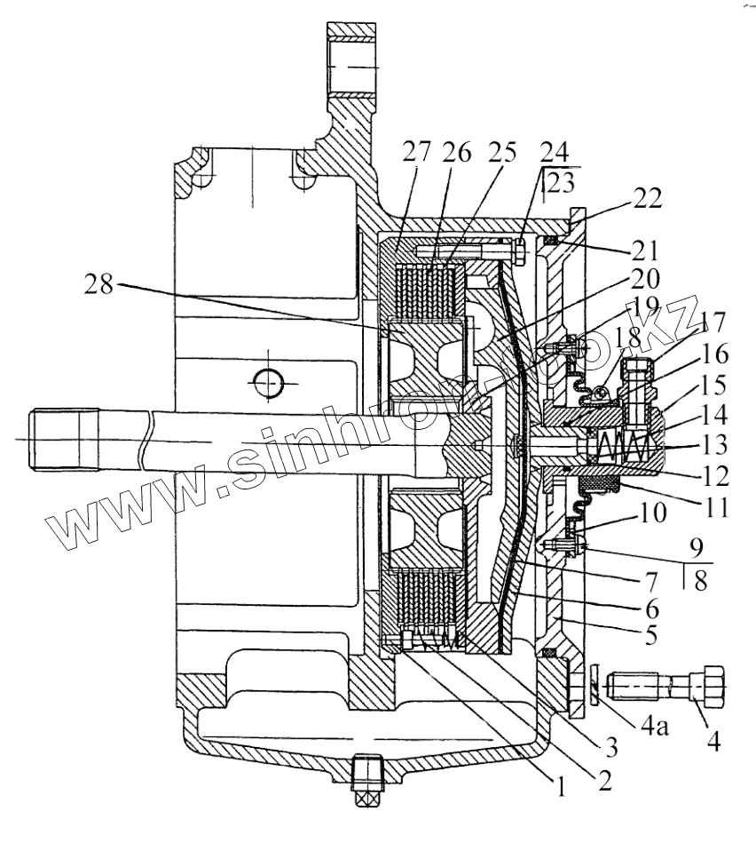
1
2
3
3
3
3
3
3
3
4
4а
5
6
7
8
9
10
11
12
13
14
15
16
17
18
19
20
21
22
23
24
25
26
27
28
Позиция на иллюстрации
Заводской номер детали
Название детали
80М-2409010
80М-2409010
Муфта блокировки
1221М-2409050-01
1221М-2409050-01
Переходник
1
80М-2409002
Палец
2
50-1702148-А
Пружина фиксатора
3
80М-2409028
Диск отжимной
3
80М-2409028-01
Диск отжимной
3
80М-2409028-02
Диск отжимной
3
80М-2409028-03
Диск отжимной
3
80М-2409028-04
Диск отжимной
3
80М-2409028-05
Диск отжимной
3
80М-2409028-06
Диск отжимной
4
1221М-3502039
Болт
4а
Шайба14.ОТ
Шайба
5
1221М-2409034-01
Крышка
6
70-2409030-Б
Крышка диафрагмы
7
70-2409021
Диафрагма
8
ВинтВ.М6-6gх10.58.019
Винт В.М6-6gх10.58.019
9
Шайба6Т
Шайба
10
80М-2409037
Кольцо
11
80М-2409036
Уплотнитель
12
70-2409033-Б
Кольцо
13
70-2409027-А
Втулка
14
54-06-448-А
Пружина
15
70-2409026-Б
Переходник
16
020-025-30-1-4
Кольцо
17
85-3407470
Штуцер
18
32-50/9C6W
Хомут «НОРМА»
19
70-2409020-02
Вал блокировочный
20
80М-2409018
Диск нажимной
21
205-215-58-2-2
Кольцо
22
1221М-2409051
Прокладка
23
БолтМ8-6gх40.88.35.019
Болт
24
Шайба8Т
Шайба 8Т
25
80М-2409016
Диск промежуточный
26
2522-1802035-А
Диск ведущий
27
80М-2409015
Корпус муфты
28
80M-2409001
Ступица
Содержащиеся в справочниках-каталогах запасные части и детали не предлагаются к продаже, а носят исключительно информационный характер
Дополнительная информация
×
Название:
Номер:
Примечание: