Каталог запасных частей к технике: МТЗ-1522. Электрооборудование по дизелю
1
1
2
2
2
3
3
4
4
5
6
6
6
7
7
7
8
8
8
9
10
11
12
13
14
14
14
14
14
14
14
14
15
15
15
15
15
15
15
16
17
18
19
20
21
21
21
22
23
24
25
26
27
27
27
27
28
29
30
30
31
32
33
34
34
34
35
36
37
38
39
40
41
42
43
44
45
46
47
48
49
49
50
50
51
52
53
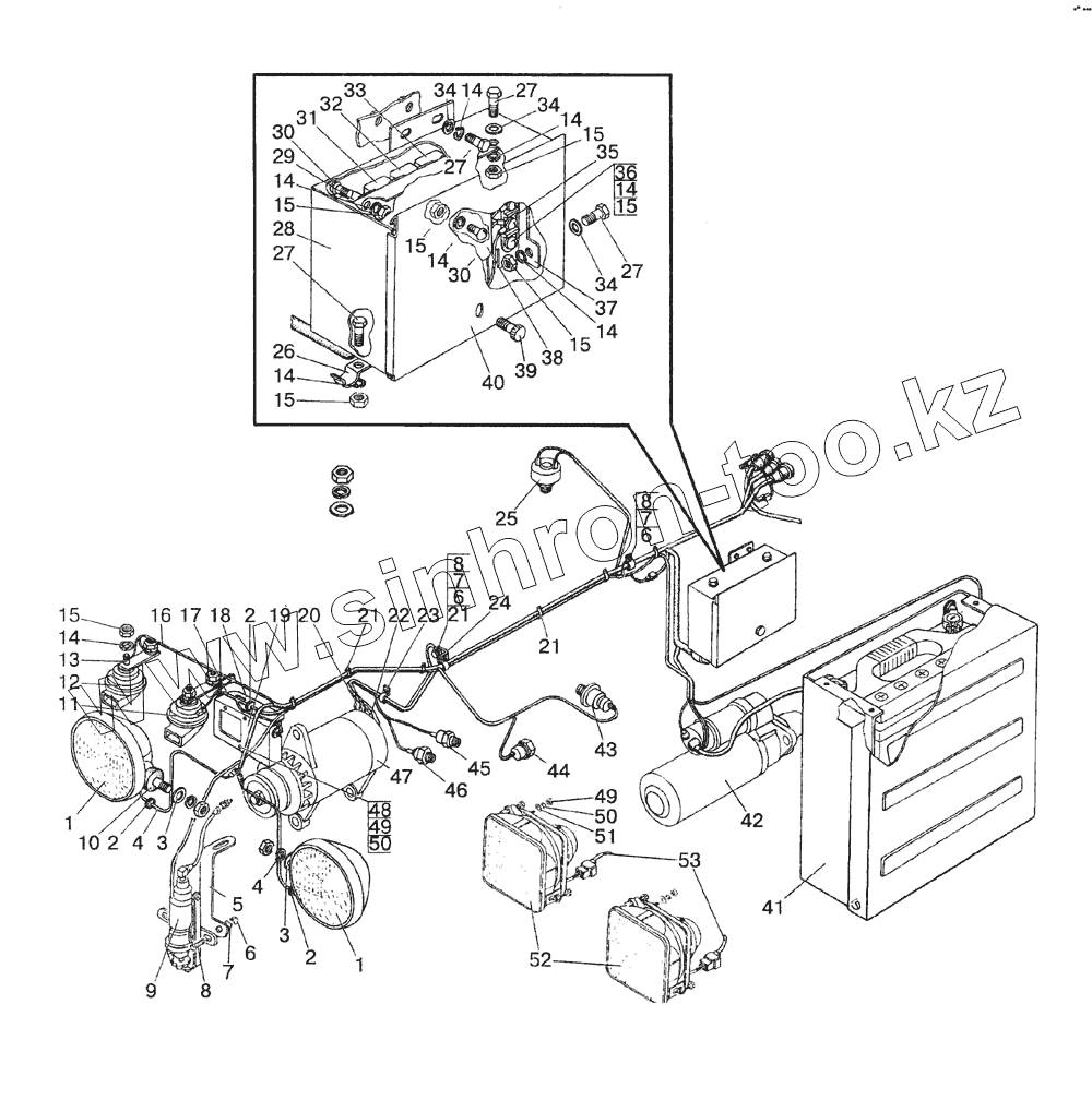
| Позиция на иллюстрации | Заводской номер детали | Название детали | |
|---|---|---|---|
| 1 | 312.3711 | Фара | |
| 2 | 70-3723042-01 | Втулка | |
| 3 | ШЧ12 | Шайба | |
| 4 | 1522-3724025 | Жгут | |
| 5 | 85-3741015Б | Кронштейн | |
| 6 | М8 | Гайка | |
| 7 | ШП8 | Шайба | |
| 8 | М8х20 | Болт | |
| 9 | 1701.3741 | Приспособления для впрыска легковоспламеняющейся жидкости | |
| 10 | 50-371103В | Опора фары | |
| 11 | С308 | Сигнал | |
| 12 | С309 | Сигнал | |
| 13 | 1522-3721011 | Пластина | |
| 14 | ШП6 | Шайба | |
| 15 | М6 | Гайка | |
| 16 | 1522-3724360Б | Жгут | |
| 17 | 80-3724345 | Жгут | |
| 18 | 80-3701012 | Кронштейн | |
| 19 | УВР-2 | Устройство выпрямительно-регулирующее | |
| 20 | М2-14.13.238 | Чехол | |
| 21 | 80-3723045 | Манжета | |
| 22 | 54.24.445Б | Наконечник | |
| 23 | 70-1115012-03 | Хомутик | |
| 24 | 70-6702111 | Угольник | |
| 25 | ДСФ-65 | Датчик засоренности воздуха | |
| 26 | 80-3723038 | Скоба | |
| 27 | М6Х14 | Болт | |
| 28 | 1522-3747010 | Коробка | |
| 29 | 732.3747 | Реле стартера | |
| 30 | ВМ6Х10 | Винт | |
| 31 | БУС | Блок управления стартером | |
| 32 | Реле | Реле | |
| 33 | 90.3747 | Реле | |
| 34 | ШЧ6 | Шайба | |
| 35 | П14.3723 | Панель | |
| 36 | ВМ6х20 | Винт | |
| 37 | 1522-3747011 | Панель | |
| 38 | ноя.22 | Блок предохранителей | |
| 39 | 80-3805065 | Винт | |
| 40 | 1522-3747013 | Крышка | |
| 41 | Установка батарей аккумуляторных | Установка батарей аккумуляторных | |
| 42 | А25.3223 | Стартер | |
| 43 | ДД6Е | Датчик | |
| 44 | ДЦМ-03 | Датчик | |
| 45 | ДАТЖ | Датчик аварийной температуры | |
| 46 | ДУТЖ-02 | Датчик указателя температуры | |
| 47 | 96.3701-2 | Генератор | |
| 48 | ВМ5х10 | Винт | |
| 49 | М5 | Гайка | |
| 50 | ШП5 | Шайба | |
| 51 | ШЧ5 | Шайба | |
| 52 | 8706.26-05 | Фара | |
| 53 | 923-3724025 | Жгут |
Содержащиеся в справочниках-каталогах запасные части и детали не предлагаются к продаже, а носят исключительно информационный характер