Каталог запасных частей к технике: МТЗ-1222/1523. Управление гидроприводом заднего ВОМ
1
1
2
2
2
2
2
3
3
3
3
4
6
7
9
10
11
12
13
14
15
16
19
20
21
22
23
24
25
25
25
26
27
28
29
30
31
32
33
34
35
36
37
38
38
39
40
41
42
43
44
45
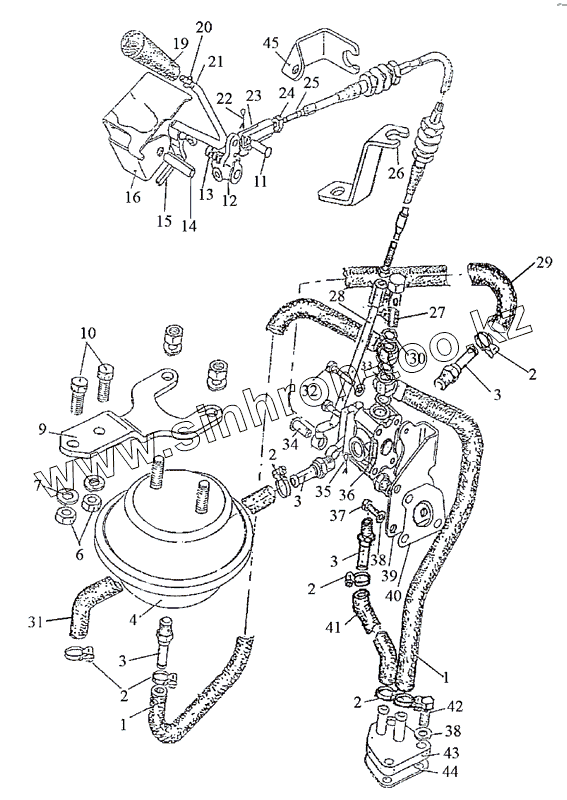
| Позиция на иллюстрации | Заводской номер детали | Название детали | |
|---|---|---|---|
| 1822-4218105 | 1822-4218105 | Переключатель | |
| 1 | 2022-4218030 | Трубопровод | |
| 2 | 12-20/9-C6W | Хомут NORMA TORRO | |
| 3 | 85-3407470 | Штуцер | |
| 4 | А29.66.000-Б | Пневмопереходник | |
| 6 | M10 | Гайка | |
| 7 | 10OT | Шайба | |
| 9 | 1522-4216011 | Кронштейн | |
| 10 | M10x30 | Болт | |
| 11 | 6x18 | Палец | |
| 12 | 1822-4218116 | Валик | |
| 13 | 50-1702148-A | Пружина | |
| 14 | A10x40 | Штифт | |
| 15 | A8x30 | Штифт | |
| 16 | 1822-4218117 | Основание | |
| 19 | 1822-4218121 | Рукоятка | |
| 20 | M8 | Гайка | |
| 21 | 1822-4218115 | Рукоятка | |
| 22 | 1,6x12 | Шплинт | |
| 23 | 80B-1108542-01 | Наконечник | |
| 24 | M6 | Гайка | |
| 25 | 100.M4322.01250 | Трос | |
| 25 | 772-L-IT-75-1250 | Трос | |
| 25 | 23.588.1.1.2.00.01-02 | Трос | |
| 26 | 1523-4218122 | Скоба | |
| 27 | 240-1111103 | Болт | |
| 28 | 1522-4218110-01 | Тяга | |
| 29 | 1221-2412026-05 | Рукав | |
| 30 | Д18-055-А | Шайба | |
| 31 | 2022-4218026-02 | Рукав | |
| 32 | M6x40 | Болт | |
| 33 | 6T | Шайба | |
| 34 | 8x22 | Заклепка | |
| 35 | 3,2x25 | Шплинт | |
| 36 | 85-4216115 | Кран в сборе | |
| 37 | М8х20 | Болт | |
| 38 | 8Т | Шайба | |
| 39 | 1223-4218041 | Кронштейн | |
| 40 | 1522-4218002 | Прокладка | |
| 41 | 2022-4218026-01 | Рукав | |
| 42 | М8х25 | Болт | |
| 43 | 2022-4218025 | Фланец | |
| 44 | 2522-4218002 | Прокладка | |
| 45 | 1522-4218114 | Скоба | |
| 46 | 1223-4218031 | Рукав |
Содержащиеся в справочниках-каталогах запасные части и детали не предлагаются к продаже, а носят исключительно информационный характер