Каталог запасных частей к технике: МТЗ-1221.4. Электрооборудование кабины
1
1
1
2
2
2
3
4
5
5а
6
6
7
7
7
8
9
9
9
9
10
11
11
12
13
13
14
15
16
17
17
18
19
20
21
22
23
24
25
25а
25б
26
27
27
27
28
28
29
30
30
31
31
32
32
32
33
33
35
35
35
35
36
36
36
36
37
37
38
38
38
39
40
41
42
43
44
45
46
47
48
48
48
50
51
52
53
53
54
55
56
57
58
59
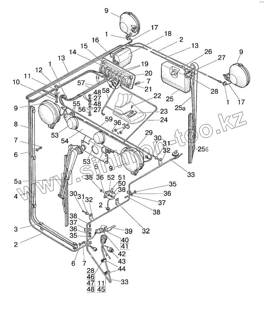
| Позиция на иллюстрации | Заводской номер детали | Название детали | |
|---|---|---|---|
| 1 | 70-3723042-01 | Втулка | |
| 2 | 80-3724351-Г1 | Жгут | |
| 3 | 80-3723015 | Желоб | |
| 4 | 80-3723020 | Желоб | |
| 5 | 5205.10 | Стеклоочиститель пантографный | |
| 5а | 5205.25 | Щетка с рычагом | |
| 6 | ШЧ6 | Шайба | |
| 7 | ВМ6х12 | Винт | |
| 8 | 80-3723010 | Желоб | |
| 9 | 8724.31.06 | Фара | |
| 10 | М8х14 | Болт | |
| 11 | ШП8 | Шайба | |
| 12 | М8 | Гайка | |
| 13 | 80В-3724310-14 | Провод | |
| 14 | 80-3801342 | Щиток | |
| 15 | 3710.40 | Выключатель знака автопоезда | |
| 16 | 80-3801327 | Заглушка | |
| 17 | 80-3724035-Б | Провод | |
| 18 | 3714.10 | Плафон освещения кабины | |
| 19 | 3710.30 | Выключатель фар рабочих | |
| 20 | 3709.15 | Переключатель вентилятора | |
| 21 | 3709.25 | Переключатель стеклоочистителя | |
| 22 | 4х10 | Шуруп | |
| 23 | 11.3729 | Дополнительное сопротивление | |
| 24 | 80В-3724010 | Жгут | |
| 25 | 5205.20 | Стеклоочиститель | |
| 25а | 5205.30 | Рычаг стеклоочистителя | |
| 25б | 5205.35 | Щетка стеклоочистителя | |
| 26 | 80-5205031 | Кронштейн | |
| 27 | ШП6 | Шайба | |
| 28 | М6х16 | Винт | |
| 29 | 80-3724232-Б | Жгут | |
| 30 | 2-4х16 | Шуруп | |
| 31 | А37.10.031 | Бонка | |
| 32 | 85-3723041-01 | Скоба | |
| 33 | 80-3724300-Г1 | Жгут | |
| 35 | М5 | Гайка | |
| 36 | ШП5 | Шайба | |
| 37 | 80-3723038 | Скоба | |
| 38 | ВМ5х16 | Винт | |
| 39 | 85-3710032 | Рычаг | |
| 40 | 85-3710025 | Гайка | |
| 41 | 14Л | Шайба | |
| 42 | 3720.10 | Выключатель сигнала торможения | |
| 43 | 3829.15 | Датчик аварийного давления Масла (ДАДМ-03) | |
| 44 | 1321-8700029 | Хомут | |
| 45 | ВМ8х25 | Винт | |
| 46 | ВМ6х25 | Винт | |
| 47 | ШЧ8 | Шайба | |
| 48 | М6 | Гайка | |
| 50 | 80-3710012 | Кронштейн | |
| 51 | 3710.60 | Выключатель лампы ручного тормоза | |
| 52 | ШЧ5 | Шайба | |
| 53 | 3738.10 | Фонарь автопоезда | |
| 54 | 80-3738001 | Кронштейн | |
| 55 | 80-6708904 | Прокладка | |
| 56 | М6х20 | Винт | |
| 57 | 80-3724231-Б | Жгут | |
| 58 | 80-3724353-Г | Жгут | |
| 59 | 80-3724233-Б | Жгут |
Содержащиеся в справочниках-каталогах запасные части и детали не предлагаются к продаже, а носят исключительно информационный характер