Каталог запасных частей к технике: МТЗ-1005. Управление рулевое гидрообъемное
1
1
1
1
2
3
4
5
6
6
6
6
6
7
7
7
7
8
8
8
8
8
8
9
9
9
9
9
9
10
11
12
13
14
15
16
17
18
18
18
19
19
19
19
20
20
20
21
21
21
22
22
22
22
23
23
24
24
24
24
25
25
25
26
27
27
28
28
29
30
30
31
31
31
32
32
32
33
33
34
35
36
37
38
39
40
41
42
43
44
45
46
47
48
49
50
51
52
53
54
55
56
57
58
59
60
61
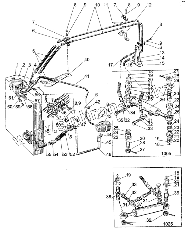
| Позиция на иллюстрации | Заводской номер детали | Название детали | |
|---|---|---|---|
| 1 | SUB100-140-2001 | Насос-дозатор | |
| 1 | OSPC 160ON150-1269LAGC160-10/200-140/01-300 | Насос-дозатор | |
| 1 | OSPC 100ON150-1155LAGC100-10/200-140/01-300 | Насос-дозатор | |
| 1 | SUB160-20.14-1 | Насос-дозатор | |
| 2 | 80-4600015-В | Бак гидросистемы | |
| 3 | 85-3407530 | Маслопровод | |
| 4 | 85-3407520 | Маслопровод | |
| 5 | Н.036.83.150 | Рукав | |
| 6 | 70-4607158 | Прокладка | |
| 7 | 70-3407146 | Планка | |
| 8 | М8х30 | Болт | |
| 9 | ШП8 | Шайба | |
| 10 | 102-3407030 | Маслопровод | |
| 11 | 70-3506027 | Втулка | |
| 12 | 102-3407013 | Кронштейн | |
| 13 | М16х40 | Болт | |
| 14 | ШП16 | Шайба | |
| 15 | 102-3407010 | Кронштейн | |
| 16 | 952-3407100-02 | Рукав высокого давления | |
| 17 | 952-3407100-04 | Рукав высокого давления | |
| 18 | 1.1.01 | Масленка | |
| 19 | М20х1,5 | Гайка | |
| 20 | Ф80-3405103 | Шайба стопорная | |
| 21 | ШЧ20 | Шайба | |
| 22 | Ф80-3405108 | Чашка уплотнительная | |
| 23 | Ф80-3405102-В | Втулка | |
| 24 | Ф80-3405109 | Уплотнитель | |
| 25 | Ф80-3405107 | Втулка сферическая | |
| 26 | С50-3405215 (С50х25-200) | Гидроцилиндр | |
| 27 | 4х36 | Шплинт | |
| 28 | Гайка корончатая М20х1,5 | Гайка корончатая М20х1,5 | |
| 29 | 70-3001040-01 | Рычаг левый | |
| 30 | Ф80-3405101-В | Палец | |
| 31 | 952-3407020 | Переходник | |
| 32 | Ф80-3407114 | Шайба | |
| 33 | Ф80-3407201 | Болт | |
| 34 | 950-3407050 | Маслопровод | |
| 35 | Ф80-3407301 | Болт | |
| 36 | 102-3405111 | Палец | |
| 37 | С63-3405115-01 (С63х30-200) | Гидроцилиндр | |
| 38 | 102-3405112 | Палец | |
| 39 | 102-3405113 | Гайка | |
| 40 | 85-3407130-В | Кронштейн | |
| 41 | 85-3407320 | Маслопровод | |
| 42 | 80П-8201016 | Хомут | |
| 43 | НШ10-3-Л | Насос шестеренный в сборе | |
| 44 | 017-022-30-1-4 | Кольцо | |
| 45 | М8х35 | Болт | |
| 46 | Ф80-3407760 | Маслопровод | |
| 47 | М10х25 | Болт | |
| 48 | ШП10 | Шайба | |
| 49 | 50-4607041 | Кронштейн | |
| 50 | 85-3407102 | Кронштейн | |
| 51 | М8 | Гайка | |
| 52 | 16-25 | Хомут Norma | |
| 53 | 952-3407014-03 | Шланг | |
| 54 | 952-3407050 | Штуцер | |
| 55 | 021-025-25-1-4 | Кольцо | |
| 56 | 85-3407560 | Маслопровод | |
| 57 | 85-3407105 | Болт | |
| 58 | Ф80-3407157 | Шайба | |
| 59 | ДАДМ | Датчик аварийного давления масла | |
| 60 | 85-3407105-02 | Болт | |
| 61 | 1221-3407060 | Маслопровод |
Содержащиеся в справочниках-каталогах запасные части и детали не предлагаются к продаже, а носят исключительно информационный характер