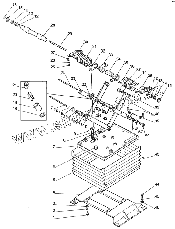
Каталог запасных частей к технике: МТЗ-1005. Сиденье водителя
1
2
3
4
5
6
7
8
9
10
11
12
12
12
13
13
13
14
14
14
14
14
15
15
15
16
16
17
18
19
20
21
22
23
24
25
26
27
28
29
30
31
32
33
34
35
36
37
37
38
39
39
40
41
41
42
43
44
45
46
| Позиция на иллюстрации | Заводской номер детали | Название детали | |
|---|---|---|---|
| 1 | М8х20 | Болт | |
| 2 | ШП8 | Шайба | |
| 3 | ШЧ8 | Шайба | |
| 4 | 80Г-6807010 | Кронштейн | |
| 5 | 80В-6800108 | Чехол | |
| 6 | А61.01.014 | Рукоятка | |
| 7 | 80В-6801560 | Основание | |
| 8 | 80В-6801240 | Трос | |
| 9 | М5х12 | Болт | |
| 10 | 70-4803023 | Муфта | |
| 11 | 80В-6801590 | Рамка | |
| 12 | 80В-6801529 | Шайба | |
| 13 | 80В-6801511 | Втулка | |
| 14 | К12х16х13Д | Подшипник | |
| 15 | 80В-6801033 | Шайба | |
| 16 | 70-6801307 | Шайба | |
| 17 | 80В-6801506-01 | Ось | |
| 18 | 80В-6801519 | Пята | |
| 19 | 80В-6801518 | Гильза | |
| 20 | 80В-6801530 | Пружина | |
| 21 | 80В-6801521 | Упор | |
| 22 | 80В-6801581 | Собачка | |
| 23 | 80В-6801570 | Рамка | |
| 24 | 80В-6801012 | Ось | |
| 25 | ВМ6х10 | Винт | |
| 26 | ШП6 | Шайба | |
| 27 | 80В-6801034 | Выступ | |
| 28 | 80В-6801505 | Валик | |
| 29 | 80В-6801506 | Ось | |
| 30 | 80В-6801507-01 | Сектор | |
| 31 | 80В-6801002-01 | Пружина | |
| 32 | 80В-6801004 | Крюк | |
| 33 | 80В-6801001 | Кронштейн | |
| 34 | 80В-6801003 | Ось | |
| 35 | 80В-6801004-01 | Крюк | |
| 36 | 80В-6801002 | Пружина | |
| 37 | 80В-6801032 | Ролик | |
| 38 | 80В-6801507 | Сектор | |
| 39 | М10 | Гайка | |
| 40 | 2,5х25 | Шплинт | |
| 41 | 80В-6801528 | Ось | |
| 42 | 80В-6801526 | Втулка | |
| 43 | 80В-6800112 | Пистон | |
| 44 | М10х25 | Болт | |
| 45 | ШЧ10 | Шайба | |
| 46 | ШП10 | Шайба |
Содержащиеся в справочниках-каталогах запасные части и детали не предлагаются к продаже, а носят исключительно информационный характер