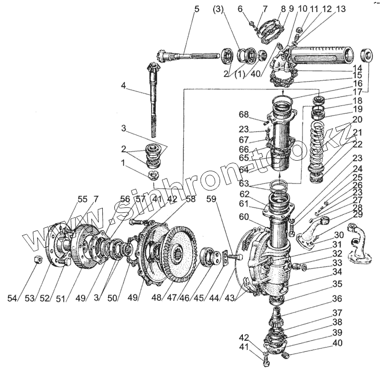
Каталог запасных частей к технике: МТЗ-1005. Редуктор конечной передачи
52-2308110-А2
52-2308115-А2
72-2308005-08
72-2308010-07
1
1
2
2
3
3
3
3
3
3
3
3
3
3
3
3
3
4
4
5
5
6
7
7
8
9
10
11
12
13
14
15
16
17
18
19
20
21
22
23
23
23
24
25
26
27
28
29
30
31
32
33
34
34
35
36
36
37
38
39
39
40
40
41
41
42
42
43
43
44
45
46
47
48
49
49
50
51
52
53
53
54
55
56
56
57
58
59
60
61
62
63
64
65
66
67
68
| Позиция на иллюстрации | Заводской номер детали | Название детали | |
|---|---|---|---|
| 52-2308110-А2 | 52-2308110-А2 | Корпус редуктора правый | |
| 52-2308115-А2 | 52-2308115-А2 | Корпус редуктора левый | |
| 82-2308100 | 82-2308100 | Верхняя коническая пара в сборе | |
| 72-2308005-08 | 72-2308005-08 | Редуктор левый | |
| 72-2308010-07 | 72-2308010-07 | Редуктор правый | |
| 82-2308050-03 | 82-2308050-03 | Шестерня | |
| 1 | 52-2308097 | Гайка | |
| 2 | 7507 | Подшипник | |
| 3 | 72-2308121-02 | Кольцо регулировочное В = 6,10 (подбираются при регулировке подшипников) | |
| 3 | 72-2308121-11 | Кольцо регулировочное В=7,45 мм | |
| 3 | 72-2308121-10 | Кольцо регулировочное В=7,30 мм | |
| 3 | 72-2308121-09 | Кольцо регулировочное В=7,15 мм | |
| 3 | 72-2308121-08 | Кольцо регулировочное В=7,00 мм | |
| 3 | 72-2308121-07 | Кольцо регулировочное В=6,85 мм | |
| 3 | 72-2308121-06 | Кольцо регулировочное В = 6,70 (к-во дет. - по потребности) | |
| 3 | 72-2308121-05 | Кольцо регулировочное В = 6,55 (к-во дет. - по потребности) | |
| 3 | 72-2308121-04 | Кольцо регулировочное В = 6,40 (к-во дет. - по потребности) | |
| 3 | 72-2308121-03 | Кольцо регулировочное В = 6,25 (к-во дет. - по потребности) | |
| 3 | 72-2308121-01 | Кольцо регулировочное В = 5,95 (подбираются при регулировке подшипников) | |
| 3 | 72-2308121 | Кольцо регулировочное В = 5,8 (подбираются при регулировке подшипников) | |
| 4 | 52-2308063 | Вал | |
| 4 | 52-2308135 | Вал с подшипниками в сборе | |
| 5 | 52-2308065 | Полуось | |
| 5 | 52-2308135-01 | Полуось с подшипниками в сборе | |
| 6 | М8х14 | Болт | |
| 7 | ШП8 | Шайба | |
| 8 | 52-2308030-А | Крышка | |
| 9 | 52-2308028-А | Прокладка | |
| 10 | 82-2308025 | Корпус | |
| 11 | М10 | Гайка | |
| 12 | 72-2308046 | Винт | |
| 13 | 52-2308077 | Прокладка | |
| 14 | 52-2308038 | Прокладка регулировочная В = 0,5 мм | |
| 15 | 52-2308039 | Прокладка регулировочная В = 0,2 мм | |
| 16 | 095-100-30-2-4 | Кольцо | |
| 17 | 2.2-30х52-1 | Манжета | |
| 18 | 52-2308054-А | Прокладка | |
| 19 | 52-2308089-А | Обойма | |
| 20 | 50-3001022-А1 | Пружина | |
| 21 | 72-2308098-А | Шайба | |
| 22 | 8208 | Подшипник | |
| 23 | ШП12 | Шайба | |
| 24 | М12х40 | Болт | |
| 25 | М12 | Гайка | |
| 26 | 72-2308004 | Шпилька | |
| 27 | 72-2308009 | Втулка | |
| 28 | 72-2308074 | Рычаг правый | |
| 29 | М12х35 | Болт | |
| 30 | 72-2308075-01 | Рычаг левый | |
| 31 | КГ 1/4 | Пробка | |
| 32 | 52-2308099 | Штифт | |
| 33 | 011-014-19-2-4 | Кольцо | |
| 34 | 52-2308014-А2 | Корпус правый | |
| 34 | 52-2308015-А2 | Корпус левый | |
| 35 | 208 | Подшипник | |
| 36 | 52-2308061 | Шестерня | |
| 36 | 52-2308060 | Шестерня 52-2308061в сборе с подшипниками | |
| 37 | 209 | Подшипник | |
| 38 | 52-2308024 | Прокладка | |
| 39 | 72-2308020-Б | Крышка с подшипником и кольцом регулировочным в сборе | |
| 39 | 52-2308035 | Крышка | |
| 40 | КГ 3/8 | Пробка | |
| 41 | М10х25 | Болт | |
| 42 | ШП10 | Шайба | |
| 43 | 72-2308021-Б-01 | Прокладка регулировочная В=0,8 мм | |
| 43 | 72-2308021-Б | Прокладка регулировочная В=0,5 мм | |
| 44 | 290-300-58-2-4 | Кольцо | |
| 45 | 72-2308013 | Пластина | |
| 46 | 72-2308031 | Шайба | |
| 47 | 2310КМ | Подшипник | |
| 48 | 72-2308062 | Шестерня | |
| 49 | 7212А | Подшипник | |
| 50 | 72-2308023-Б | Прокладка | |
| 51 | 72-2308029-Б | Грязевик | |
| 52 | 40-3103016 | Болт | |
| 53 | 82-2308017 | Фланец | |
| 53 | 72-2308070-01 | Фланец с болтом в сборе | |
| 54 | 40-3103017 | Гайка | |
| 55 | М8х25 | Болт | |
| 56 | 72-2308090-Б | Корпус сальника с манжетой в сборе | |
| 56 | 72-2308066-Б | Корпус сальника | |
| 57 | 2.2-75х100-1 | Манжета | |
| 58 | 72-2308016-Б | Крышка | |
| 59 | 72-2308018 | Болт | |
| 60 | 52-2308084-А1 | Гильза | |
| 61 | 52-2308101 | Корпус | |
| 62 | 72-2308044 | Кольцо | |
| 63 | 52-2308091-А | Кольцо | |
| 64 | 72-2308030 | Труба шкворня | |
| 65 | 72-2308012 | Уплотнение | |
| 66 | 52-2308096 | Прокладка | |
| 67 | М12х35 | Болт | |
| 68 | 72-2308011 | Винт |
Содержащиеся в справочниках-каталогах запасные части и детали не предлагаются к продаже, а носят исключительно информационный характер