Вернуться на главную
Поиск
Каталоги запчастей к технике
Сельхозтехника
МТЗ
МТЗ-1005
Кран блокировки. Управление блокировкой дифференциала
Каталог запасных частей к технике: МТЗ-1005. Кран блокировки. Управление блокировкой дифференциала
zoom-in
zoom-out
enlarge
shrink
circle-right
circle-left
file-text2
info
cart
Тип техники
Не выбрано
Легковые автомобили
Грузовые автомобили и прицепы
Автобусы
Сельхозтехника
Спецтехника
Двигатели
Мототехника
Марка
Не выбрано
AGCO
Amity
CASE IH
DongFeng
Fortschritt
Foton
Franz Kleine
Gaspardo
Great Plains
KRONE
KUHN
Lemken
Lovol
MacDon
Massey Ferguson
New Holland
TIGARBO
Vaderstad
Versatile
Wirax
Агро
Агротехмаш
Бобруйскагромаш (ОАО «УКХ «Бобруйскагромаш»)
БЭМЗ
ВгТЗ
Воронежсельмаш
ВТЗ
Гомсельмаш
ДКЗ
ЗАО "Техника-сервис"
ЗиД
КЗК
Кировец-Ландтехник
Клевер
Красная Звезда
Лидагропроммаш
Лидсельмаш
ЛТЗ
Машстройхолдинг
Минитракторы
Мордовагромаш
МТЗ
Навигатор-Новое машиностроение
Нефтекамский автозавод
ПТЗ
Ремком
РСМ
Сибсельмаш
ТеКЗ
ТКЗ
ХЗТСШ
ХТЗ
ЮМЗ
Модель
Не выбрано
1025.5 (2013)
1025/1025.2/1025.3 (2009)
1220 (2011)
1220.5 (2013)
1523.5 (2013)
1523.5 с ГМТ (2014)
2122.3/2122.4 (2015)
3022ДЦ.1 (2011)
320.4М (2019)
622 (2012)
800/900 (2003)
80Х (2012)
892 (2011)
922.3 / 922.4 (2013)
922.5 (2013)
923.4 (2014)
923.5 (2013)
92П (2010)
952.5 (2013)
БЕЛАРУС 1025.7 (2022)
БЕЛАРУС 1220.7 (2022)
БЕЛАРУС 1221.7 (2022)
БЕЛАРУС 2103 (2015)
БЕЛАРУС 320 (1998)
БЕЛАРУС 3522.5 (2013)
БЕЛАРУС 3525 (2019)
БЕЛАРУС 421 (2014)
БЕЛАРУС 451 (2023)
БЕЛАРУС 651 (2023)
БЕЛАРУС 923.7 (2022)
БЕЛАРУС 952.7 (2022)
Беларус-08Н (09Н) (2015)
Беларус-422.1 (2018)
КБ-00.000 (САЗ) (2015)
КМ-2 (САЗ) (2015)
МТЗ-082
МТЗ-100
МТЗ-1005 (2008)
МТЗ-1021.3 (2010)
МТЗ-1025.4 (2009)
МТЗ-112Н, 132Н (2010)
МТЗ-1221 (1997)
МТЗ-1221 (2009) (2009)
МТЗ-1221.4 (2009)
МТЗ-1221.4 (2009)
МТЗ-1221.5 (2013)
МТЗ-1222/1523 (2009)
МТЗ-1522 (2008)
МТЗ-1523
МТЗ-1523 (2013)
МТЗ-1523 (2008) (2008)
МТЗ-1523.4 (2010)
МТЗ-1523.6 (2018)
МТЗ-2022 (2010)
МТЗ-2103 (2010)
МТЗ-2522 (2010)
МТЗ-310, 320, 321 (2011)
МТЗ-3522 (2011)
МТЗ-510/512, 520/522 (2010)
МТЗ-570 (2010)
МТЗ-80 (1998)
МТЗ-80 (2002) (2002)
МТЗ-80 (2009) (2009)
МТЗ-80.1 (2015)
МТЗ-821/921 (2009)
МТЗ-822 (2008)
МТЗ-826 (2010)
МТЗ-90/92 (2008)
МТЗ-900
МТЗ-900/920/950/952 (2009)
МТЗ-920.4/952.4 (2009)
МТЗ-922 (2008)
МТЗ-923 (2008)
ФР-00.010 (САЗ) (2015)
ФР-00700-Б (САЗ) (2015)
Схема
>
Не выбрано
Кабина
Кабина
Панели
Стеклоочиститель переднего стекла
Стеклоочиститель заднего стекла
Стеклоомыватель
Двери кабины
Сиденье водителя
Сиденье водителя
Сиденье дополнительное
Установка отопителя
Электрофакельный подогреватель
Зеркало внутреннее
Зеркало наружное
Козырек противосолнечный
Облицовка
Крылья передние
Подножка
Подвеска и блок цилиндров дизеля
Головка цилиндров. Клапаны и толкатели клапанов
Поршни и шатуны. Коленчатый вал и маховик
Распределительный механизм
Газопровод дизеля
Привод гидронасоса
Топливные баки
Топливные трубопроводы. Установка топливной аппаратуры
Насос топливный высокого давления
Регулятор частоты вращения
Корректор по наддуву
Подкачивающий насос
Форсунка
Фильтр топливный тонкой очистки
Фильтр топливный грубой очистки
Управление подачей топлива
Воздушный фильтр, Моноциклон
Маслопроводы турбокомпрессора
Глушитель
Водяной радиатор
Термостат системы охлаждения
Водяной насос. Вентилятор
Шторка
Масляный картер
Масляный насос
Центробежный масляный фильтр
Радиатор масляный
Сцепление
Корпус сцепления
Корпус сцепления
Управление сцеплением
Коробка передач
Узел коробки передач
Вал вторичный
Вал промежуточный
Вал пониженных передач
Механизм управления коробкой передач
Привод насосов
Насос шестеренный
Фильтр
Фильтр-распределитель
Привод переднего ведущего моста
Привод карданный
Передний ведущий мост
Главная передача переднего ведущего моста
Редуктор конечной передачи
Корпус заднего моста
Механизм блокировки дифференциала
Полурама в сборе
Буксирное устройство
Крюк прицепной гидрофицированный
Передняя ось. Рулевые тяги
Колеса передние направляющие. Ступицы передних колес
Колеса передние ведущие
Колеса задние
Управление рулевое гидрообъемное
Привод рулевого механизма
Насос шестеренный
Тормоза. Управление тормозами
Стояночно-запасной тормоз. Управление стояночно-запасным тормозом
Пневмопривод
Пневмопривод
Пневмопривод
Пневмопривод
Регулятор давления
Баллон
Кран тормозной
Головка соединительная
Переходник пневматический
Компрессор
Переключатели, выключатели, электропровода
Переключатели, выключатели, электропровода
Переключатели, выключатели, электропровода
Генератор 468.3701000
Генератор 468.3701000-01
Аккумуляторная батарея
Устройство пусковое аэрозольное
Стартер 24V
Фонари передние
Плафон освещения кабины
Задние фонари
Фонарь номерного знака
Световозвращатели
Управление ПВМ
Приборы
Основание
Стенка, крышка
Устройство прицепное маятниковое
Устройство прицепное маятниковое (поперечина)
Вал отбора мощности
Приводной шкив
Управление задним ВОМ
Балласт
Привод насоса
Механизм задней навески
Кронштейн блокировки
Гидроагрегаты и арматура
Управление гидрораспределителем
Бак масляный и фильтр
Цилиндр
Распределитель
Насос шестеренный
Регулятор
Привод регулятора
Муфта быстросоединяемая
Смеситель
Механизм фиксации
Гидросистема блокировки
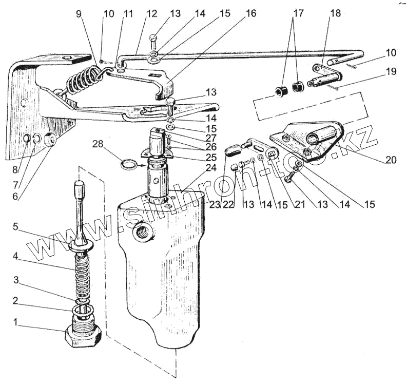
Кран блокировки. Управление блокировкой дифференциала
Инструмент оператора
Ящик инструментальный
Аптечка
80-4801200
1
2
3
4
5
6
7
8
9
10
10
11
12
13
13
13
13
14
14
14
14
15
15
15
15
16
17
18
19
20
21
22
23
24
25
26
27
28
Позиция на иллюстрации
Заводской номер детали
Название детали
ШП5
ШП5
Шайба
80-4801200
80-4801200
Кран блокировки
1
80-4801220
Пробка
2
015-019-25-2-2
Кольцо
3
ШП5
Шайба
4
50-4609054
Пружина
5
80-4801230
Клапан
6
М10
Гайка
7
ШП10
Шайба
8
80-4803110
Кронштейн
9
70-4803019
Пружина
10
1,6х2
Шплинт
11
ШЧ5
Шайба
12
80-4803121
Тяга
13
М6х14
Болт
14
ШП6
Шайба
15
ШЧ6
Шайба
16
80-4801216
Рычаг
17
50-4607082-А
Втулка
18
80-4802030
Рычаг
19
2х16
Шплинт
20
80-4802020
Кронштейн
21
80-4802040
Рычаг
22
А30.04.017
Колпачок
23
А13.11.000
Рукоятка
24
80-4801211
Корпус
25
80-4801217
Стопор
26
Винт М5
Винт М5
27
80-4801212
Золотник крана
28
016-020-25-2-2
Кольцо
Содержащиеся в справочниках-каталогах запасные части и детали не предлагаются к продаже, а носят исключительно информационный характер
Дополнительная информация
×
Название:
Номер:
Примечание: