Вернуться на главную
Поиск
Каталоги запчастей к технике
Сельхозтехника
МТЗ
БЕЛАРУС 651
Привод заднего ВОМ
Каталог запасных частей к технике: МТЗ БЕЛАРУС 651. Привод заднего ВОМ
zoom-in
zoom-out
enlarge
shrink
circle-right
circle-left
file-text2
info
cart
Тип техники
Не выбрано
Легковые автомобили
Грузовые автомобили и прицепы
Автобусы
Сельхозтехника
Спецтехника
Двигатели
Мототехника
Марка
Не выбрано
AGCO
Amity
CASE IH
DongFeng
Fortschritt
Foton
Franz Kleine
Gaspardo
Great Plains
KRONE
KUHN
Lemken
Lovol
MacDon
Massey Ferguson
New Holland
TIGARBO
Vaderstad
Versatile
Wirax
Агро
Агротехмаш
Бобруйскагромаш (ОАО «УКХ «Бобруйскагромаш»)
БЭМЗ
ВгТЗ
Воронежсельмаш
ВТЗ
Гомсельмаш
ДКЗ
ЗАО "Техника-сервис"
ЗиД
КЗК
Кировец-Ландтехник
Клевер
Красная Звезда
Лидагропроммаш
Лидсельмаш
ЛТЗ
Машстройхолдинг
Минитракторы
Мордовагромаш
МТЗ
Навигатор-Новое машиностроение
Нефтекамский автозавод
ПТЗ
Ремком
РСМ
Сибсельмаш
ТеКЗ
ТКЗ
ХЗТСШ
ХТЗ
ЮМЗ
Модель
Не выбрано
1025.5 (2013)
1025/1025.2/1025.3 (2009)
1220 (2011)
1220.5 (2013)
1523.5 (2013)
1523.5 с ГМТ (2014)
2122.3/2122.4 (2015)
3022ДЦ.1 (2011)
320.4М (2019)
622 (2012)
800/900 (2003)
80Х (2012)
892 (2011)
922.3 / 922.4 (2013)
922.5 (2013)
923.4 (2014)
923.5 (2013)
92П (2010)
952.5 (2013)
БЕЛАРУС 1025.7 (2022)
БЕЛАРУС 1220.7 (2022)
БЕЛАРУС 1221.7 (2022)
БЕЛАРУС 2103 (2015)
БЕЛАРУС 320 (1998)
БЕЛАРУС 3522.5 (2013)
БЕЛАРУС 3525 (2019)
БЕЛАРУС 421 (2014)
БЕЛАРУС 451 (2023)
БЕЛАРУС 651 (2023)
БЕЛАРУС 923.7 (2022)
БЕЛАРУС 952.7 (2022)
Беларус-08Н (09Н) (2015)
Беларус-422.1 (2018)
КБ-00.000 (САЗ) (2015)
КМ-2 (САЗ) (2015)
МТЗ-082
МТЗ-100
МТЗ-1005 (2008)
МТЗ-1021.3 (2010)
МТЗ-1025.4 (2009)
МТЗ-112Н, 132Н (2010)
МТЗ-1221 (1997)
МТЗ-1221 (2009) (2009)
МТЗ-1221.4 (2009)
МТЗ-1221.4 (2009)
МТЗ-1221.5 (2013)
МТЗ-1222/1523 (2009)
МТЗ-1522 (2008)
МТЗ-1523
МТЗ-1523 (2013)
МТЗ-1523 (2008) (2008)
МТЗ-1523.4 (2010)
МТЗ-1523.6 (2018)
МТЗ-2022 (2010)
МТЗ-2103 (2010)
МТЗ-2522 (2010)
МТЗ-310, 320, 321 (2011)
МТЗ-3522 (2011)
МТЗ-510/512, 520/522 (2010)
МТЗ-570 (2010)
МТЗ-80 (1998)
МТЗ-80 (2002) (2002)
МТЗ-80 (2009) (2009)
МТЗ-80.1 (2015)
МТЗ-821/921 (2009)
МТЗ-822 (2008)
МТЗ-826 (2010)
МТЗ-90/92 (2008)
МТЗ-900
МТЗ-900/920/950/952 (2009)
МТЗ-920.4/952.4 (2009)
МТЗ-922 (2008)
МТЗ-923 (2008)
ФР-00.010 (САЗ) (2015)
ФР-00700-Б (САЗ) (2015)
Схема
>
Не выбрано
Трансмиссия
Трансмиссия
Установка дизеля
Баки топливные
Управление подачей топлива
Установка воздухоочистителя
Установка глушителя 622-1205010 («Беларус-651»)
Установка глушителя 320-1205010 («Беларус-451»)
Установка глушителя 320-1205010-01 («Беларус-451»)
Установка глушителя 320-1205010-03 («Беларус-451»)
Ограждение вентилятора 651-1309200
Ограждение вентилятора 451-1309200
Блок охлаждения 422-1301009
Блок охлаждения 651-1301009
Сцепление
Управление сцеплением
Коробка передач
Вал первичный. Вал II промежуточный
Вал I промежуточный. Вал вторичный
Привод насоса. Привод ВОМ
Механизм управления коробкой передач
Управление коробкой передач 320-1702010-05
Управление коробкой передач 320-1702010-06
Управление коробкой передач 320-1702010-11
Управление редуктором
Управление включения переднего моста
Передний ведущий мост
Муфта обгонная
Дифференциал
Редуктор конечной передачи переднего ведущего
Задний мост
Стакан
Сапун
Дифференциал
Передача конечная
Передача конечная
Управление блокировкой дифференциала
Тягово-сцепное устройство (ТСУ-1М)
Тягово-сцепное устройство (ТСУ-1М) SAE
Тягово-сцепное устройство
Полурама в сборе
Кронштейн
Буксир передний
Ось передняя
Колеса передние направляющие
Колеса передние ведущие
Колеса передние ведущие
Колеса передние ведущие
Колеса задние ведущие
Колеса задние ведущие
Колеса задние ведущие
Колонка рулевая
Колонка рулевая (451-3401010)
Рулевое управление
Рулевое управление
Рулевое управление
Тормоза. Управление тормозами
Диски нажимные
Управление тормозами
Управление стояночным тормозом
Управление стояночным тормозом 321-3507020
Управление стояночным тормозом 421-3507050
Пневмопривод
Компрессор
Регулятор давления
Баллон
Кран тормозной
Головка соединительная 422-3521705
Головка соединительная 422-3521710
Электрооборудование двигателя
Электрооборудование двигателя
Электрооборудование трансмиссии
Электрооборудование кабины
Электрооборудование кабины
Установка фар дорожных
Установка батарей аккумуляторных
Щиток приборов
Щиток приборов
Щиток приборов
Щиток приборов
Установка щитка приборов
Установка датчиков давления
Привод заднего ВОМ
Водило
Шестерня солнечная
Задний ВОМ
Привод заднего ВОМ
Вал отбора мощности передний
Балласт
Механизм задней навески
Поперечина
Механизм передней навески
Гидросистема 651-4600010
Гидросистема 651-4600010
Гидросистема 651-4600010
Гидросистема 651-4600010
Гидросистема 651-4600010
Гидросистема 651-4600010-01
Гидросистема 651-4600010-01
Гидросистема 651-4600010-01
Гидросистема 651-4600010-01
Гидросистема 651-4600010-01
Регулятор
Управление регулятора
Установка юбочных панелей
Установка панелей
Установка верхнего пояса
Установка сиденья 622-6800000
Установка сиденья 311-6800000-03, 320Р-6800000-01
Установка сиденья 311-6800000-03, 320Р-6800000-01
Облицовка 451-8400005
Облицовка 651-8400005
Крылья передних колес 422-8403020
Крылья передних колес 320-8403020
Установка щитков
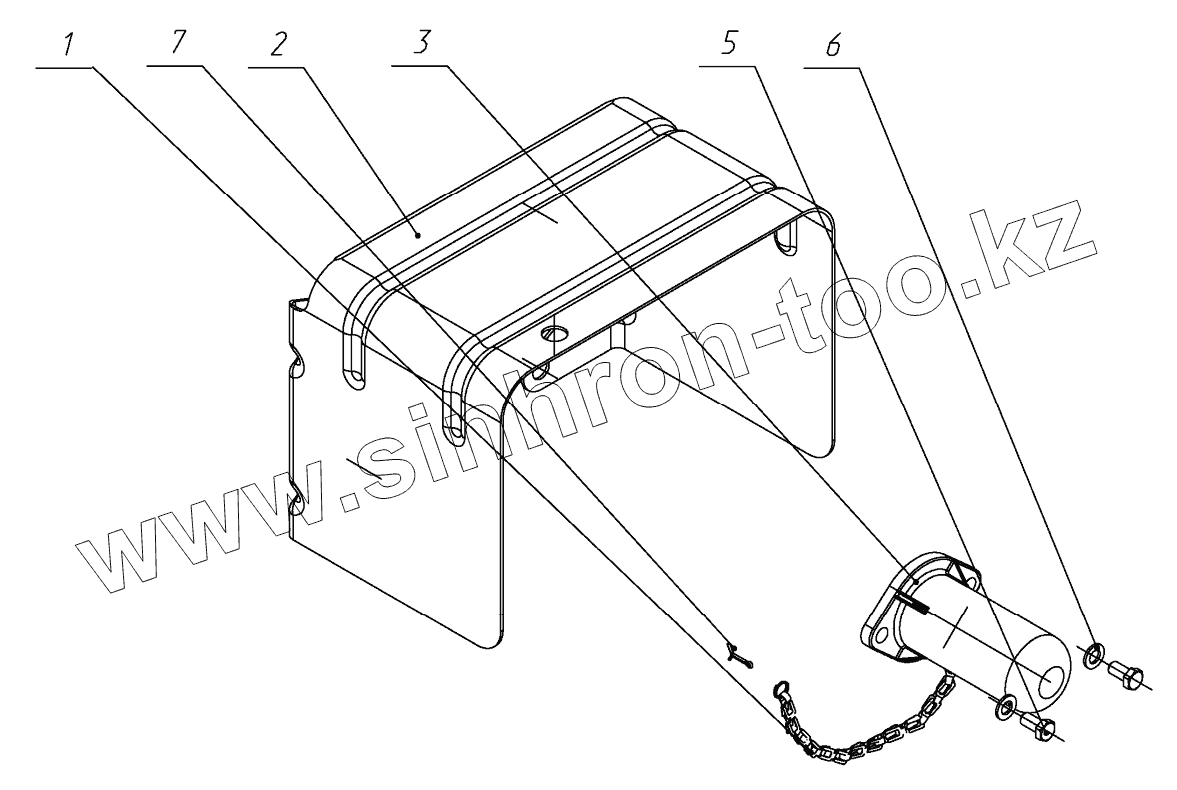
1
2
3
5
6
7
Позиция на иллюстрации
Заводской номер детали
Название детали
320-4202140
320-4202140
Ограждение
1
70-4235035
Цепочка
2
320-4202038
Ограждение
3
50-4202065-А
Колпак
5
911029
Болт М8-6gх16.88.35.019
6
916053
Шайба С 8.01.019
7
917106
Шплинт
Содержащиеся в справочниках-каталогах запасные части и детали не предлагаются к продаже, а носят исключительно информационный характер
Дополнительная информация
×
Название:
Номер:
Примечание: