Каталог запасных частей к технике: МТЗ БЕЛАРУС 651. Гидросистема 651-4600010-01
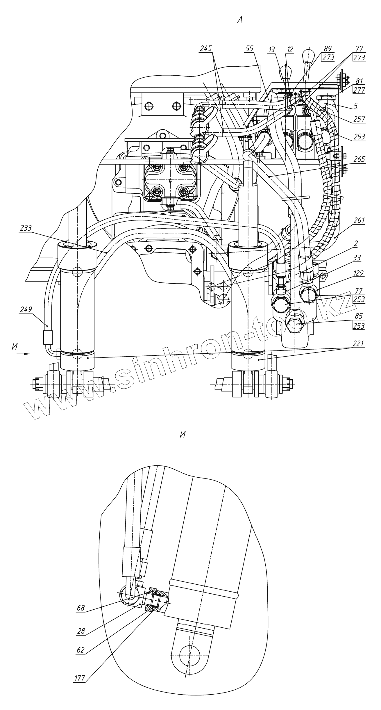
5
12
33
62
68
77
77
81
89
177
221
233
245
249
261
273
273
277
| Позиция на иллюстрации | Заводской номер детали | Название детали | |
|---|---|---|---|
| 651-4600010-01 | 651-4600010-01 | Гидросистема | |
| 1 | 421М-4607030 | Маслопровод | |
| 3 | 421М-4607050 | Кожух | |
| 4 | 421М-4607060 | Труба | |
| 5 | 421М-4607070 | Труба | |
| 6 | 421М-4607080 | Маслопровод | |
| 7 | 421М-4607090 | Маслопровод | |
| 8 | 421М-4607130 | Маслопровод | |
| 9 | 421М-4607140 | Маслопровод | |
| 10 | 421М-4607150 | Плита | |
| 12 | 421М-4607170 | Маслопровод | |
| 16 | 421М-4607190 | Кронштейн | |
| 19 | 421М-4608110 | Бак | |
| 19 | 421М-4608110-01 | Бак | |
| 33 | 322-4607260 | Штуцер | |
| 38 | 622-4607300 | Труба | |
| 43 | РП70-421 | Распределитель | |
| 45 | 421М-4607004 | Кронштейн | |
| 48 | 421М-4607011 | Рычаг | |
| 49 | 421М-4607011-01 | Рычаг | |
| 50 | 421М-4607012 | Вилка | |
| 62 | 082-4607118 | Шайба | |
| 66 | 082-4607122 | Переходник верхний | |
| 68 | 082-4607124 | Гайка | |
| 73 | 40-4607029-А | Планка | |
| 77 | 40-4607032 | Болт | |
| 81 | 40-4607037 | Болт | |
| 89 | 50-4607031 | Болт | |
| 93 | 70-3401093 | Наконечник | |
| 97 | 70-3407146 | Планка | |
| 101 | 70-3407163-01 | Планка | |
| 105 | 70-3506027 | Втулка | |
| 107 | 70-3506027-03 | Втулка | |
| 109 | 80-3723045-01 | Манжета | |
| 111 | 85-4608021 | Пробка | |
| 113 | 225-4607301 | Переходник | |
| 117 | 320-4607171 | Угольник ввертной | |
| 121 | 321-4607307 | Шланг | |
| 125 | 321-4607308 | Тройник ввертной | |
| 130 | Р90-4607021 | Втулка | |
| 131 | Р3522-4607072-03 | Шланг | |
| 132 | 911016 | Болт | |
| 133 | 911044 | Болт | |
| 137 | 911031 | Болт М8-6gх20.88.35.019 | |
| 141 | 911035 | Болт | |
| 149 | 911039 | Болт | |
| 153 | 911065 | Болт | |
| 155 | 911103 | Болт | |
| 161 | 912078 | Винт | |
| 165 | 913309 | Гайка | |
| 165 | 913309 | Гайка | |
| 169 | 913312 | Гайка | |
| 173 | 913330 | Гайка | |
| 177 | 941111 | Кольцо | |
| 181 | 941133 | Кольцо | |
| 185 | 941135 | Кольцо | |
| 186 | 916047 | Шайба С6.01.019 | |
| 187 | 916049 | Шайба С8.01.019 | |
| 189 | 916063 | Шайба | |
| 193 | 917107 | Шплинт | |
| 197 | 915331 4598651015 | Палец | |
| 201 | 916007 4598169045 | Шайба | |
| 205 | 916009 4598169046 | Шайба | |
| 205. | 916009 4598169046 | Шайба | |
| 209 | 993809 4598169027 | Шайба | |
| 213 | 916015 4598169068 | Шайба | |
| 217 | 2303.01 | Гайка | |
| 221 | 4600.54 | Гидроцилиндр | |
| 223 | 9151.000 | Кольцо | |
| 225 | 4600.13 | Муфта быстросоединяемая | |
| 229 | 4600.32 | Насос | |
| 233 | 4600.100 | Рукав высокого давления | |
| 237 | 4600.102 | Рукав высокого давления | |
| 241 | 4600.042 | Рукав высокого давления | |
| 245 | 4600.638 | Рукав высокого давления | |
| 249 | 4600.043 | Рукав высокого давления | |
| 261 | 4600.016 | Рукав высокого давления | |
| 267 | 4600.78 | Спираль защитная | |
| 268 | 4600.81 | Спираль защитная | |
| 269 | 5000.03 | Хомут с червячной резьбой 20-32 | |
| 273 | 4600.21 | Шайба РМ22 | |
| 277 | 4600.22 | Шайба РМ24 | |
| 4600.14 | 4600.14 | Штекер |
Содержащиеся в справочниках-каталогах запасные части и детали не предлагаются к продаже, а носят исключительно информационный характер