Каталог запасных частей к технике: МТЗ Беларус-422.1. Установка панелей
1
2
2
3
3
3
4
4
5
5
6
7
8
9
9
9
9
10
10
10
10
11
12
13
13
14
15
16
17
17
18
18
19
20
21
22
22
23
23
24
24
25
26
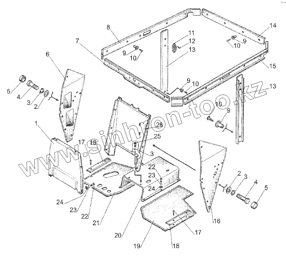
| Позиция на иллюстрации | Заводской номер детали | Название детали | |
|---|---|---|---|
| 1 | 325-6700110 | Панель | |
| 2 | С6.01.019 | Шайба | |
| 3 | 6Т | Шайба | |
| 4 | М6-6gх20.58.35.019 | Болт | |
| 5 | А30.04.017 | Колпачок | |
| 6 | 325-6700130 | Панель | |
| 7 | 220-6700050 | Накладка | |
| 8 | 220-6700055 | Накладка | |
| 9 | А37.10.031 | Бонка | |
| 10 | 1-4x25.019 | Шуруп | |
| 11 | А30.09.01 | Крючок | |
| 12 | 1-4x16 | Шуруп | |
| 13 | 220-6700060 | Накладка | |
| 14 | 220-6700070 | Накладка | |
| 15 | 220-6700055-01 | Накладка | |
| 16 | 325-6700120 | Панель | |
| 17 | В.М6-6gх40.58.019 | Винт | |
| 18 | 320-6702129 | Прижим | |
| 19 | 220-6702132-Б | Коврик | |
| 20 | 325-6702160 | Кожух | |
| 21 | 325-6702133 | Коврик | |
| 22 | М8-6gх20.88.35.019 | Болт | |
| 23 | 8Т | Шайба | |
| 24 | С8.01.019 | Шайба | |
| 25 | М6-6gх16.88.35.019 | Болт | |
| 26 | 325-6700100 | Панель |
Содержащиеся в справочниках-каталогах запасные части и детали не предлагаются к продаже, а носят исключительно информационный характер