Каталог запасных частей к технике: МТЗ БЕЛАРУС 3525. ВОМ задний 3522-4202010, 3522-4202010-01
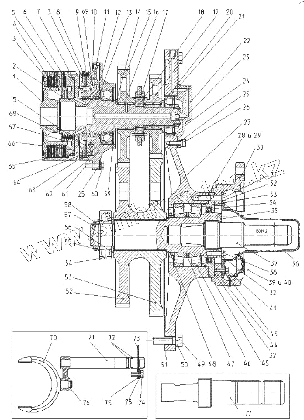
1
2
3
3
4
5
5
6
7
8
9
10
11
12
13
14
15
15
16
17
18
19
19
20
21
22
23
24
25
25
25
26
27
28
29
30
31
32
32
32
33
34
35
36
37
38
39
40
41
43
44
45
46
47
48
49
50
51
52
52
53
53
54
55
56
57
58
59
60
61
62
63
64
65
66
67
68
69
70
71
72
73
74
75
76
77
77
77
77
77
| Позиция на иллюстрации | Заводской номер детали | Название детали | |
|---|---|---|---|
| 3522-4202010-01 | 3522-4202010-01 | ВОМ задний | |
| 3522-4202010 | 3522-4202010 | ВОМ задний | |
| 2522-4202080 | 2522-4202080 | Крышка | |
| 3522-4202060-01 | 3522-4202060-01 | Крышка ВОМ | |
| 3522-4202060 | 3522-4202060 | Крышка ВОМ | |
| 3522-4202020-Б | 3522-4202020-Б | Корпус | |
| 3522-4202030 | 3522-4202030 | Фрикцион | |
| 3522-4202015-А | 3522-4202015-А | Тормозок | |
| 1 | 2822-4202034-Б1 | Муфта шлицевая | |
| 2 | C80 | Кольцо | |
| 3 | 185DIN472:2017 | Кольцо стопорное | |
| 4 | 3522-1701379 | Диск упорный | |
| 5 | 1802.01 | Диск ведущий | |
| 6 | LD 2220087 | Диск ведущий | |
| 7 | 80-1701382 | Кольцо | |
| 8 | 3522-1701379-01 | Диск упорный | |
| 9 | 3522-4202046 | Пружина | |
| 10 | 2522-4202023 | Прокладка | |
| 11 | 120-125-30-1-4 | Кольцо | |
| 12 | 142-1701381-А | Кольцо | |
| 13 | 2522-4202022-А | Втулка | |
| 14 | 2522-4202036 | Шайба | |
| 15 | 2522-4202037 | Шестерня | |
| 15 | 2522-4202032 | Шестерня | |
| 16 | 664910Е | Подшипник | |
| 17 | 112-1701343 | Муфта | |
| 18 | 2522-4202035 | Втулка | |
| 19 | 2822-4202027 | Шестерня | |
| 19 | 2522-4202032 | Шестерня | |
| 20 | 2522-4202038 | Втулка | |
| 21 | 2522-4202042 | Прокладка | |
| 22 | 2522-4202040 | Крышка | |
| 23 | 52-2308097 | Гайка | |
| 24 | 42308 | Подшипник | |
| 25 | Шайба 10 ОТ | Шайба | |
| 26 | Болт М10-6gх30.88.35.019 | Болт | |
| 27 | 2522-4202051 | Крышка | |
| 28 | 2522-4202082 | Прокладка | |
| 29 | 2522-4202082-01 | Прокладка | |
| 30 | 2522-4202083 | Проставка | |
| 31 | Болт М12-6gх55.88.35.019 | Болт | |
| 32 | Шайба 12 ОТ | Шайба | |
| 33 | 2522-4202081 | Крышка | |
| 34 | 9421.01 | Манжета | |
| 35 | 2522-4202016 | Шайба | |
| 36 | 2522-4202065 | Колпак | |
| 37 | 2522-4202017-А | Хвостовик | |
| 38 | Болт М10-6gх25.88.35.019 | Болт М10-6gх25.88.35.019 | |
| 39 | 70-4235035 | Цепочка | |
| 40 | Шплинт 3,2х25.019 | Шплинт | |
| 41 | Болт М8-6gх20.88.35.019 | Болт | |
| 43 | Шайба С 8.01.08.019 | Шайба | |
| 44 | Болт М12-6gх40.88.35.019 | Болт | |
| 45 | 135-140-36-2-2 | Кольцо | |
| 46 | 7216А | Подшипник | |
| 47 | 2522-4202066 | Шайба | |
| 48 | 2522-4202067 | Гайка | |
| 49 | Болт М16-6gх55.88.35.019 | Болт | |
| 50 | Шайба 16 ОТ | Шайба | |
| 51 | 2522-4202052 | Прокладка | |
| 52 | 2522-4202063 | Шестерня | |
| 52 | 2522-4202062 | Шестерня | |
| 53 | 2522-4202062 | Шестерня | |
| 53 | 2822-4202054 | Шестерня | |
| 54 | 310А | Подшипник | |
| 55 | 2522-4202068 | Шайба | |
| 56 | 3522-4202064 | Шайба | |
| 57 | 3522-4202061 | Вал | |
| 58 | 50-1701181 | Гайка вала | |
| 59 | C125 | Кольцо | |
| 60 | Болт М10-6gх35.88.35.019 | Болт | |
| 61 | 2C 70 | Кольцо | |
| 62 | 3522-4202021-Б | Корпус | |
| 63 | 214 | Подшипник | |
| 64 | 3522-4202033-Б | Поршень тормоза | |
| 65 | 3522-4202031 | Вал | |
| 66 | 80-1701374-01 | Поршень | |
| 67 | 80-1701373 | Опора | |
| 68 | 80-1701395 | Пружина | |
| 69 | 165-170-36-2-4 | Кольцо | |
| 70 | 2522-4202072 | Вилка | |
| 71 | 2522-4202070 | Валик | |
| 72 | 020-025-30-1-4 | Кольцо | |
| 73 | 80-1601099 | Пластина | |
| 74 | Болт М10-6gх20.88.35.019 | Болт М10-6gх20.88.35.019 | |
| 75 | Шайба С 10.01.08.019 | Шайба | |
| 76 | C15 | Кольцо | |
| 77 | 2522-4202018 | Хвостовик | |
| 77 | 2522-4202019 | Хвостовик | |
| 77 | 2522-4202047-А | Хвостовик | |
| 77 | 2522-4202048 | Хвостовик | |
| 77 | 2522-4202049 | Хвостовик |
Содержащиеся в справочниках-каталогах запасные части и детали не предлагаются к продаже, а носят исключительно информационный характер