Вернуться на главную
Поиск
Каталоги запчастей к технике
Сельхозтехника
МТЗ
БЕЛАРУС 3522.5
Кран
Каталог запасных частей к технике: МТЗ БЕЛАРУС 3522.5. Кран
zoom-in
zoom-out
enlarge
shrink
circle-right
circle-left
file-text2
info
cart
Тип техники
Не выбрано
Легковые автомобили
Грузовые автомобили и прицепы
Автобусы
Сельхозтехника
Спецтехника
Двигатели
Мототехника
Марка
Не выбрано
AGCO
Amity
CASE IH
DongFeng
Fortschritt
Foton
Franz Kleine
Gaspardo
Great Plains
KRONE
KUHN
Lemken
Lovol
MacDon
Massey Ferguson
New Holland
TIGARBO
Vaderstad
Versatile
Wirax
Агро
Агротехмаш
Бобруйскагромаш (ОАО «УКХ «Бобруйскагромаш»)
БЭМЗ
ВгТЗ
Воронежсельмаш
ВТЗ
Гомсельмаш
ДКЗ
ЗАО "Техника-сервис"
ЗиД
КЗК
Кировец-Ландтехник
Клевер
Красная Звезда
Лидагропроммаш
Лидсельмаш
ЛТЗ
Машстройхолдинг
Минитракторы
Мордовагромаш
МТЗ
Навигатор-Новое машиностроение
Нефтекамский автозавод
ПТЗ
Ремком
РСМ
Сибсельмаш
ТеКЗ
ТКЗ
ХЗТСШ
ХТЗ
ЮМЗ
Модель
Не выбрано
1025.5 (2013)
1025/1025.2/1025.3 (2009)
1220 (2011)
1220.5 (2013)
1523.5 (2013)
1523.5 с ГМТ (2014)
2122.3/2122.4 (2015)
3022ДЦ.1 (2011)
320.4М (2019)
622 (2012)
800/900 (2003)
80Х (2012)
892 (2011)
922.3 / 922.4 (2013)
922.5 (2013)
923.4 (2014)
923.5 (2013)
92П (2010)
952.5 (2013)
БЕЛАРУС 1025.7 (2022)
БЕЛАРУС 1220.7 (2022)
БЕЛАРУС 1221.7 (2022)
БЕЛАРУС 2103 (2015)
БЕЛАРУС 320 (1998)
БЕЛАРУС 3522.5 (2013)
БЕЛАРУС 3525 (2019)
БЕЛАРУС 421 (2014)
БЕЛАРУС 451 (2023)
БЕЛАРУС 651 (2023)
БЕЛАРУС 923.7 (2022)
БЕЛАРУС 952.7 (2022)
Беларус-08Н (09Н) (2015)
Беларус-422.1 (2018)
КБ-00.000 (САЗ) (2015)
КМ-2 (САЗ) (2015)
МТЗ-082
МТЗ-100
МТЗ-1005 (2008)
МТЗ-1021.3 (2010)
МТЗ-1025.4 (2009)
МТЗ-112Н, 132Н (2010)
МТЗ-1221 (1997)
МТЗ-1221 (2009) (2009)
МТЗ-1221.4 (2009)
МТЗ-1221.4 (2009)
МТЗ-1221.5 (2013)
МТЗ-1222/1523 (2009)
МТЗ-1522 (2008)
МТЗ-1523
МТЗ-1523 (2013)
МТЗ-1523 (2008) (2008)
МТЗ-1523.4 (2010)
МТЗ-1523.6 (2018)
МТЗ-2022 (2010)
МТЗ-2103 (2010)
МТЗ-2522 (2010)
МТЗ-310, 320, 321 (2011)
МТЗ-3522 (2011)
МТЗ-510/512, 520/522 (2010)
МТЗ-570 (2010)
МТЗ-80 (1998)
МТЗ-80 (2002) (2002)
МТЗ-80 (2009) (2009)
МТЗ-80.1 (2015)
МТЗ-821/921 (2009)
МТЗ-822 (2008)
МТЗ-826 (2010)
МТЗ-90/92 (2008)
МТЗ-900
МТЗ-900/920/950/952 (2009)
МТЗ-920.4/952.4 (2009)
МТЗ-922 (2008)
МТЗ-923 (2008)
ФР-00.010 (САЗ) (2015)
ФР-00700-Б (САЗ) (2015)
Схема
>
Не выбрано
Установка двигателя
Установка двигателя
Бак топливный
Бак топливный
Управление подачей топлива
Установка воздухоочистителя
Установка глушителя
Система подачи
Система подогрева бака
Блок охлаждения
Ограждение вентилятора
Установка охладителя
Корпус сцепления
Корпус сцепления
Корпус сцепления
Корпус сцепления
Установка сцепления
Управление сцеплением
Гидроусилитель
Гидроусилитель
Цилиндр главный
Цилиндр главный
Цилиндр рабочий
Кран
Бачок
Коробка передач
Коробка передач
Коробка передач
Фрикцион
Фрикцион
Вал первичный
Крышка
Крышка
Механизм управления
Распределитель
Фильтр
Муфта привода ПВМ
Вал карданный
Ограждение карданного привода
Мост передний
Редуктор центральный
Редуктор колесный
Трансмиссия
Трансмиссия
Мост задний
Мост задний
Плита
Плита
Шестерня ведущая
Дифференциал
Конечная передача
Водило
Тягово-сцепное устройство
Тяга
Крюк с амортизатором
Вилка
Тяга рулевая
Колеса передние ведущие
Колеса задние ведущие
Комплект для сдваивания передних колес
Ступица
Проставка
Управление рулевое
Управление рулевое
Управление рулевое
Гидроцилиндр Ц63 (63x30-250)
Кран реверса
Колонка рулевая
Колонка рулевая реверсного поста управления
Кардан (реверса)
Управление тормозами
Управление тормозами на реверсе
Управление стояночным тормозом
Пневмопривод тормозов прицепа (комбинированный)
Баллон
Установка однопроводного крана тормозного
Установка двухпроводного крана тормозного
Установка соединительной головки
Установка фар дорожных
Установка фар рабочих
Установка фонарей передних
Установка фонарей задних
Электрооборудование кабины
Электрооборудование отопителя
Электрооборудование трансмиссии
Установка маяка сигнального
Электрооборудование двигателя
Установка батарей аккумуляторных
Блок коммутации
Щиток приборов
Установка щитка приборов
ВОМ задний
Передний ВОМ
Передний ВОМ. Редуктор
ВОМ передний
Управление передним ВОМ
Кронштейн с грузами
Привод насоса переменной подачи
Установка навески
Механизм задней навески
Механизм задней навески
Переднее навесное устройство
Захват «Walterscheid» 2кат.
Захват «Walterscheid» 3кат.
Захват 2522-4605300/-01 «МТЗ» 3кат.
Гидроагрегаты и арматура
Гидроагрегаты и арматура
Гидроагрегаты и арматура
Гидроагрегаты и арматура
Бак
Система смазки и управления трансмиссии
Фильтр сдвоенный
Установка заднего стеклоочистителя
Установка переднего стеклоочистителя
Установка стеклоомывателя заднего
Установка стеклоомывателя переднего
Установка кабины
Кабина. Крылья задние
Облицовка
Пульт
Установка пульта
Стекла кабины
Дверь кабины
Сиденье оператора
Механизм реверса
Сиденье дополнительное
Установка системы кондиционирования воздуха
Компрессор кондиционера
Зеркало внутреннее
Зеркало наружное
Козырек противосолнечный
Аптечка
Облицовка
Крылья передние
Механизм поворота крыла
Подножка
Управление задним навесным устройством
Управление передним навесным устройством
Управление распределителями EHS
Управление двигателем
Управление двигателем
Установка розеток и прикуривателя
Установка передней розетки
Установка блока коммутации и защиты
Управление трансмиссией
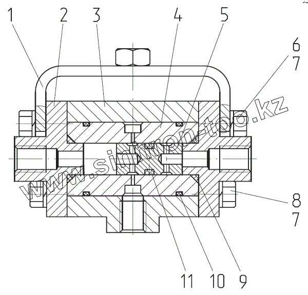
1
2
3
4
5
6
7
7
8
9
10
11
Позиция на иллюстрации
Заводской номер детали
Название детали
2822-1602100-Б
2822-1602100-Б
Кран
1
2822-1602110
Кронштейн
2
2822-1602103-Б
Крышка
3
2822-1602101-Б
Корпус
4
2822-1602102
Корпус
5
2822-1602104
Поршень
6
Болт М6-6дх25.58.35.019
Болт
7
Шайба 6Т
Шайба 6Т
8
Болт М6-6дх20.88.35.019
Болт
9
OR EPDM70 01150250
Кольцо
10
OR EPDM70 02500200
Кольцо
11
OR EPDM70 00800250
Кольцо
Содержащиеся в справочниках-каталогах запасные части и детали не предлагаются к продаже, а носят исключительно информационный характер
Дополнительная информация
×
Название:
Номер:
Примечание: