Каталог запасных частей к технике: МТЗ БЕЛАРУС 320. Регулятор частоты вращения;Speed Governor
104.8576.068
104.4190.103
BV5200834
BV5200634
BV2516105
BV2516106
1
2
3
4
5
6
7
8
9
10
11
12
13
14
15
16
17
18
18
19
20
20
21
22
22
23
23
24
24
25
25
26
27
28
29
29
30
31
32
33
34
35
36
37
38
38
39
40
41
42
43
44
45
46
47
48
49
49
50
51
52
53
54
55
55
56
57
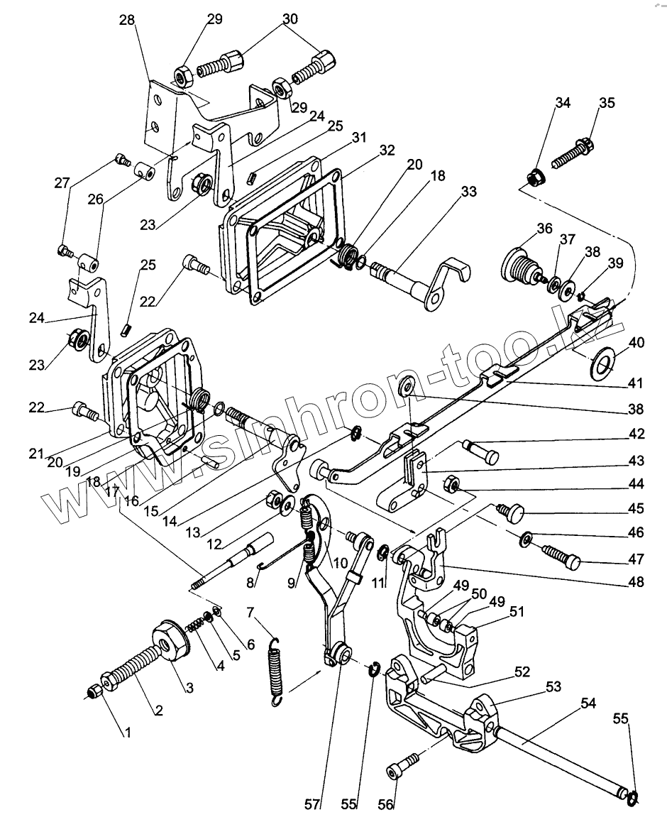
| Позиция на иллюстрации | Заводской номер детали | Название детали | |
|---|---|---|---|
| 104.8576.068 | 104.8576.068 | Упор | |
| 104.4190.103 | 104.4190.103 | Болт направляющий | |
| BV5200834 | BV5200834 | Штанга соединительная | |
| BV5200634 | BV5200634 | Рычаг регулятора в сборе | |
| BV2516105 | BV2516105 | Рычажок-останов в сборе | |
| BV2516106 | BV2516106 | Рычажок в сборе | |
| 1 | 9.3203.057 | Гайка | |
| 2 | 104.1930.143 | Корпус упора | |
| 3 | 9.3240.152 | Гайка | |
| 4 | 104.5801.490 | Пружина | |
| 5 | 104.7625.228 | Шайба | |
| 6 | 9.1200.232 | Кольцо уплот-нительное | |
| 7 | 104.5801.208 | Пружина | |
| 8 | 104.9245.134 | Тяга | |
| 9 | 104.5655.135 | Пружина регулятора | |
| 10 | 625.1541.025 | Балансир | |
| 11 | 9.1240.077 | Кольцо стопорное | |
| 12 | 9.7625.070 | Шайба | |
| 13 | 9.3203.048 | Гайка | |
| 14 | 9.1241.029 | Кольцо стопорное | |
| 15 | 104.6140.307 | Рычажок внутренний | |
| 16 | 9.8400.048 | Штифт | |
| 17 | 104.7200.150 | Палец | |
| 18 | 9.1200.052 | Кольцо уплот-нительное | |
| 19 | 104.4431.128 | Уплотнение | |
| 20 | 104.5680.104 | Пружина | |
| 21 | 104.2700.041 | Крышка регулятора | |
| 22 | 9.9730.009 | Болт | |
| 23 | 9.3203.047 | Гайка | |
| 24 | 560.5200.108 | Рычажок наружный | |
| 25 | 9.8430.004 | Штифт эластичный | |
| 26 | 9.6000.016 | Втулка | |
| 27 | 9.9790.003 | Болт | |
| 28 | 104.5060.008 | Держатель | |
| 29 | 9.3240.019 | Гайка | |
| 30 | 70.9180.047 | Болт упорный | |
| 31 | 104.2700.042 | Крышка | |
| 32 | 104.4431.127 | Уплотнение | |
| 33 | 104.6140.308 | Рычажок-останов | |
| 34 | 9.3240.153 | Гайка | |
| 35 | 9.1760.039 | Болт | |
| 36 | 104.4190.136 | Болт направляющий | |
| 37 | 104.7585.006 | Шайба | |
| 38 | 104.1970.154 | Втулка | |
| 39 | 9.1240.088 | Кольцо сто- | |
| 40 | 9.4670.021 | порное Уплотнение | |
| 41 | 104.1380.029 | Штанга соединительная | |
| 42 | 104.6210.045 | Палец | |
| 43 | 104.8785.122 | Держатель | |
| 44 | 9.3240.005 | Гайка | |
| 45 | 104.9850.092 | Болт установочный | |
| 46 | 9.7625.124 | Шайба | |
| 47 | 104.9730.198 | Болт | |
| 48 | 104.5200.650 | Рычажок | |
| 49 | 104.7770.124 | управления Ролик | |
| 50 | 104.1970.203 | Втулка | |
| 51 | 104.5200.647 | Рычаг регулятора | |
| 52 | 276.8460.055 | Штифт | |
| 53 | 104.8785.105 | Держатель | |
| 54 | 104.6140.408 | Палец | |
| 55 | 9.1240.002 | Кольцо стопорное | |
| 56 | 9.9730.010 | Болт | |
| 57 | 104.5200.628 | Рычаг |
Содержащиеся в справочниках-каталогах запасные части и детали не предлагаются к продаже, а носят исключительно информационный характер