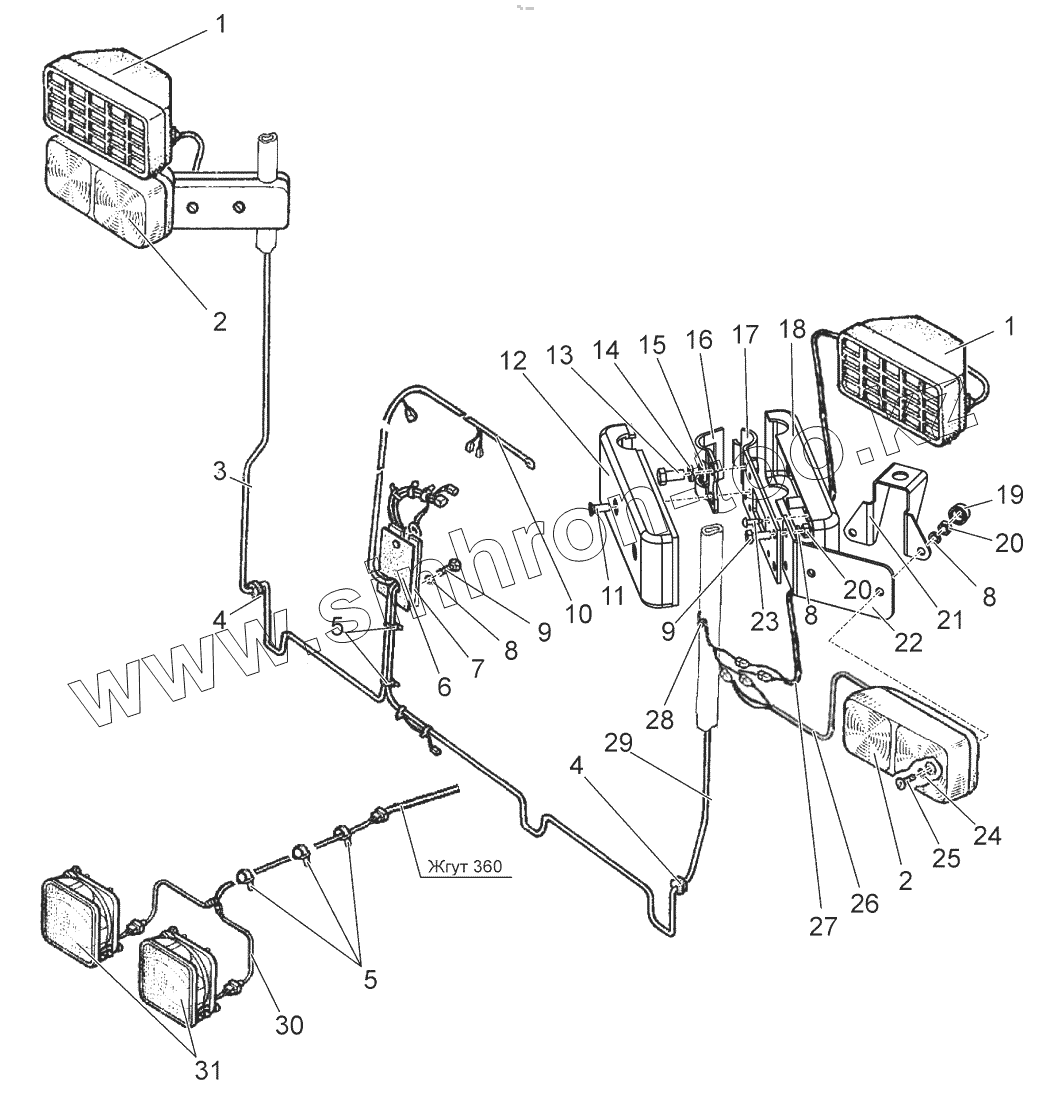
Каталог запасных частей к технике: МТЗ БЕЛАРУС 2103. Установка фонарей передних и фар дорожных
2302.3.04.12
2302.3.04.12
3713.3712
3713.3712
РАУС 14.3711-18
РАУС 14.3711-18
1
1
2
2
3
4
4
5
5
6
7
8
8
8
9
9
10
11
12
13
14
15
16
17
18
19
20
20
21
22
23
24
25
26
27
28
29
30
31
| Позиция на иллюстрации | Заводской номер детали | Название детали | |
|---|---|---|---|
| 2103-3700020 | 2103-3700020 | Установка фар дорожных | |
| 923-3700025-В | 923-3700025-В | Установка фонарей передних | |
| 2302.3.04.12 | 2302.3.04.12 | Фонарь передний с боковым повторителем | |
| 3713.3712 | 3713.3712 | Фонарь передний | |
| РАУС 14.3711-18 | РАУС 14.3711-18 | Фара рабочая | |
| 1 | 112.07.54-18 | Фара рабочая | |
| 2 | Фонарь передний с боковым повторителем | Фонарь передний с боковым повторителем | |
| 3 | 923-3724146-Б | Жгут | |
| 4 | 923-3723042 | Втулка | |
| 5 | 80-3723045 | Манжета | |
| 6 | 923-3712017 | Кронштейн | |
| 7 | 923-3712016 | Прокладка | |
| 8 | 4598166045 | Шайба 6Т | |
| 9 | Болт М6-6gх18.88.35.019 | Болт | |
| 10 | 923-3724130-В | Жгут | |
| 11 | Винт В.М6-6gх18.58.019 | Винт | |
| 12 | 920-3712021 | Кожух | |
| 13 | Болт М8-6gх16.88.35.019 | Болт М8-6gх16.88.35.019 | |
| 14 | 4598166046 | Шайба 8Т | |
| 15 | Шайба С.8.01.019 | Шайба | |
| 16 | 920-3712013 | Скоба | |
| 17 | 920-3712010 | Кронштейн | |
| 18 | 920-3712022 | Кожух | |
| 19 | А30.04.017 | Колпачок | |
| 20 | Гайка М6-6Н.6.019 | Гайка М6-6Н.6.019 | |
| 21 | 920-3711011 | Кронштейн | |
| 22 | 920-3712012 | Кронштейн | |
| 23 | Шуруп 4х16.019 | Шуруп 4х16.019 | |
| 24 | Шайба С.6.01.019 | Шайба | |
| 25 | Винт В.М6-6gх25.58.019 | Винт | |
| 26 | 923-3724140-Б | Жгут | |
| 27 | 923-3724142 | Жгут | |
| 28 | 70-3723042-01 | Втулка | |
| 29 | 923-3724145-Б | Жгут | |
| 30 | 2103-3724200 | Жгут | |
| 31 | 08 7101 000 | Фара дорожная |
Содержащиеся в справочниках-каталогах запасные части и детали не предлагаются к продаже, а носят исключительно информационный характер