Вернуться на главную
Поиск
Каталоги запчастей к технике
Сельхозтехника
МТЗ
БЕЛАРУС 1221.7
Установка ходоуменьшителя 1025-1706000-В
Каталог запасных частей к технике: МТЗ БЕЛАРУС 1221.7. Установка ходоуменьшителя 1025-1706000-В
zoom-in
zoom-out
enlarge
shrink
circle-right
circle-left
file-text2
info
cart
Тип техники
Не выбрано
Легковые автомобили
Грузовые автомобили и прицепы
Автобусы
Сельхозтехника
Спецтехника
Двигатели
Мототехника
Марка
Не выбрано
AGCO
Amity
CASE IH
DongFeng
Fortschritt
Foton
Franz Kleine
Gaspardo
Great Plains
KRONE
KUHN
Lemken
Lovol
MacDon
Massey Ferguson
New Holland
TIGARBO
Vaderstad
Versatile
Wirax
Агро
Агротехмаш
Бобруйскагромаш (ОАО «УКХ «Бобруйскагромаш»)
БЭМЗ
ВгТЗ
Воронежсельмаш
ВТЗ
Гомсельмаш
ДКЗ
ЗАО "Техника-сервис"
ЗиД
КЗК
Кировец-Ландтехник
Клевер
Красная Звезда
Лидагропроммаш
Лидсельмаш
ЛТЗ
Машстройхолдинг
Минитракторы
Мордовагромаш
МТЗ
Навигатор-Новое машиностроение
Нефтекамский автозавод
ПТЗ
Ремком
РСМ
Сибсельмаш
ТеКЗ
ТКЗ
ХЗТСШ
ХТЗ
ЮМЗ
Модель
Не выбрано
1025.5 (2013)
1025/1025.2/1025.3 (2009)
1220 (2011)
1220.5 (2013)
1523.5 (2013)
1523.5 с ГМТ (2014)
2122.3/2122.4 (2015)
3022ДЦ.1 (2011)
320.4М (2019)
622 (2012)
800/900 (2003)
80Х (2012)
892 (2011)
922.3 / 922.4 (2013)
922.5 (2013)
923.4 (2014)
923.5 (2013)
92П (2010)
952.5 (2013)
БЕЛАРУС 1025.7 (2022)
БЕЛАРУС 1220.7 (2022)
БЕЛАРУС 1221.7 (2022)
БЕЛАРУС 2103 (2015)
БЕЛАРУС 320 (1998)
БЕЛАРУС 3522.5 (2013)
БЕЛАРУС 3525 (2019)
БЕЛАРУС 421 (2014)
БЕЛАРУС 451 (2023)
БЕЛАРУС 651 (2023)
БЕЛАРУС 923.7 (2022)
БЕЛАРУС 952.7 (2022)
Беларус-08Н (09Н) (2015)
Беларус-422.1 (2018)
КБ-00.000 (САЗ) (2015)
КМ-2 (САЗ) (2015)
МТЗ-082
МТЗ-100
МТЗ-1005 (2008)
МТЗ-1021.3 (2010)
МТЗ-1025.4 (2009)
МТЗ-112Н, 132Н (2010)
МТЗ-1221 (1997)
МТЗ-1221 (2009) (2009)
МТЗ-1221.4 (2009)
МТЗ-1221.4 (2009)
МТЗ-1221.5 (2013)
МТЗ-1222/1523 (2009)
МТЗ-1522 (2008)
МТЗ-1523
МТЗ-1523 (2013)
МТЗ-1523 (2008) (2008)
МТЗ-1523.4 (2010)
МТЗ-1523.6 (2018)
МТЗ-2022 (2010)
МТЗ-2103 (2010)
МТЗ-2522 (2010)
МТЗ-310, 320, 321 (2011)
МТЗ-3522 (2011)
МТЗ-510/512, 520/522 (2010)
МТЗ-570 (2010)
МТЗ-80 (1998)
МТЗ-80 (2002) (2002)
МТЗ-80 (2009) (2009)
МТЗ-80.1 (2015)
МТЗ-821/921 (2009)
МТЗ-822 (2008)
МТЗ-826 (2010)
МТЗ-90/92 (2008)
МТЗ-900
МТЗ-900/920/950/952 (2009)
МТЗ-920.4/952.4 (2009)
МТЗ-922 (2008)
МТЗ-923 (2008)
ФР-00.010 (САЗ) (2015)
ФР-00700-Б (САЗ) (2015)
Схема
>
Не выбрано
Трансмиссия 1220.7-0002000
Трансмиссия 1220.7-0002000
Установка двигателя 923.7С-1001001, 923.7С-1001001-01, 923.7С-1001001-02
Установка двигателя 923.7С-1001001, 923.7С-1001001-01, 923.7С-1001001-02
Бак топливный 920С.7-1101600
Бак топливный 920С.7-1101600
Управление подачей топлива 952.4К-1108000
Установка воздухоочистителя 923.7С-1109125
Установка бака 923.7С-1201010
Система подачи 923.7С-1204010
Установка глушителя 1220.7С-1205005, Для «Беларус -1025.7/1220.7/1221.7
Система подогрева бака 923.7С-1209010
Блок охлаждения 923.7С-1301009
Блок охлаждения 923.7С-1301009
Блок охлаждения 923.7С-1301009
Ограждение вентилятора 923.7С-1309100
Установка сцепления 1025С-1005009, 1220С-1005009
Корпус сцепления 1220.7-1600010, 1220.7-1600010-01
Корпус сцепления 1220.7-1600010, 1220.7-1600010-01
Корпус сцепления
Корпус сцепления
Корпус сцепления
Корпус сцепления
Корпус сцепления
Корпус сцепления
Корпус сцепления
Корпус сцепления
Управление сцеплением 1025.7-1602010, 1025.7-1602010-01
Коробка передач (16F+8R) 112-1700010-А-12
Вал первичный (16F+8R)
Вал вторичный (16F+8R)
Вал промежуточный (16F+8R) 1221М-1701190-Б
Вал пониженных передач (16F+8R) 75-1701320
Механизм управления коробкой передач (16F+8R) 80-1702010-02/-05
Коробка передач (24F+12R) 1222-1700010-06
Коробка передач. Вал первичный (24F+12R)
Коробка передач. Вал промежуточный (24F+12R)
Коробка передач. Вал пониженных передач и заднего хода (24F+12R)
Коробка передач. Вал блока шестерен (24F+12R)
Коробка передач. Вал вторичный (24F+12R)
Механизм управления (24F+12R) 1222-1702010-А
Механизм управления (24F+12R) 1222-1702010-А
Механизм управления (24F+12R) 1222-1702010-А
Механизм управления (24F+12R) 1222-1702010-А
Привод насосов 1222-1704010
Установка ходоуменьшителя 1025-1706000-В
Установка ходоуменьшителя 1025-1706000-В
Фильтр 80-1716010
Фильтр-распределитель 2025-1737110
Привод переднего ведущего моста
Вал карданный 1225-2303005
Передний ведущий мост 1225-2300020
Редуктор центральный
Дифференциал 1225-2303010
Редуктор колесный 1225-2308005, 1225-2308010
Задний мост. Дифференциал 1220-2401010-02, 1220-2401010-03
Задний мост. Дифференциал 1220-2401010-02, 1220-2401010-03
Конечная передача 1221-2407500-02, 1221-2407500-03
Механизм блокировки дифференциала «мокрого» типа
Тягово-сцепное устройство 1221-2707010
Тягово-сцепное устройство (варианты комплектации)
Установка бруса с ПВМ 923.7-2801125-А, 923.7-2801125-А-01
Крюк прицепной К1220-2807010-А
Тяга рулевая 923.7-3003010
Колеса передние ведущие 822-3101010
Колеса задние ведущие
Ступицы задних колес 1220-3104010
Колонка рулевая 85-3401000-А-05
Кардан 85-3401150
Управление рулевое 923.7-3400010-01
Управление рулевое 923.7-3400010-01
Управление рулевое 923.7-3400010-01
Бак 952.4К-3407100
Тормоза «мокрого» типа (левый 1221М-3502010, 1221М-3502010-02/правый 1221М-3502020, 1221М-3502020-02)
Управление тормозами рабочими «мокрого» типа 1221М-3503010
Тормоз стояночный. Управление стояночным тормозом «мокрого» типа 221М-3507010
Гидропривод 1025-3503900
Кран тормозной 1025-3503910
Пневмопривод (двухпроводный) 1220.7-3506505, 1220.7-3506505-01
Пневмопривод (двухпроводный) 1220.7-3506505, 1220.7-3506505-01
Клапан 1220.7-3509005
Клапан 1220.7-3509150
Регулятор давления
Баллон 1220.7-3513505, 1220.7-3513505-01
Кран тормозной 1220.7-3514105
Кран тормозной 85М-3514010-02
Головка соединительная 1025-3521510
Головка соединительная 1220.7-3521505
Клапан 1220.7-3531005
Установка фар дорожных 921-3700020
Установка фонарей передних 1025.7-3700025
Электрооборудование двигателя 1025.6-3700030
Электрооборудование двигателя 1025.6-3700030
Электрооборудование трансмиссии 1221.6-3700040, 1221.6-3700040-02
Электрооборудование кабины 920.6-3700050
Электрооборудование кабины 920.6-3700050
Установка фонарей задних 920.6-3700060
Установка фонарей задних 920.6-3700060
Установка батарей аккумуляторных 952.5-3700080
Электрооборудование кондиционера 1221.6Е-3700115
Электрооборудование крыши 1221.6Е-3700110
Электрооборудование крыши 1221.6Е-3700110
Управление зеркалами 1221.6-3700130
Установка сигнализатора заднего хода 1221К.4-3839005
Установка датчиков скорости 1221-3843005-01, 1221-3843005-03
Щиток приборов 926-3805010-Б
Щиток приборов 926-3805010-Б
Установка щитка приборов 926-3805005-01
Установка щитка приборов 926-3805005-01
Вал отбора мощности задний 1025-4202010-Б
Вал отбора мощности задний (шестерня коронная) 70-4202030-А
Балласт 923.7-4235010
Привод насоса 85-4604010, 80-4600010
Навесное устройство с гидроподъемником (механическое управление ЗНУ) К1220-4605510
Захват «Walterscheid» 2 категории 574934
Захват МТЗ категории 2 1000-4605300
Поперечина 1220-4605025
Поперечина 822-4605085
Навесное устройство с гидроподъемником (электронное управление ЗНУ) Э1220-4605510
Гидроагрегаты и арматура (для тракторов «Беларус-1025.7») 1200Р-4600010-01
Гидроагрегаты и арматура (для тракторов «Беларус-1025.7») 1200Р-4600010-01
Гидроагрегаты и арматура (для тракторов «Беларус-1025.7») 1200Р-4600010-01
Гидроагрегаты и арматура (для тракторов «Беларус-1220.7/1221.7») 1200Р-4600010
Гидроагрегаты и арматура (для тракторов «Беларус-1220.7/1221.7») 1200Р-4600010
Гидроагрегаты и арматура (для тракторов «Беларус-1220.7/1221.7») 1200Р-4600010
Гидроагрегаты и арматура 200Р-4600015/-01
Гидроагрегаты и арматура 200Р-4600015/-01
Гидроагрегаты и арматура (для тракторов «Беларус-1220.7/1221.7») 1200Е-4600010
Гидроагрегаты и арматура (для тракторов «Беларус-1220.7/1221.7») 1200Е-4600010
Гидроагрегаты и арматура (для тракторов «Беларус-1220.7/1221.7») 1200Е-4600010
Гидроагрегаты и арматура (для тракторов «Беларус-1025.7») 1200Е-4600010-01
Гидроагрегаты и арматура (для тракторов «Беларус-1025.7») 1200Е-4600010-01
Гидроагрегаты и арматура (для тракторов «Беларус-1025.7») 1200Е-4600010-01
Гидроагрегаты и арматура 1200Е-4600015
Гидроагрегаты и арматура 1200Е-4600015
Кронштейн 1200Р-4607570/-01
Корпус гидросистемы и фильтр 85-4608010
Муфта
Гидрораспределитель РП70
Гидрораспределитель РП70
Гидрораспределитель РП70
Управление гидрораспределителем РП 70
Цилиндр гидроподъемника 820-4625010-Б, 820Е-4625010-Б. Вариант 1
Цилиндр гидроподъемника 820Н-4625010-Б. Вариант 2
Распределитель гидроподъемника 820-4634010
Управление гидроподъемником 820-4635005
Гидроподъемник (с механическим управлением ЗНУ)
Гидроподъемник 1221Э-4635010-01
Гидросистема трансмиссии 100-4637010
Установка стеклоочистителя 1221.6-5205010
Установка стеклоочистителя 1221.6-5205010
Установка стеклоомывателя 952.7-5208010
Кабина трактора. Экстерьер. 82.1-6700010
Рамка 80-6708215
Крыша Д82-6707005, Д82-6707005-05
Интерьер кабины
Двери кабины 80-6708010-Б, 80-6708010-Б-02
Сиденье оператора 80-6800010-05, 586063
Сиденье оператора 80-6800010-05, 586063
Установка кондиционера 952.6-8100010-Б
Установка кондиционера 952.6-8100010-Б
Установка компрессора 952.6-8114010
Установка отопителя-охладителя 221.1-8101010-Б
Установка Конденсатора 1025-8112010
Зеркало заднего вида внутреннее 80-8201035
Козырек 80П-8204010
Облицовка радиатора. Капот
Облицовка радиатора. Капот
Крылья передние (при комплектации колесами 822-3101010 или 1221-3101010) 822-8403010-02/-03
Крылья передние (при комплектации колесами 1221-3101010-01) 2022-8403010/-01
Подножка трактора 952-8405005-А
Управление двигателем 1025.7-8700910-Т
Управление двигателем 1025.7-8700910-Т
Установка блока коммутации и защиты 1025.7-8700095
Подключение сиденья 1025.6-8700075
Управление узлами трансмиссии (с КП 16Fх8R) (электрическая часть), 1220.7-8702210, 1220.7-8702210-01
Управление узлами трансмиссии (с КП 24Fх12R) (электрическая часть), 1221.7-8702250, 1221.7-8702250-01
Установка выключателей ВОМ 1221-8702350
Управление задним навесным устройством. Установка выключателей ВОМ 1221-8702610
Управление задним навесным устройством. Установка выключателей ВОМ 1221-8702610
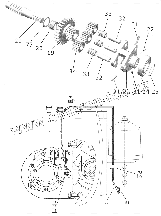
19
20
21
22
23
24
25
31
31
31
32
32
33
33
34
46
47
48
50
51
77
78
78
79
80
Позиция на иллюстрации
Заводской номер детали
Название детали
1025-1716200
1025-1716200
Система смазки ходоуменьшителя
1025-1706000-В
1025-1706000-В
Установка ходоуменьшителя
1025-1706040
1025-1706040
Водило
1025-1706030
1025-1706030
Редуктор
1
923-4216081
Тяга
2
Болт М8-6gх20.88.35.019
Болт
3
2022-1716016
Палец
4
1025-1706024
Крышка
5
1025-1706026
Прокладка
6
С35
Кольцо
7
307 А
Подшипник
8
Шайба 8Т
Шайба 8Т
9
1025-1706022
Крышка
10
1025-1706023
Прокладка
11
1025-1706027
Колесо зубчатое
12
1025-1706011
Корпус
13
85-1702051
Шайба
14
Болт М12-6gх200.58.019
Болт
15
Шайба 12 ОТ
Шайба
16
Болт М12-6gх35.88.35.019
Болт М12-6gх35.88.35.019
17
Болт М12-6gх180.58.019
Болт
18
1025-1706013
Прокладка
19
1025-1706041
Колесо зубчатое
20
1025-1706042
Вал
21
1025-1706051
Водило
22
Штифт 6х45
Штифт
23
Подшипник 3КК 37х42х26 Е
Подшипник
24
210 А
Подшипник
25
2C50
Кольцо
26
1025-1706028
Шестерня коронная
27
1025-1706012
Крышка
28
КГ 1/8" А12.019
Пробка
31
Штифт А.6х35.65Г
Штифт
32
1025-1706053
Ось
33
Подшипник КК 20х26х34 Е
Подшипник
34
1025-1706054
Сателлит
35
Шайба 12 ОТ
Шайба
36
Винт М12-6gх35.88.35.019
Винт
37
1025-1706014
Шайба
38
1025-1706016
Колесо зубчатое
39
Ролик 3х23,8 А3
Ролик
40
1025-1706017
Шайба
41
1025-1706018
Колесо зубчатое
42
Ролик 6х23,8 В3
Ролик
43
1025-1706019
Шайба
44
1025-1706021
Ось
45
Кольцо 035-040-30-1-4
Кольцо
46
РМ 14
Шайба
47
1221-1802091-Б
Пробка резьбовая
48
86-1802088
Угольник
49
1025-1706031
Вилка
50
1025-1716210
Маслопровод
51
1221-2407288
Тройник
53
50-1310136-А-02
Рукоятка
55
50-1701456-А
Прокладка
56
Штифт А.6х30.65Г
Штифт
57
1025-1706033
Толкатель
58
Кольцо 016-020-25-2-4
Кольцо
59
1025-1706037
Шайба
60
1025-1706034
Пластина
61
Болт М6-6gх12.88.35.019
Болт
62
Шайба 6Т
Шайба 6Т
63
С16
Шайба
64
1025-1716011
Кронштейн
65
Шплинт 2х12.019
Шплинт
66
Шайба С.8.01.019
Шайба
67
Шплинт 2х12.019
Шплинт
68
2022-1716013
Рычаг
69
Шарик 9,922-100
Шарик
70
50-1702148-А
Пружина фиксатора
71
1025-1706036
Вилка
72
1025-1706029
Штифт
74
1025-1706032
Толкатель
75
Болт М8-6gх30.88.35.019
Болт
76
1025-1716012
Палец
77
1025-1706043
Шайба
78
1522-2407317
Трубка
79
70-4802046
Хомут
80
70-4802043
Кляммер
Содержащиеся в справочниках-каталогах запасные части и детали не предлагаются к продаже, а носят исключительно информационный характер
Дополнительная информация
×
Название:
Номер:
Примечание: