Каталог запасных частей к технике: МТЗ 92П. Управление БД и ВОМ (электрическая часть)
1
2
3
4
5
6
7
8
8
8
9
10
11
12
13
14
15
15
15
16
17
17
18
19
20
21
22
22
23
24
25
26
27
28
29
30
31
32
33
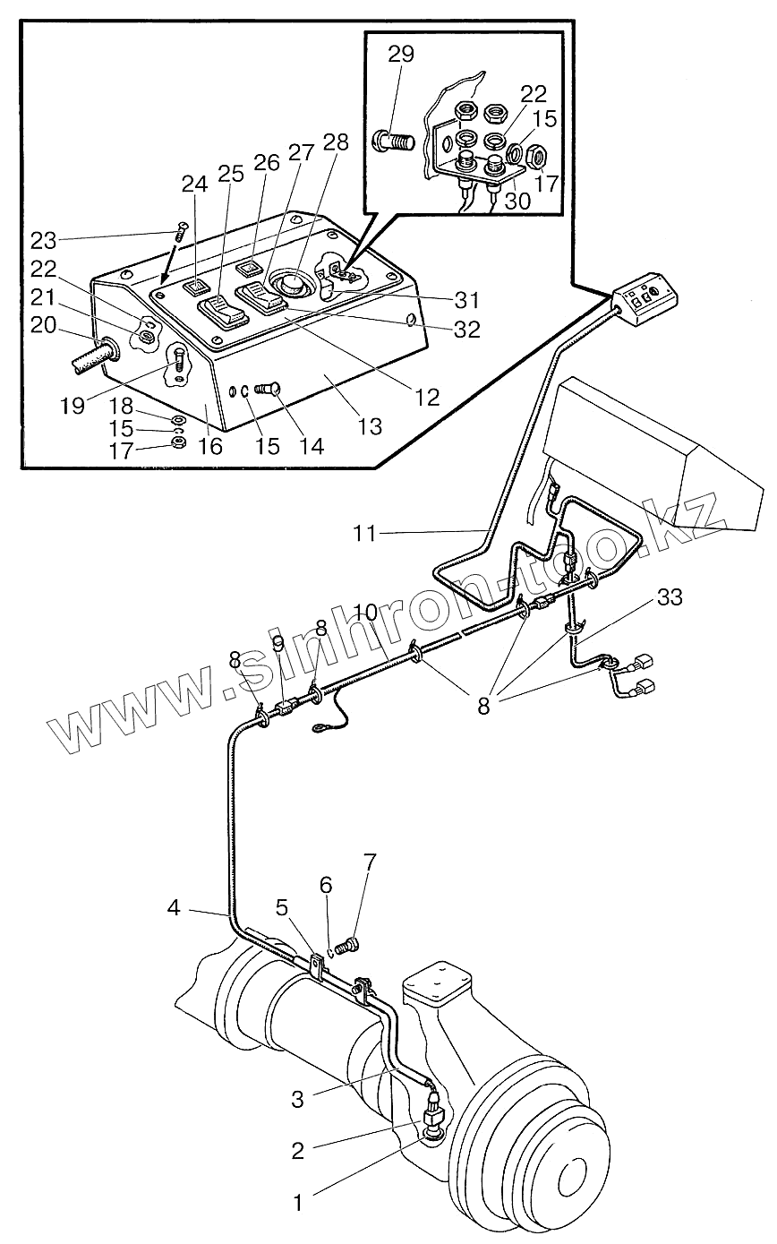
| Позиция на иллюстрации | Заводской номер детали | Название детали | |
|---|---|---|---|
| 1021-8700310-Д | 1021-8700310-Д | Управление БД и ВОМ | |
| 1 | 50-1702048 | Прокладка | |
| 2 | ВК12-51 | Выключатель ТУ РБ37334210.015-97 | |
| 3 | 822-8700021 | Труба | |
| 4 | 1221-3724840-В | Жгут | |
| 5 | 1221-8700022 | Хомут | |
| 6 | Шайба8Т | Шайба 8Т | |
| 7 | М8-6gх16.88.35.019 | Болт | |
| 8 | 80-3723045 | Манжета | |
| 9 | 602602 | Колодка гнездовая | |
| 10 | 822-3724825 | Жгут | |
| 11 | 1021-3724820 | Жгут | |
| 12 | 1021-8700316 | Панель | |
| 13 | 1221-6700411 | Крышка | |
| 14 | ВМ6-6gх12.58.019 | Винт ГОСТ 17473-80 | |
| 15 | Шайба6Т | Шайба | |
| 16 | 1221-6700420 | Основание | |
| 17 | М6-6Н.6.019 | Гайка | |
| 18 | С6.01.019 | Шайба | |
| 19 | М6-6gх35.88.35.019 | Болт | |
| 20 | 70-3723042-01 | Втулка | |
| 21 | М5-6Н.6.019 | Гайка ГОСТ 5915-70 | |
| 22 | Шайба5Т | Шайба | |
| 23 | ВМ5-6gх16.58.019 | Винт ГОСТ 17473-80 | |
| 24 | 3803.40 | Лампа контрольная БД | |
| 25 | 3709.65 | Переключатель БД | |
| 26 | 3803.50 | Лампа контрольная ЗВОМ | |
| 27 | 3709.75 | Переключатель ВОМ | |
| 28 | ВК12-1 | Выключатель | |
| 29 | ВМ6-6gх16.58.019 | Винт ГОСТ 17473-80 | |
| 30 | 1522-8700221 | Кронштейн | |
| 31 | 3747.50 | Реле на замыкание | |
| 32 | 80-3801021 | Гнездо выключателя | |
| 33 | 1021-3724830-Д | Жгут |
Содержащиеся в справочниках-каталогах запасные части и детали не предлагаются к продаже, а носят исключительно информационный характер