Каталог запасных частей к технике: МТЗ 92П. Баки топливные (металлические)
1
1
2
3
4
5
5
6
7
8
9
10
11
11
12
13
13
14
15
16
17
17
18
18
19
19
20
21
21
22
23
24
25
26
27
28
29
30
31
32
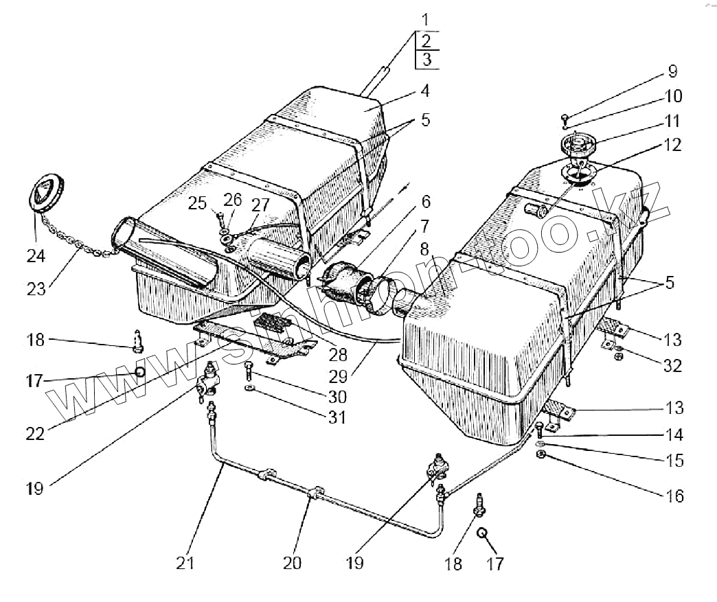
| Позиция на иллюстрации | Заводской номер детали | Название детали | |
|---|---|---|---|
| 70-1101005 | 70-1101005 | Баки | |
| 1 | 920-1101240-05 | Топливопровод | |
| 1 | 920П-1101240-05 | Топливопровод | |
| 2 | Д18-051 | Болт | |
| 3 | РМ14 | Шайба | |
| 4 | 70-1101020 | Бак | |
| 5 | 70-1101070 | Хомут | |
| 6 | 70-1101035-Б | Рукав | |
| 7 | ХС-66 | Хомут | |
| 8 | 70-1101010 | Бак | |
| 9 | В.М5-6gх16.58.019 | Винт | |
| 10 | 80-1101067 | Шайба | |
| 11 | ДУМП-21М | Датчик уровня топлива | |
| 11 | АР70.3827-01 | Датчик указателя уровня топлива | |
| 12 | 200-3806026 | Прокладка | |
| 13 | 80-1101250-Б | Кронштейн правый | |
| 14 | М10-6gх25.88.35.019 | Болт | |
| 15 | Шайба10.ОТ | Шайба | |
| 16 | М10-6Н.6.019 | Гайка | |
| 17 | Шарик11,112-100 | Шарик | |
| 18 | 822-1101081 | Штуцер | |
| 19 | ПП6-1-О | Кран | |
| 20 | 70-1101042 | Скоба | |
| 21 | 920-1101210 | Топливопровод | |
| 21 | 920П-1101210 | Топливопровод | |
| 22 | 80-1101280-Б | Кронштейн левый | |
| 23 | 36-1101070 | Цепочка | |
| 24 | 082-1103010 | Пробка | |
| 25 | 36-1104787 | Болт | |
| 26 | РМ10 | Шайба | |
| 27 | 920-1101160-01 | Топливопровод | |
| 28 | 80-1101012-Б | Прокладка | |
| 29 | 85-1101002 | Трубка | |
| 30 | М12-6gх30.88.35.019 | Болт | |
| 31 | Шайба12.ОТ | Шайба | |
| 32 | Шайба10Л | Шайба |
Содержащиеся в справочниках-каталогах запасные части и детали не предлагаются к продаже, а носят исключительно информационный характер