Каталог запасных частей к технике: МТЗ 922.5. Тормоза рабочие «мокрого» типа
1
1
2
2
3
3
4
4
5
5
5
6
6
6
6
6
6
6
6
6
6
6
6
6
6
6
6
7
7
8
8
9
9
10
10
11
11
12
12
13
13
14
14
15
16
16
17
17
18
18
19
19
20
20
21
21
22
22
23
24
24
25
25
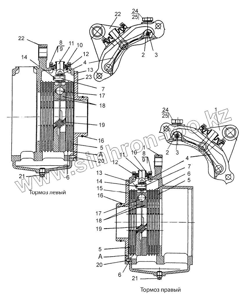
| Позиция на иллюстрации | Заводской номер детали | Название детали | |
|---|---|---|---|
| 1221М-3502020-01 | 1221М-3502020-01 | Тормоз правый | |
| 1221М-3502010-01 | 1221М-3502010-01 | Тормоз левый | |
| 85-3502030-01 | 85-3502030-01 | Диски нажимные | |
| 1 | 1221М-2409035-01 | Корпус правый | |
| 2 | М8-6Н.6.019 | Гайка | |
| 3 | 50-3502198 | Палец | |
| 4 | 85-3502196 | Тяга | |
| 5 | 1522-3502015-07 | Диск | |
| 6 | 80М-3502037 | Диск промежуточный | |
| 6 | 80М-3502037-01 | Диск промежуточный | |
| 6 | 80М-3502037-02 | Диск промежуточный | |
| 6 | 80М-3502037-03 | Диск промежуточный | |
| 6 | 80М-3502037-04 | Диск промежуточный | |
| 6 | 80М-3502037-05 | Диск промежуточный | |
| 6 | 80М-3502037-06 | Диск промежуточный | |
| 6 | 80М-3502037-07 | Диск промежуточный | |
| 7 | 12х32 | Палец | |
| 8 | М6-6gx12.88.35.019 | Болт | |
| 9 | Шайба6Т | Шайба | |
| 10 | 80М-3502202 | Чехол | |
| 11 | 50-3502203 | Вилка | |
| 12 | 80М-3502204 | Пластина | |
| 13 | 1221М-3502051 | Прокладка | |
| 14 | 3,2х18.019 | Шплинт | |
| 15 | 1221М-2407059-01 | Крышка стакана | |
| 16 | ЦС110-1414045-4 | Кольцо | |
| 17 | 22,225-100 | Шарик | |
| 18 | 85-3502036-01 | Диск нажимной | |
| 19 | 77.38.163 | Пружина | |
| 20 | В.М8-6gх25.58.019 | Винт | |
| 21 | ПККГ3,8” | Пробка | |
| 22 | 1221М-3502035-01 | Корпус | |
| 23 | 1221М-2407059 | Крышка стакана | |
| 24 | 1221-1802091 | Пробка резьбовая | |
| 25 | Д18-055-А | Шайба |
Содержащиеся в справочниках-каталогах запасные части и детали не предлагаются к продаже, а носят исключительно информационный характер