Вернуться на главную
Поиск
Каталоги запчастей к технике
Сельхозтехника
МТЗ
922.5
Муфта блокировки дифференциала «мокрая»
Каталог запасных частей к технике: МТЗ 922.5. Муфта блокировки дифференциала «мокрая»
zoom-in
zoom-out
enlarge
shrink
circle-right
circle-left
file-text2
info
cart
Тип техники
Не выбрано
Легковые автомобили
Грузовые автомобили и прицепы
Автобусы
Сельхозтехника
Спецтехника
Двигатели
Мототехника
Марка
Не выбрано
AGCO
Amity
CASE IH
DongFeng
Fortschritt
Foton
Franz Kleine
Gaspardo
Great Plains
KRONE
KUHN
Lemken
Lovol
MacDon
Massey Ferguson
New Holland
TIGARBO
Vaderstad
Versatile
Wirax
Агро
Агротехмаш
Бобруйскагромаш (ОАО «УКХ «Бобруйскагромаш»)
БЭМЗ
ВгТЗ
Воронежсельмаш
ВТЗ
Гомсельмаш
ДКЗ
ЗАО "Техника-сервис"
ЗиД
КЗК
Кировец-Ландтехник
Клевер
Красная Звезда
Лидагропроммаш
Лидсельмаш
ЛТЗ
Машстройхолдинг
Минитракторы
Мордовагромаш
МТЗ
Навигатор-Новое машиностроение
Нефтекамский автозавод
ПТЗ
Ремком
РСМ
Сибсельмаш
ТеКЗ
ТКЗ
ХЗТСШ
ХТЗ
ЮМЗ
Модель
Не выбрано
1025.5 (2013)
1025/1025.2/1025.3 (2009)
1220 (2011)
1220.5 (2013)
1523.5 (2013)
1523.5 с ГМТ (2014)
2122.3/2122.4 (2015)
3022ДЦ.1 (2011)
320.4М (2019)
622 (2012)
800/900 (2003)
80Х (2012)
892 (2011)
922.3 / 922.4 (2013)
922.5 (2013)
923.4 (2014)
923.5 (2013)
92П (2010)
952.5 (2013)
БЕЛАРУС 1025.7 (2022)
БЕЛАРУС 1220.7 (2022)
БЕЛАРУС 1221.7 (2022)
БЕЛАРУС 2103 (2015)
БЕЛАРУС 320 (1998)
БЕЛАРУС 3522.5 (2013)
БЕЛАРУС 3525 (2019)
БЕЛАРУС 421 (2014)
БЕЛАРУС 451 (2023)
БЕЛАРУС 651 (2023)
БЕЛАРУС 923.7 (2022)
БЕЛАРУС 952.7 (2022)
Беларус-08Н (09Н) (2015)
Беларус-422.1 (2018)
КБ-00.000 (САЗ) (2015)
КМ-2 (САЗ) (2015)
МТЗ-082
МТЗ-100
МТЗ-1005 (2008)
МТЗ-1021.3 (2010)
МТЗ-1025.4 (2009)
МТЗ-112Н, 132Н (2010)
МТЗ-1221 (1997)
МТЗ-1221 (2009) (2009)
МТЗ-1221.4 (2009)
МТЗ-1221.4 (2009)
МТЗ-1221.5 (2013)
МТЗ-1222/1523 (2009)
МТЗ-1522 (2008)
МТЗ-1523
МТЗ-1523 (2013)
МТЗ-1523 (2008) (2008)
МТЗ-1523.4 (2010)
МТЗ-1523.6 (2018)
МТЗ-2022 (2010)
МТЗ-2103 (2010)
МТЗ-2522 (2010)
МТЗ-310, 320, 321 (2011)
МТЗ-3522 (2011)
МТЗ-510/512, 520/522 (2010)
МТЗ-570 (2010)
МТЗ-80 (1998)
МТЗ-80 (2002) (2002)
МТЗ-80 (2009) (2009)
МТЗ-80.1 (2015)
МТЗ-821/921 (2009)
МТЗ-822 (2008)
МТЗ-826 (2010)
МТЗ-90/92 (2008)
МТЗ-900
МТЗ-900/920/950/952 (2009)
МТЗ-920.4/952.4 (2009)
МТЗ-922 (2008)
МТЗ-923 (2008)
ФР-00.010 (САЗ) (2015)
ФР-00700-Б (САЗ) (2015)
Схема
>
Не выбрано
Установка двигателя
Бак
Управление подачей топлива
Установка воздухоочистителя
Установка топливного фильтра
Установка бака системы SCR
Система подачи
Установка глушителя
Система подогрева бака
Блок охлаждения
Ограждение вентилятора
Установка охладителя
Установка сцепления 240-1005009-06
Корпус сцепления
Корпус сцепления
Корпус сцепления. Отводка.
Корпус сцепления (привод ВОМ, привод насоса гидросистемы навески)
Корпус сцепления. Привод ВОМ. (nдв=1800 об/мин)
Управление сцеплением
Цилиндр главный
Бачок
Цилиндр рабочий
Маркировка исполнения КП
Синхронизированный понижающий редуктор/ синхронизированный ускоритель
Управление синхронизированным редуктором/ускорителем
Синхронизированный реверс-редуктор
Управление синхронизированным реверс-редуктором
Корпус КП. Привод ПВМ
Вал первичный и Вал вторичный синхро-КП
Вал I передачи и заднего хода
Вал промежуточный. Вал внутренний
Механизм управления синхронизированной КП. Корпус вилок.
Механизм 2-х рычажного управления КП
Раздаточная коробка
Управление раздаточной коробкой
Карданный вал. Промежуточная опора карданного вала.
Ограждение карданного привода
Передний ведущий мост 822-2300020
Шестерня
Дифференциал
Редуктор конечной передачи переднего ведущего моста
Задний мост. Корпус заднего моста
Дифференциал. Главная передача. Стакан подшипников. Крышка стакана
Переключение BOM (независимый/синхронный)
Установка горловины заливной
Механизм блокировки дифференциала
Муфта блокировки дифференциала «мокрая»
Полурама
Тяга рулевая
Колеса передние ведущие
Колеса передние ведущие
Колеса передние ведущие
Колеса задние ведущие. Ступицы задних колес
Ступица колеса
Колонка рулевая
Кардан
Управление рулевое
Гидроцилиндр Ц63 (63x30-200)
Бак
Тормоза
Управление тормозами
Тормоз стояночно-запасной, управление стояночно-запасным тормозом
Тормоза рабочие «мокрого» типа
Управление СЗТ для тормозов рабочих «мокрого» типа
Пневмопривод 923-3506505-04/-05
Пневмопривод 922-3506705/-01
Баллон
Кран тормозной
Кран тормозной
Головка соединительная
Головка соединительная
Компрессор
Установка заглушки (для тракторов без пневмокомпрессора)
Электрооборудование двигателя
Электрооборудование трансмиссии
Электрооборудование кабины
Установка фар дорожных
Установка фар рабочих
Установка фонарей передних
Установка фонарей задних
Установка батарей аккумуляторных
Электрооборудование отопителя
Блок коммутации
Щиток приборов
Установка щитка приборов
Установка щитка приборов
Привод насоса
Механизм задней навески (с гидроподъемником)
Стяжка телескопическая
Гидросистема
Муфта быстросоединяемая
Бак масляный
Цилиндр гидроподъемника
Цилиндр гидроподъемника
Распределитель гидроподъемника
Управление гидроподъемником
Гидроподъемник
Гидрораспределитель РП70
Установка стеклоочистителя переднего
Установка стеклоочистителя заднего
Установка стеклоомывателя
Кабина
Кабина (крылья задние)
Кабина (облицовка)
Облицовка
Двери кабины
Сиденье оператора
Установка отопителя 921-8100005
Установка отопителя 921-8100005 (продолжение)
Установка вентилятора 921-8100005-01
Отопитель 921-8101700/ короб 921-8101700-01
Трасса шлангов отопителя 822-8101020
Трасса шлангов отопителя 822-8101020-01
Установка системы кондиционирования воздуха 822-8100005-02/-03
Установка конденсатора 1025-8112010
Компрессор кондиционера 950-8114010
Установка отопителя-охладителя 921-8101010/-01
Установка отопителя-охладителя 921-8101010/-01 (продолжение)
Зеркало внутреннее
Зеркало наружное
Козырек противосолнечный
Облицовка
Облицовка (продолжение)
Крылья передние
Крылья передние (для ПВМ 822-2300020-04 с короткими рукавами)
Подножка
Управление БД и ПВМ (922-8700310-Д)
Управление двигателем (922.5-8700910-Е)
Тягово-сцепное устройство
Тягово-сцепное устройство (варианты комплектации)
Балласт
Вал отбора мощности задний
Управление задним ВОМ, гидропривод управление АБД и ВОМ
Плита гидропривода
Инструмент оператора
Аптечка
Ящик инструментальный
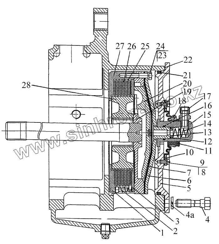
1
2
3
4
4а
5
6
7
8
9
10
11
12
13
14
15
16
17
18
19
20
21
22
23
24
25
26
27
28
Позиция на иллюстрации
Заводской номер детали
Название детали
80М-2409010
80М-2409010
Муфта блокировки
1221М-2409050-01
1221М-2409050-01
Переходник
1
80М-2409002
Палец
2
50-1702148-А
Пружина фиксатора
3
80М-2409028
Диск отжимной
80М-2409028-01
80М-2409028-01
Диск отжимной
80М-2409028-02
80М-2409028-02
Диск отжимной
80М-2409028-03
80М-2409028-03
Диск отжимной
80М-2409028-04
80М-2409028-04
Диск отжимной
80М-2409028-05
80М-2409028-05
Диск отжимной
80М-2409028-06
80М-2409028-06
Диск отжимной
4
1221М-3502039
Болт
4а
Шайба14.ОТ
Шайба
5
1221М-2409034-01
Крышка
6
70-2409030-Б
Крышка диафрагмы
7
70-2409021
Диафрагма
8
В.М6-6gх10.58.019
Винт
9
Шайба6Т
Шайба
10
80М-2409037
Кольцо
11
80М-2409036
Уплотнитель
12
70-2409033-Б
Кольцо
13
70-2409027-А
Втулка
14
54.06.448-А
Пружина
15
70-2409026-Б
Переходник
16
020-025-30-1-4
Кольцо
17
85-3407470
Штуцер
18
5000.05
Хомут
19
70-2409020-02
Вал блокировочный
20
80М-2409018
Диск нажимной
21
205-215-58-2-2
Кольцо
22
1221М-2409051
Прокладка
23
М8-6gх40.88.35.019
Болт
24
Шайба8Т
Шайба 8Т
25
80М-2409016
Диск промежуточный
26
2522-1802035-А
Диск ведущий
27
80М-2409015
Корпус муфты
28
80M-2409001
Ступица
Содержащиеся в справочниках-каталогах запасные части и детали не предлагаются к продаже, а носят исключительно информационный характер
Дополнительная информация
×
Название:
Номер:
Примечание: