Каталог запасных частей к технике: МТЗ 922.3 / 922.4. Балласт
1
2
2
2
3
4
5
6
7
8
9
10
11
11
12
12
13
14
14
14
15
15
16
16
16
17
18
18
18
19
20
21
22
22
22
22
22
22
22
23
24
25
26
27
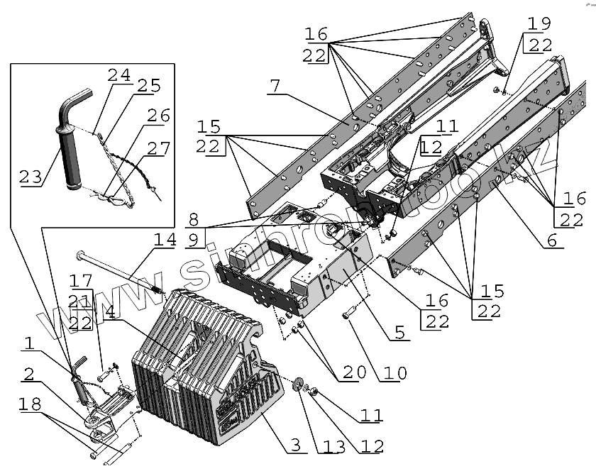
| Позиция на иллюстрации | Заводской номер детали | Название детали | |
|---|---|---|---|
| 923-4235010-07 | 923-4235010-07 | Балласт | |
| 923-4235010-06 | 923-4235010-06 | Балласт | |
| 923-4235010-11 | 923-4235010-11 | Балласт | |
| 1 | 70-4235030 | Шкворень | |
| 2 | 85-4235025-Б | Проушина | |
| 2 | 1025-4235018 | Проушина | |
| 3 | 80-4235011 | Груз | |
| 4 | 1521-4235011-A | Груз | |
| 5 | 923-4235016 | Кронштейн | |
| 6 | 822-4235028 | Полоса | |
| 7 | 822-4235028-01 | Полоса | |
| 8 | 50-4605027 | Штифт | |
| 9 | 54.38.619 | Кольцо | |
| 10 | 70-4605036-03 | Болт | |
| 11 | М20-6Н.6.019 | Гайка | |
| 12 | Шайба20.ОТ | Шайба | |
| 13 | 40-3502084 | Шайба | |
| 14 | 1025-4235015-01 | Струна | |
| 14 | 1025-4235014-02 | Струна | |
| 15 | М16-6gх32.88.35.019 | Болт | |
| 16 | М16-6gх40.88.35.019 | Болт | |
| 17 | М16-6gх45.88.35.019 | Болт | |
| 18 | 1025-4235012 | Болт | |
| 18 | М16-6gх70.88.35.019 | Болт | |
| 19 | М16-6Н.6.019 | Гайка | |
| 20 | М18-6Н.6.019 | Гайка | |
| 21 | С16.01.019 | Шайба | |
| 22 | Шайба16.ОТ | Шайба | |
| 23 | 50-4605079-Б | Шкворень | |
| 24 | Шплинт3,2х25.019 | Шплинт | |
| 25 | 70-4235035 | Цепочка | |
| 26 | А61.07.001 | Шплинт | |
| 27 | Кольцо011-015-25 | Кольцо |
Содержащиеся в справочниках-каталогах запасные части и детали не предлагаются к продаже, а носят исключительно информационный характер