Вернуться на главную
Поиск
Каталоги запчастей к технике
Сельхозтехника
МТЗ
80Х
Кран тормозной
Каталог запасных частей к технике: МТЗ 80Х. Кран тормозной
zoom-in
zoom-out
enlarge
shrink
circle-right
circle-left
file-text2
info
cart
Тип техники
Не выбрано
Легковые автомобили
Грузовые автомобили и прицепы
Автобусы
Сельхозтехника
Спецтехника
Двигатели
Мототехника
Марка
Не выбрано
AGCO
Amity
CASE IH
DongFeng
Fortschritt
Foton
Franz Kleine
Gaspardo
Great Plains
KRONE
KUHN
Lemken
Lovol
MacDon
Massey Ferguson
New Holland
TIGARBO
Vaderstad
Versatile
Wirax
Агро
Агротехмаш
Бобруйскагромаш (ОАО «УКХ «Бобруйскагромаш»)
БЭМЗ
ВгТЗ
Воронежсельмаш
ВТЗ
Гомсельмаш
ДКЗ
ЗАО "Техника-сервис"
ЗиД
КЗК
Кировец-Ландтехник
Клевер
Красная Звезда
Лидагропроммаш
Лидсельмаш
ЛТЗ
Машстройхолдинг
Минитракторы
Мордовагромаш
МТЗ
Навигатор-Новое машиностроение
Нефтекамский автозавод
ПТЗ
Ремком
РСМ
Сибсельмаш
ТеКЗ
ТКЗ
ХЗТСШ
ХТЗ
ЮМЗ
Модель
Не выбрано
1025.5 (2013)
1025/1025.2/1025.3 (2009)
1220 (2011)
1220.5 (2013)
1523.5 (2013)
1523.5 с ГМТ (2014)
2122.3/2122.4 (2015)
3022ДЦ.1 (2011)
320.4М (2019)
622 (2012)
800/900 (2003)
80Х (2012)
892 (2011)
922.3 / 922.4 (2013)
922.5 (2013)
923.4 (2014)
923.5 (2013)
92П (2010)
952.5 (2013)
БЕЛАРУС 1025.7 (2022)
БЕЛАРУС 1220.7 (2022)
БЕЛАРУС 1221.7 (2022)
БЕЛАРУС 2103 (2015)
БЕЛАРУС 320 (1998)
БЕЛАРУС 3522.5 (2013)
БЕЛАРУС 3525 (2019)
БЕЛАРУС 421 (2014)
БЕЛАРУС 451 (2023)
БЕЛАРУС 651 (2023)
БЕЛАРУС 923.7 (2022)
БЕЛАРУС 952.7 (2022)
Беларус-08Н (09Н) (2015)
Беларус-422.1 (2018)
КБ-00.000 (САЗ) (2015)
КМ-2 (САЗ) (2015)
МТЗ-082
МТЗ-100
МТЗ-1005 (2008)
МТЗ-1021.3 (2010)
МТЗ-1025.4 (2009)
МТЗ-112Н, 132Н (2010)
МТЗ-1221 (1997)
МТЗ-1221 (2009) (2009)
МТЗ-1221.4 (2009)
МТЗ-1221.4 (2009)
МТЗ-1221.5 (2013)
МТЗ-1222/1523 (2009)
МТЗ-1522 (2008)
МТЗ-1523
МТЗ-1523 (2013)
МТЗ-1523 (2008) (2008)
МТЗ-1523.4 (2010)
МТЗ-1523.6 (2018)
МТЗ-2022 (2010)
МТЗ-2103 (2010)
МТЗ-2522 (2010)
МТЗ-310, 320, 321 (2011)
МТЗ-3522 (2011)
МТЗ-510/512, 520/522 (2010)
МТЗ-570 (2010)
МТЗ-80 (1998)
МТЗ-80 (2002) (2002)
МТЗ-80 (2009) (2009)
МТЗ-80.1 (2015)
МТЗ-821/921 (2009)
МТЗ-822 (2008)
МТЗ-826 (2010)
МТЗ-90/92 (2008)
МТЗ-900
МТЗ-900/920/950/952 (2009)
МТЗ-920.4/952.4 (2009)
МТЗ-922 (2008)
МТЗ-923 (2008)
ФР-00.010 (САЗ) (2015)
ФР-00700-Б (САЗ) (2015)
Схема
>
Не выбрано
Установка двигателя
Баки топливные (металлические)
Баки (пластмассовые)
Управление подачей топлива
Установка воздухоочистителя (для тракторов «Беларус-100Х»)
Глушитель. Для тракторов «Беларус-100Х»
Глушитель. Для тракторов «Беларус-80Х/80Х.1»
Блок охлаждения (для тракторов «Беларус - 80Х/80Х.1»)
Блок охлаждения (для тракторов «Беларус-100Х»)
Шторка
Установка сцепления 240-1005009-03 (без поз.27а: 240-1005009)
Установка сцепления 240-1005009-06
Корпус сцепления
Корпус сцепления. Отводка.
Корпус сцепления (привод ВОМ, привод насоса гидросистемы навески)
Корпус сцепления. Привод ВОМ. (nдв=2200 об/мин)
Управление сцеплением
Механический понижающий редуктор
Управление механическим редуктором
Коробка передач. Корпус коробки передач
Вал первичный. Вал вторичный
Вал внутренний. Вал промежуточный
Вал первой передачи и заднего хода
Редуктор
Коробка передач с рычагом переключения по центру
Ходоувеличитель
Корпус заднего моста. Конечная передача
Механизм блокировки дифференциала
Редуктор бортовой
Проставка
Полурама
Ось передняя и тяга рулевая
Ось передняя (для тракторов «Беларус-80Х.1/100Х»)
Установка переднего колеса
Колесо переднее направляющее
Колеса передние направляющие. Ступицы передних колес
Колеса задние ведущие
Колонка рулевая
Механизм поворота
Арматура рулевого управления (для тракторов «Беларус-80Х/80Х.1»)
Арматура рулевого управления (для тракторов «Беларус-100Х»)
Тормоза. Управление тормозами
Тормоз стояночный. Управление стояночным тормозом
Трубопроводы и арматура однопроводного пневмопривода тормозов прицепа (80-3506005-05).
Трубопроводы и арматура однопроводного пневмопривода тормозов прицепа (80-3506005-09).
Баллон
Трубопроводы и арматура однопроводного пневмопривода тормозов прицепа (100Х-3506005)
Баллон
Кран тормозной
Электрооборудование двигателя
Электрооборудование трансмиссии
Электрооборудование кабины
Установка фар дорожных
Установка фар рабочих
Установка фонарей передних
Установка фонарей задних
Установка батарей аккумуляторных (система запуска 12В)
Электрооборудование отопителя
Установка стеклоочистителя
Установка стеклоомывателя
Щиток приборов в развернутом виде
Инструмент оператора
Аптечка
Ящик инструментальный
Вал отбора мощности задний
Вал отбора мощности боковой
Управление задним валом отбора мощности
Механизм задней навески
Гидросистема Р90-4600010-03
Корпус гидросистемы Р85-4600015-04
Гидросистема 80-4600010-04
Корпус гидросистемы 80-4600015-04
Корпус гидросистемы и фильтр
Гидрораспределитель РП70-890
Управление гидрораспределителем РП70
Гидрораспределитель Р80
Управление гидрораспределителем Р80
Привод насоса
Муфта быстросоединяемая
Механизм фиксации
Кабина трактора. Крылья задние
Крыша
Установка крыши
Пол кабины
Двери кабины
Сиденье оператора
Сиденье оператора
Подвеска сиденья
Сиденье дополнительное
Отопитель
Зеркало заднего вида внутреннее
Зеркало заднего вида боковое
Козырек противосолнечный
Облицовка
Крылья передние
Подножка
Подножка специальная
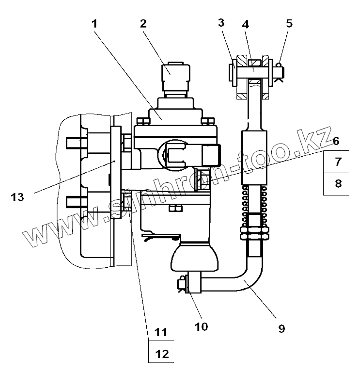
1
1
1
2
3
4
5
6
7
8
9
10
11
12
13
Позиция на иллюстрации
Заводской номер детали
Название детали
1021-3514010
1021-3514010
Кран тормозной
1
А29.351.4010
Кран тормозной
1
80-3514010
Кран тормозной
2
1522-3514033
Угольник
3
С12.01.019
Шайба
4
Палец12х48
Палец
5
Шплинт3,2х18.019
Шплинт
6
М10-6gх70.88.35.019
Болт
7
Шайба10.ОТ
Шайба
8
С10.01.019
Шайба
9
80-3514130
Тяга
10
С8.01.019
Шайба
11
М10-6gх40.88.35.019
Болт
12
Шайба10.ОТ
Шайба
13
80М-3514109
Кронштейн
Содержащиеся в справочниках-каталогах запасные части и детали не предлагаются к продаже, а носят исключительно информационный характер
Дополнительная информация
×
Название:
Номер:
Примечание: