Каталог запасных частей к технике: МТЗ 80Х. Корпус гидросистемы 80-4600015-04
1
2
2
2
2
2
2
2
2
3
3
3
4
5
6
7
8
8
8
9
9
9
9
9
9
10
11
12
13
14
15
19
20
21
22
26
27
27
28
29
29
29
29
29
29
29
29
29
30
30
31
32
33
34
35
35
37
37
37
38
39
40
41
42
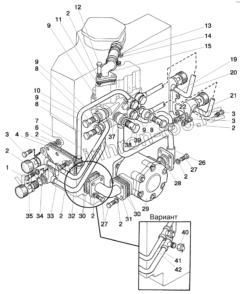
| Позиция на иллюстрации | Заводской номер детали | Название детали | |
|---|---|---|---|
| М036.50Б.10 | М036.50Б.10 | Корпус левый | |
| 80-4600015-04 | 80-4600015-04 | Корпус гидросистемы | |
| 1 | М8-6gх35.88.35.019 | Болт | |
| 2 | Шайба8Т | Шайба 8Т | |
| 3 | М8-6gх30.88.35.019 | Болт | |
| 4 | 80-4608019-01 | Крышка | |
| 5 | 70-4608033 | Прокладка | |
| 6 | М8-6Н.6.019 | Гайка | |
| 7 | 80Х-4607120 | Труба | |
| 8 | 40-4607032 | Болт | |
| 9 | 40-4607038-А | Шайба | |
| 9 | РМ1,2 | Шайба | |
| 10 | 80-4607165 | Труба | |
| 11 | 40-4607018 | Прокладка | |
| 12 | М8-6gх110.88.35.019 | Болт | |
| 13 | Хомут25-40 | Хомут | |
| 14 | 85-4607063 | Шланг | |
| 15 | 85-4607425 | Угольник | |
| 19 | 80-4607119 | Кронштейн | |
| 20 | 80-4607110 | Труба | |
| 21 | 80-4607115-Б | Труба | |
| 22 | 80-4607175 | Труба | |
| 26 | 80-4607075-Б | Труба | |
| 27 | М8-6gх25.88.35.019 | Болт | |
| 28 | 035-040-30-1-4 | Кольцо | |
| 29 | НШ32МА-3 | Насос | |
| 29 | НШ32УКФ-3 | Насос шестеренный | |
| 29 | НШ32Д-3 | Насос шестеренный | |
| 29 | НШ32М-3 | Насос | |
| 29 | НШ32УВ-3 | Насос | |
| 30 | 50-4607097 | Прокладка | |
| 31 | 50-4607096-А | Патрубок | |
| 32 | 80Х-4607130 | Труба | |
| 33 | М8-6gх20.88.35.019 | Болт | |
| 34 | 017-022-30-1-4 | Кольцо | |
| 35 | НР10-3МХ0041А0 | Муфта | |
| 36 | 50-4607039-А | Колпак | |
| 37 | 40-4607033-А | Шайба | |
| 37 | РМ24 | Шайба | |
| 38 | 40-4607037 | Болт | |
| 39 | Р80-3,1-222-ЗГг | Распределитель | |
| 40 | Н.036.12.010 | Заглушка | |
| 41 | 80-4607130-Б | Трубопровод | |
| 42 | 80-4607120-Б | Трубопровод |
Содержащиеся в справочниках-каталогах запасные части и детали не предлагаются к продаже, а носят исключительно информационный характер