Вернуться на главную
Поиск
Каталоги запчастей к технике
Сельхозтехника
МТЗ
622
Установка двигателя
Каталог запасных частей к технике: МТЗ 622. Установка двигателя
zoom-in
zoom-out
enlarge
shrink
circle-right
circle-left
file-text2
info
cart
Тип техники
Не выбрано
Легковые автомобили
Грузовые автомобили и прицепы
Автобусы
Сельхозтехника
Спецтехника
Двигатели
Мототехника
Марка
Не выбрано
AGCO
Amity
CASE IH
DongFeng
Fortschritt
Foton
Franz Kleine
Gaspardo
Great Plains
KRONE
KUHN
Lemken
Lovol
MacDon
Massey Ferguson
New Holland
TIGARBO
Vaderstad
Versatile
Wirax
Агро
Агротехмаш
Бобруйскагромаш (ОАО «УКХ «Бобруйскагромаш»)
БЭМЗ
ВгТЗ
Воронежсельмаш
ВТЗ
Гомсельмаш
ДКЗ
ЗАО "Техника-сервис"
ЗиД
КЗК
Кировец-Ландтехник
Клевер
Красная Звезда
Лидагропроммаш
Лидсельмаш
ЛТЗ
Машстройхолдинг
Минитракторы
Мордовагромаш
МТЗ
Навигатор-Новое машиностроение
Нефтекамский автозавод
ПТЗ
Ремком
РСМ
Сибсельмаш
ТеКЗ
ТКЗ
ХЗТСШ
ХТЗ
ЮМЗ
Модель
Не выбрано
1025.5 (2013)
1025/1025.2/1025.3 (2009)
1220 (2011)
1220.5 (2013)
1523.5 (2013)
1523.5 с ГМТ (2014)
2122.3/2122.4 (2015)
3022ДЦ.1 (2011)
320.4М (2019)
622 (2012)
800/900 (2003)
80Х (2012)
892 (2011)
922.3 / 922.4 (2013)
922.5 (2013)
923.4 (2014)
923.5 (2013)
92П (2010)
952.5 (2013)
БЕЛАРУС 1025.7 (2022)
БЕЛАРУС 1220.7 (2022)
БЕЛАРУС 1221.7 (2022)
БЕЛАРУС 2103 (2015)
БЕЛАРУС 320 (1998)
БЕЛАРУС 3522.5 (2013)
БЕЛАРУС 3525 (2019)
БЕЛАРУС 421 (2014)
БЕЛАРУС 451 (2023)
БЕЛАРУС 651 (2023)
БЕЛАРУС 923.7 (2022)
БЕЛАРУС 952.7 (2022)
Беларус-08Н (09Н) (2015)
Беларус-422.1 (2018)
КБ-00.000 (САЗ) (2015)
КМ-2 (САЗ) (2015)
МТЗ-082
МТЗ-100
МТЗ-1005 (2008)
МТЗ-1021.3 (2010)
МТЗ-1025.4 (2009)
МТЗ-112Н, 132Н (2010)
МТЗ-1221 (1997)
МТЗ-1221 (2009) (2009)
МТЗ-1221.4 (2009)
МТЗ-1221.4 (2009)
МТЗ-1221.5 (2013)
МТЗ-1222/1523 (2009)
МТЗ-1522 (2008)
МТЗ-1523
МТЗ-1523 (2013)
МТЗ-1523 (2008) (2008)
МТЗ-1523.4 (2010)
МТЗ-1523.6 (2018)
МТЗ-2022 (2010)
МТЗ-2103 (2010)
МТЗ-2522 (2010)
МТЗ-310, 320, 321 (2011)
МТЗ-3522 (2011)
МТЗ-510/512, 520/522 (2010)
МТЗ-570 (2010)
МТЗ-80 (1998)
МТЗ-80 (2002) (2002)
МТЗ-80 (2009) (2009)
МТЗ-80.1 (2015)
МТЗ-821/921 (2009)
МТЗ-822 (2008)
МТЗ-826 (2010)
МТЗ-90/92 (2008)
МТЗ-900
МТЗ-900/920/950/952 (2009)
МТЗ-920.4/952.4 (2009)
МТЗ-922 (2008)
МТЗ-923 (2008)
ФР-00.010 (САЗ) (2015)
ФР-00700-Б (САЗ) (2015)
Схема
>
Не выбрано
Кабина
Двери кабины
Стекла кабины
Основание кабины
Крепление кабины
Сиденье оператора
Трасса шлангов отопителя
Система вентиляции и отопления
Облицовка
Облицовка
Крылья передних колес
Крылья передних колес
Подножка
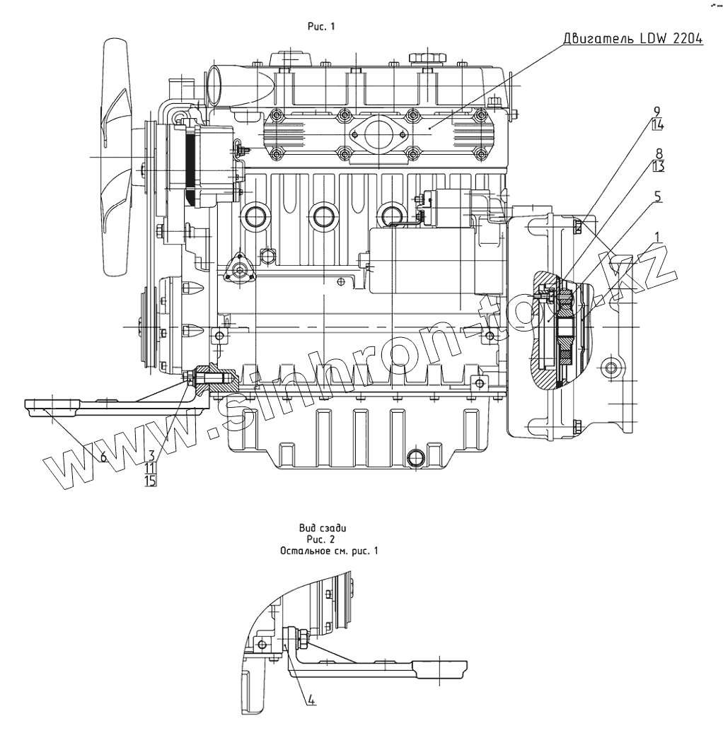
Установка двигателя
Баки топливные
Управление подачей топлива
Установка воздухоочистителя
Установка глушителя
Ограждение вентилятора
Блок охлаждения
Трансмиссия 622-0002010
Трансмиссия 622-0002010
Сцепление
Управление сцеплением
Коробка передач
Вал первичный. Вал II промежуточный
Вал I промежуточный. Вал вторичный
Привод насоса. Привод ВОМ
Механизм управления коробкой передач
Управление коробкой передач
Привод карданный
Передний ведущий мост
Муфта обгонная
Дифференциал
Редуктор конечной передачи переднего ведущего
Управление принудительного включения переднего моста
Задний мост
Стакан
Дифференциал
Передача конечная
Управление блокировкой дифференциала
Полурама в сборе
Буксир передний
Тяги рулевые
Колеса передние ведущие
Колёса задние ведущие
Колонка рулевая
Кардан
Рулевое управление
Тормоза. Управление тормозами
Управление стояночным тормозом
Пневмопривод 422-3506705-01
Кран тормозной
Головка соединительная
Регулятор давления
Установка компрессора
Электрооборудование двигателя
Электрооборудование кабины
Электрооборудование крыши
Установка батареи аккумуляторной
Установка фонарей передних
Установка фонарей задних
Установка фар дорожных 422.1-3700020
Установка фар дорожных 322-3700020
Установка фар рабочих
Установка стеклоомывателя
Установка стеклоочистителя
Щиток приборов
Установка щитка приборов
Задний ВОМ
Привод заднего ВОМ
Управление ВОМ
Ограждение заднего ВОМ
Вал отбора мощности передний
Балласт
Устройство навесное заднее
Устройство навесное переднее
Механизм передней навески 220-4606020-А-01/-02
Гидроагрегаты и арматура
Бак
Управление гидроподъемником
Гидроподъемник
Тягово-сцепное устройство (лифтовое с вилкой)
Тягово-сцепное устройство. Вариант «маятник»
Тягово-сцепное устройство. Вариант «крюк»
422-1001001
422-1001001-01
1
2
3
4
6
8
9
11
13
14
15
Позиция на иллюстрации
Заводской номер детали
Название детали
422-1001001
422-1001001
Установка двигателя
422-1001001-01
422-1001001-01
Установка двигателя
1
422-1005009
Установка сцепления
2
325-1005010
Фланец
3
320-1001002
Болт
4
320-1001003
Втулка
6
622-1301011
Опора
8
М8-6gx30.56.019
Винт
9
М10-6gx45.109.40Х.019
Болт
11
С16.01.019
Шайба
13
8Т
Шайба
14
10.ОТ
Шайба
15
16.ОТ
Шайба
Содержащиеся в справочниках-каталогах запасные части и детали не предлагаются к продаже, а носят исключительно информационный характер
Дополнительная информация
×
Название:
Номер:
Примечание: