Вернуться на главную
Поиск
Каталоги запчастей к технике
Сельхозтехника
МТЗ
320.4М
Тракт воздухопроводящий
Каталог запасных частей к технике: МТЗ 320.4М. Тракт воздухопроводящий
zoom-in
zoom-out
enlarge
shrink
circle-right
circle-left
file-text2
info
cart
Тип техники
Не выбрано
Легковые автомобили
Грузовые автомобили и прицепы
Автобусы
Сельхозтехника
Спецтехника
Двигатели
Мототехника
Марка
Не выбрано
AGCO
Amity
CASE IH
DongFeng
Fortschritt
Foton
Franz Kleine
Gaspardo
Great Plains
KRONE
KUHN
Lemken
Lovol
MacDon
Massey Ferguson
New Holland
TIGARBO
Vaderstad
Versatile
Wirax
Агро
Агротехмаш
Бобруйскагромаш (ОАО «УКХ «Бобруйскагромаш»)
БЭМЗ
ВгТЗ
Воронежсельмаш
ВТЗ
Гомсельмаш
ДКЗ
ЗАО "Техника-сервис"
ЗиД
КЗК
Кировец-Ландтехник
Клевер
Красная Звезда
Лидагропроммаш
Лидсельмаш
ЛТЗ
Машстройхолдинг
Минитракторы
Мордовагромаш
МТЗ
Навигатор-Новое машиностроение
Нефтекамский автозавод
ПТЗ
Ремком
РСМ
Сибсельмаш
ТеКЗ
ТКЗ
ХЗТСШ
ХТЗ
ЮМЗ
Модель
Не выбрано
1025.5 (2013)
1025/1025.2/1025.3 (2009)
1220 (2011)
1220.5 (2013)
1523.5 (2013)
1523.5 с ГМТ (2014)
2122.3/2122.4 (2015)
3022ДЦ.1 (2011)
320.4М (2019)
622 (2012)
800/900 (2003)
80Х (2012)
892 (2011)
922.3 / 922.4 (2013)
922.5 (2013)
923.4 (2014)
923.5 (2013)
92П (2010)
952.5 (2013)
БЕЛАРУС 1025.7 (2022)
БЕЛАРУС 1220.7 (2022)
БЕЛАРУС 1221.7 (2022)
БЕЛАРУС 2103 (2015)
БЕЛАРУС 320 (1998)
БЕЛАРУС 3522.5 (2013)
БЕЛАРУС 3525 (2019)
БЕЛАРУС 421 (2014)
БЕЛАРУС 451 (2023)
БЕЛАРУС 651 (2023)
БЕЛАРУС 923.7 (2022)
БЕЛАРУС 952.7 (2022)
Беларус-08Н (09Н) (2015)
Беларус-422.1 (2018)
КБ-00.000 (САЗ) (2015)
КМ-2 (САЗ) (2015)
МТЗ-082
МТЗ-100
МТЗ-1005 (2008)
МТЗ-1021.3 (2010)
МТЗ-1025.4 (2009)
МТЗ-112Н, 132Н (2010)
МТЗ-1221 (1997)
МТЗ-1221 (2009) (2009)
МТЗ-1221.4 (2009)
МТЗ-1221.4 (2009)
МТЗ-1221.5 (2013)
МТЗ-1222/1523 (2009)
МТЗ-1522 (2008)
МТЗ-1523
МТЗ-1523 (2013)
МТЗ-1523 (2008) (2008)
МТЗ-1523.4 (2010)
МТЗ-1523.6 (2018)
МТЗ-2022 (2010)
МТЗ-2103 (2010)
МТЗ-2522 (2010)
МТЗ-310, 320, 321 (2011)
МТЗ-3522 (2011)
МТЗ-510/512, 520/522 (2010)
МТЗ-570 (2010)
МТЗ-80 (1998)
МТЗ-80 (2002) (2002)
МТЗ-80 (2009) (2009)
МТЗ-80.1 (2015)
МТЗ-821/921 (2009)
МТЗ-822 (2008)
МТЗ-826 (2010)
МТЗ-90/92 (2008)
МТЗ-900
МТЗ-900/920/950/952 (2009)
МТЗ-920.4/952.4 (2009)
МТЗ-922 (2008)
МТЗ-923 (2008)
ФР-00.010 (САЗ) (2015)
ФР-00700-Б (САЗ) (2015)
Схема
>
Не выбрано
Установка двигателя
Бак топливный
Управление подачей топлива
Тракт воздухопроводящий
Глушитель
Радиатор водяной
Сцепление
Управление сцеплением
Коробка передач
Вал первичный. Вал I промежуточный
Вал промежуточный II. Вал выходной
Вал привода ВОМ
Механизм управления коробкой передач
Привод карданный
Передний ведущий мост. Корпус и рукава переднего ведущего моста
Дифференциал, главная передача переднего ведущего моста
Редуктор конечной передачи переднего ведущего
Корпус заднего моста
Дифференциал
Конечная передача
Управление блокировкой дифференциала
Тягово-сцепное устройство ТСУ-1М
Тягово-сцепное устройство ТСУ-1М
Полурама в сборе
Буксир передний
Балласт
Тяги рулевые
Колеса передние ведущие
Колеса задние ведущие
Управление рулевое гидрообъемное
Колонка рулевая
Цилиндр Ц40х160
Тормоза. Управление тормозами
Тормоз стояночно-запасной. Управление стояночно-запасным тормозом.
Установка пневмопривода
Установка регулятора давления
Установка баллона
Установка крана тормозного
Установка головки соединительной
Электрооборудование двигателя
Электрооборудование кабины
Электрооборудование крыши. Установка маяка сигнального.
Установка фонарей передних
Установка фонарей задних
Электрооборудование отопителя
Установка стеклоочистителей
Установка омывателя
Щиток приборов (для тракторов, выпущенных до 01.2011г.)
Щиток приборов (для тракторов, выпущенных после 01.2011г.)
Инструмент оператора (по заказу)
Аптечка (по заказу)
Вал отбора мощности задний
Управление задним валом отбора мощности
Вал отбора мощности передний
Механизм задней навески
Механизм передней навески
Гидроагрегаты и арматура
Бак масляный
Гидроцилиндр Ц50х120
Привод насоса
Кабина
Кабина. Установка панелей
Двери кабины
Сиденье оператора 80-6800010/80-6800010-01
Сиденье оператора 80В-6804000
Подвеска сиденья
Сиденье оператора GT500 M2-0 (по заказу)
Система отопления и вентиляции
Зеркало наружное
Козырек противосолнечный
Облицовка
Крылья передних колес
Крылья передних колес
Подножка
1
3
4
4
5
5
6
7
8
8
9
10
11
11
11
12
13
14
15
Позиция на иллюстрации
Заводской номер детали
Название детали
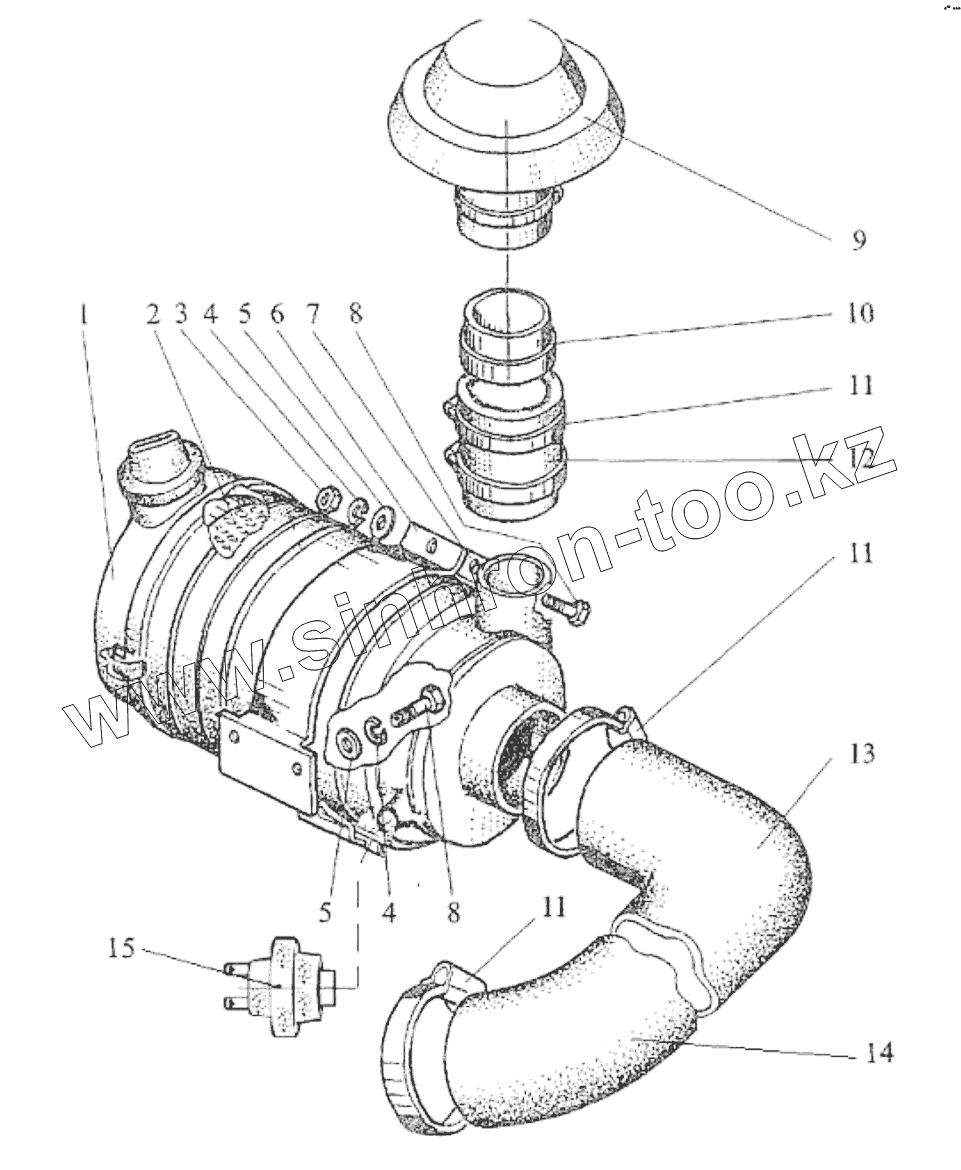
320.4М-1109150
320.4М-1109150
Установка воздухоочистителя
1
3700.299
Фильтр воздушный
3
М8-6Н.6.019
Гайка
4
Шайба8Т65Г019
Шайба
5
ШайбаС8.01.019
Шайба
6
320-1109301
Кронштейн
7
320-1109305
Кронштейн
8
М8-6gх20.88.35.019
Болт
9
2136.053
Защитный колпак
10
320-1109001
Труба
11
50-70/9-C6W
Хомут NORMA TORRO
12
1220-1303004-01
Шланг
13
3LD-1008037
Патрубок
14
320.4М-1109141
Воздуховод
15
REX77-0062
Датчик засорённости воздуха REX 77-0062
Содержащиеся в справочниках-каталогах запасные части и детали не предлагаются к продаже, а носят исключительно информационный характер
Дополнительная информация
×
Название:
Номер:
Примечание: