Каталог запасных частей к технике: МТЗ 320.4М. Двери кабины
1
2
3
3
4
4
5
6
7
8
9
9
10
11
11
11
11
11
12
12
13
14
15
16
17
17
18
18
19
19
20
20
20
21
22
23
24
25
26
27
28
29
30
31
32
33
33
33
34
35
35
35
36
37
38
39
40
41
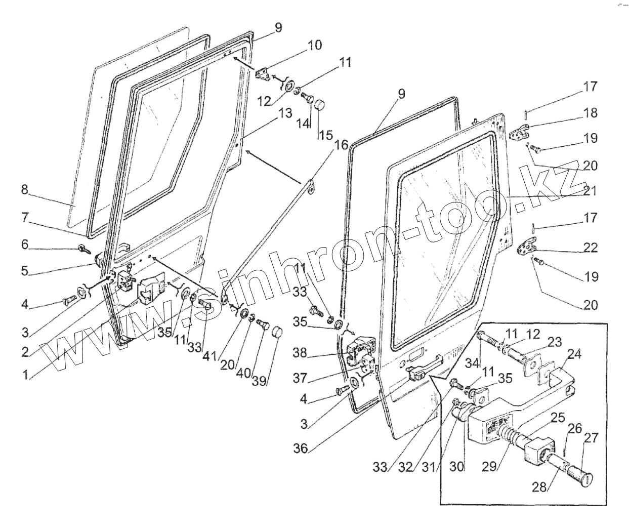
| Позиция на иллюстрации | Заводской номер детали | Название детали | |
|---|---|---|---|
| 220-6708010-01 | 220-6708010-01 | Дверь правая | |
| 220-6708010-Б | 220-6708010-Б | Дверь левая | |
| 1 | 80-6708812-01 | Крышка | |
| 2 | 80-6105050-01 | Замок | |
| 3 | С8.01.019 | Шайба | |
| 4 | В.М8-6gх25.58.019 | Винт | |
| 5 | 80-6105330-A1 | Ручка | |
| 6 | 80-6105331-Б | Толкатель | |
| 7 | 80-6700023-04 | Уплотнитель | |
| 8 | 220-6708013 | Стекло | |
| 9 | 80-6700021 | Профиль, L=3880 мм | |
| 10 | 80-6708225 | Кронштейн | |
| 11 | Шайба6Т | Шайба | |
| 12 | С6.01.019 | Шайба | |
| 13 | 220-6708020-01 | Дверь | |
| 14 | М6-6gх20.88.35.019 | Болт | |
| 15 | A37.04.017 | Колпачок | |
| 16 | 220-6708015 | Поручень | |
| 17 | 70-6708189 | Ось | |
| 18 | 220-6708011 | Петля | |
| 18 | 220-6708011-01 | Петля | |
| 19 | М8-6gх25.88.35.019 | Болт | |
| 20 | Шайба8Т | Шайба 8Т | |
| 21 | 220-6708020-Б | Дверь | |
| 22 | 220-6708012 | Петля | |
| 23 | 80-6708813 | Втулка | |
| 24 | 80-6105305 | Ручка | |
| 25 | 80-6105301-Б | Кнопка | |
| 26 | Ролик2х11,8В3 | Ролик | |
| 27 | 945.025.11.01.00 | Механизм цилиндровый | |
| 28 | 80-6105304-Б1 | Втулка | |
| 29 | 80-6105302 | Пружина | |
| 30 | 80-6105303 | Толкатель | |
| 31 | С4.01.019 | Шайба | |
| 32 | 4х10.019 | Шуруп | |
| 33 | В.М6-6gх16.58.019 | Винт | |
| 34 | В.М6-6gх45.58.019 | Винт | |
| 35 | С6.01.019 | Шайба | |
| 36 | 80-6105300-A1 | Ручка | |
| 37 | 80-6105050 | Замок | |
| 38 | 80-6708812 | Крышка | |
| 39 | A37.04.017-01 | Колпачок | |
| 40 | М8-6gх20.88.35.019 | Болт | |
| 41 | С8.01.019 | Шайба |
Содержащиеся в справочниках-каталогах запасные части и детали не предлагаются к продаже, а носят исключительно информационный характер