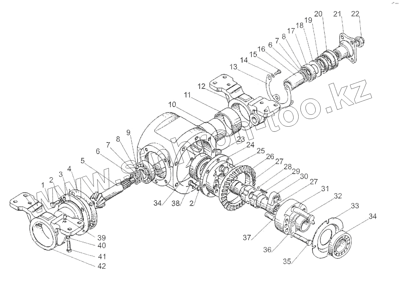
Каталог запасных частей к технике: МТЗ 320.4М. Дифференциал, главная передача переднего ведущего моста
1
2
2
3
4
5
6
6
7
7
8
8
9
10
11
12
13
14
15
16
17
18
19
20
21
22
23
24
25
26
27
27
28
29
30
31
32
33
34
34
35
36
37
38
39
40
41
42
| Позиция на иллюстрации | Заводской номер детали | Название детали | |
|---|---|---|---|
| 220-2303030 | 220-2303030 | Дифференциал | |
| 1 | М10-6gх25.88.35.019 | Болт | |
| 2 | Шайба10.ОТ | Шайба | |
| 3 | 220-2301037 | Фланец | |
| 4 | 220-2301039 | Прокладка | |
| 5 | 320-2402050-01 | Шестерня ведущая и ведомая в комплекте | |
| 5 | 320-2402017-01 | Вал-шестерня | |
| 6 | 320-2402027 | Прокладка | |
| 7 | 320-2402027-01 | Прокладка | |
| 8 | 320-2402027-02 | Прокладка | |
| 9 | 7306А | Подшипник | |
| 10 | 220-2301001 | Корпус | |
| 11 | 220-2800022 | Втулка | |
| 12 | 587.220-2800130 | Кронштейн | |
| 12 | 220-2800131 | Кронштейн | |
| 13 | 220-2302061 | Кронштейн | |
| 14 | Шайба8Т | Шайба 8Т | |
| 15 | М8-6gх16.88.35.019 | Болт | |
| 16 | 220-2402024 | Втулка | |
| 17 | 7206А | Подшипник | |
| 18 | 320-2402029 | Кольцо | |
| 19 | 2.2-38х58-1 | Манжета | |
| 20 | 52-2302017-A | Обойма | |
| 20 | 52-2302025-А | Обойма с манжетой в сборе | |
| 21 | 220-2302001 | Фланец | |
| 22 | 320-2402028 | Гайка | |
| 23 | 2-кг3/8dmСЧ15.М6 | Пробка | |
| 24 | 220-2303031 | Фланец | |
| 25 | 220-2303038 | Заглушка | |
| 26 | 320-2402060-01 | Колесо зубчатое | |
| 27 | 220-2303036-Б | Муфта дифференциала | |
| 28 | 7,938-100 | Шарик | |
| 29 | 86-1803072 | Пружина | |
| 30 | 220-2303034 | Собачка | |
| 31 | 220-2303032 | Фланец | |
| 32 | 220-2303033 | Эксцентрик | |
| 33 | 220-2303037 | Диск | |
| 34 | 7510А | Подшипник | |
| 35 | М12-6gх65.88.35.019 | Болт | |
| 36 | 220-2303039 | Шайба | |
| 37 | 50-1601352 | Штифт | |
| 38 | 430027-01 | Болт М10х1х25 | |
| 39 | 2.10х25 | Штифт | |
| 40 | М12-6gх40.88.35.019 | Болт ГОСТ 7796-70 | |
| 41 | Шайба12.ОТ | Шайба | |
| 42 | 220-2800120 | Кронштейн |
Содержащиеся в справочниках-каталогах запасные части и детали не предлагаются к продаже, а носят исключительно информационный характер