Каталог запасных частей к технике: МТЗ 2122.3/2122.4. Тягово-сцепное устройство
1
2
2
3
4
5
5
5
6
7
8
9
10
10
11
12
13
14
15
17
17
18
18
19
19
20
21
21
21
21
22
22
22
23
24
25
25
26
27
28
29
31
32
32
33
34
34
34
34
34
35
36
37
38
39
40
41
42
43
44
44
44
45
45
46
47
48
49
51
52
53
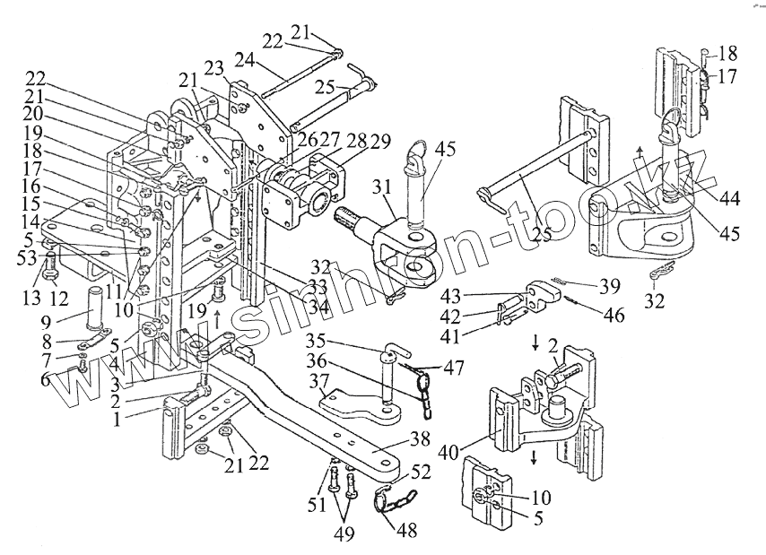
| Позиция на иллюстрации | Заводской номер детали | Название детали | |
|---|---|---|---|
| 2022-2707060 | 2022-2707060 | Кронштейн | |
| 2022-2707010 | 2022-2707010 | Тягово-сцепное устройство | |
| 2022-2707150 | 2022-2707150 | Тяга | |
| 1322-2707160 | 1322-2707160 | Пистон | |
| 1321-2707050-Б | 1321-2707050-Б | Вилка | |
| 1 | 1322-2707130 | Поперечина | |
| 2 | 1322-2707133 | Болт | |
| 3 | 1322-2707120-Б | Скоба | |
| 4 | 2022-2707062 | Направляющая | |
| 5 | ГайкаМ20х1,5-6Н.04.019 | Гайка | |
| 6 | БолтМ10-6gх20.88.35.019 | Болт | |
| 7 | Шайба10.ОТ | Шайба | |
| 8 | 1522-2707126 | Пластина | |
| 9 | 1522-2707127 | Ось | |
| 10 | Шайба20.ОТ | Шайба | |
| 11 | 1522-2707020-Б | Плита | |
| 12 | 1321-2707014 | Болт | |
| 13 | 1222-2707137 | Пластина | |
| 14 | 1522-2707061-Б | Кронштейн | |
| 15 | 70-4605036 | Болт | |
| 17 | A61.05.004 | Кольцо | |
| 18 | A61.05.005 | Чека | |
| 19 | 680-2707024 | Болт | |
| 20 | 1321-2707070-Б | Пластина | |
| 21 | ГайкаМ16-6Н.6.019 | Гайка | |
| 22 | Шайба16.ОТ | Шайба | |
| 23 | 1321-2707070-01 | Пластина | |
| 24 | 1522-2707244 | Стяжка | |
| 25 | 1321-2707030 | Палец | |
| 26 | Шплинт6,3x63 | Шплинт | |
| 27 | 1522-2707243 | Гайка | |
| 28 | 1522-2707242 | Шайба | |
| 29 | 1321-2707051-Б | Кронштейн | |
| 31 | 1321-2707052 | Вилка | |
| 32 | 1321-2707042 | Шплинт | |
| 33 | 2022-2707062-01 | Направляющая | |
| 34 | 1522-2707135 | Пластина | |
| 34 | 1522-2707135-01 | Пластина | |
| 34 | 1522-2707135-02 | Пластина | |
| 35 | 2522-2707079-Б-01 | Шкворень | |
| 36 | 70-4235035 | Цепочка | |
| 37 | 1523-2707145 | Накладка | |
| 38 | 2022-2707144 | Тяга | |
| 39 | А.61.07.001 | Шплинт | |
| 40 | 1322-2707165 | Плита с пистоном | |
| 41 | 1322-2707162-01 | Палец | |
| 42 | 1322-2707180 | Палец | |
| 43 | 1322-2707161 | Упор | |
| 44 | 1321-2707111-А | Вилка | |
| 44 | 1321-2707113-А | Вилка | |
| 45 | 1321-2707140-Б | Шкворень | |
| 46 | Шплинт4x36 | Шплинт | |
| 47 | 3,2х25 | Шплинт | |
| 48 | H50-4202146 | Кольцо | |
| 49 | 80-2707149-Б-01 | Болт | |
| 51 | 1523-2707146 | Шайба | |
| 52 | 80-2707180 | Чека | |
| 53 | 1522-2707149-01 | Болт |
Содержащиеся в справочниках-каталогах запасные части и детали не предлагаются к продаже, а носят исключительно информационный характер