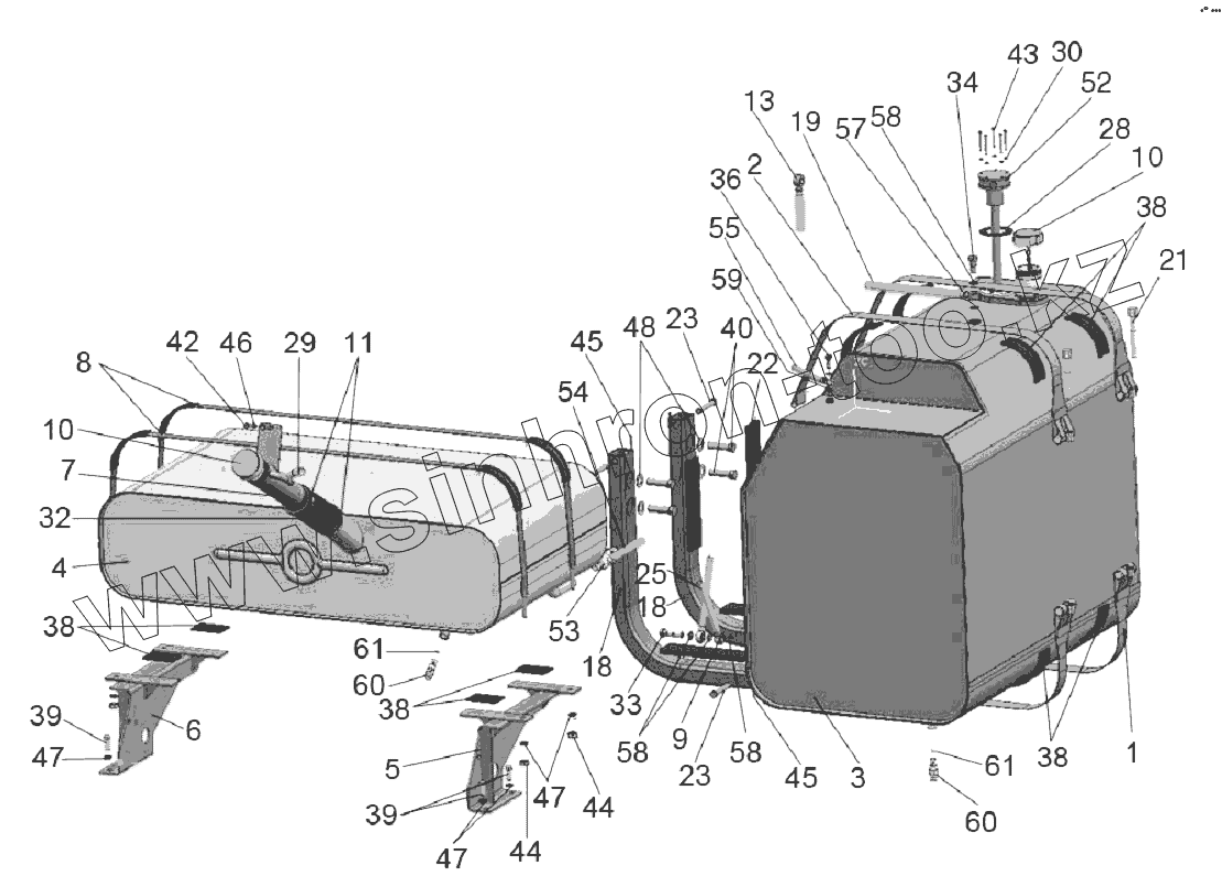
Каталог запасных частей к технике: МТЗ 2122.3/2122.4. Топливный бак
1
2
3
4
5
6
7
8
9
10
10
11
13
18
18
19
21
22
23
23
25
28
29
30
32
33
34
36
36
38
38
38
38
39
39
40
42
43
44
44
45
45
46
47
47
47
48
52
52
53
54
55
57
58
58
58
59
60
60
61
61
| Позиция на иллюстрации | Заводской номер детали | Название детали | |
|---|---|---|---|
| 2422-1101000-01 | 2422-1101000-01 | Топливный бак | |
| 2422-1101000 | 2422-1101000 | Топливный бак | |
| 1 | 2422-1101140 | Лента | |
| 2 | 2422-1101140-01 | Лента | |
| 3 | 2422-1101210 | Бак | |
| 4 | 2422-1101210-02 | Бак | |
| 5 | 2022-1101070 | Кронштейн | |
| 6 | 2022-1101070-01 | Кронштейн | |
| 7 | 1522-1101060 | Горловина | |
| 8 | 1522-1101090-01 | Хомут | |
| 9 | Ф80-3407720 | Маслопровод | |
| 10 | 082-1103010 | Пробка | |
| 11 | ХС-66 | Хомут | |
| 12 | 3522-1101310 | Угольник | |
| 13 | 1221-1101495 | Угольник | |
| 18 | 2422-1101136 | Труба | |
| 19 | 3022-1101002-01 | Топливопровод | |
| 21 | 1522-1101005 | Болт | |
| 22 | 1522-1101118 | Прокладка | |
| 23 | 1522-1101125 | Палец | |
| 25 | 920-1101162-09 | Трубка | |
| 28 | 200-3806026 | Прокладка | |
| 29 | 85-1101002 | Трубка | |
| 30 | 80-1101067 | Шайба | |
| 31 | 80-3723045-01 | Манжета | |
| 32 | 70-1101035-Б-01 | Рукав | |
| 33 | 240-1111103 | Болт | |
| 34 | Д18-051 | Болт | |
| 36 | КГ-1/8А.12.019 | Пробка | |
| 38 | УМ6аПР-43-02 | Уплотнитель | |
| 39 | БолтМ10-6gх25.88.35.019 | Болт | |
| 40 | БолтМ16-6gх50.88.35.019 | Болт | |
| 42 | БолтМ6-6gх20.88.35.019 | Болт | |
| 43 | ВинтВ.М5-6gх35.58.019 | Винт В.М5-6gх35.58.019 | |
| 44 | ГайкаМ10-6Н.6.019 | Гайка | |
| 45 | Шплинт3,2х18.019 | Шплинт | |
| 46 | Шайба6Т | Шайба | |
| 47 | Шайба10.ОТ | Шайба | |
| 48 | Шайба16.ОТ | Шайба | |
| 52 | ДОТ.740Ч-01 | Датчик | |
| 52 | ДУОТ.740Ч-01 | Датчик | |
| 53 | ПП6-1-0 | Кран | |
| 54 | 1101.06 | Топливопровод | |
| 55 | 1101.14 | Топливопровод | |
| 56 | 5000.01 | Хомут | |
| 57 | 5000.02 | Хомут с червячной резьбой 16-27 | |
| 58 | 4600.18 | Шайба РМ14 | |
| 59 | 4600.16 | Шайба РМ10 | |
| 60 | 822-1101081 | Штуцер | |
| 61 | Шарик11,112-100 | Шарик |
Содержащиеся в справочниках-каталогах запасные части и детали не предлагаются к продаже, а носят исключительно информационный характер