Вернуться на главную
Поиск
Каталоги запчастей к технике
Сельхозтехника
МТЗ
2122.3/2122.4
Дифференциал. Стакан подшипников
Каталог запасных частей к технике: МТЗ 2122.3/2122.4. Дифференциал. Стакан подшипников
zoom-in
zoom-out
enlarge
shrink
circle-right
circle-left
file-text2
info
cart
Тип техники
Не выбрано
Легковые автомобили
Грузовые автомобили и прицепы
Автобусы
Сельхозтехника
Спецтехника
Двигатели
Мототехника
Марка
Не выбрано
AGCO
Amity
CASE IH
DongFeng
Fortschritt
Foton
Franz Kleine
Gaspardo
Great Plains
KRONE
KUHN
Lemken
Lovol
MacDon
Massey Ferguson
New Holland
TIGARBO
Vaderstad
Versatile
Wirax
Агро
Агротехмаш
Бобруйскагромаш (ОАО «УКХ «Бобруйскагромаш»)
БЭМЗ
ВгТЗ
Воронежсельмаш
ВТЗ
Гомсельмаш
ДКЗ
ЗАО "Техника-сервис"
ЗиД
КЗК
Кировец-Ландтехник
Клевер
Красная Звезда
Лидагропроммаш
Лидсельмаш
ЛТЗ
Машстройхолдинг
Минитракторы
Мордовагромаш
МТЗ
Навигатор-Новое машиностроение
Нефтекамский автозавод
ПТЗ
Ремком
РСМ
Сибсельмаш
ТеКЗ
ТКЗ
ХЗТСШ
ХТЗ
ЮМЗ
Модель
Не выбрано
1025.5 (2013)
1025/1025.2/1025.3 (2009)
1220 (2011)
1220.5 (2013)
1523.5 (2013)
1523.5 с ГМТ (2014)
2122.3/2122.4 (2015)
3022ДЦ.1 (2011)
320.4М (2019)
622 (2012)
800/900 (2003)
80Х (2012)
892 (2011)
922.3 / 922.4 (2013)
922.5 (2013)
923.4 (2014)
923.5 (2013)
92П (2010)
952.5 (2013)
БЕЛАРУС 1025.7 (2022)
БЕЛАРУС 1220.7 (2022)
БЕЛАРУС 1221.7 (2022)
БЕЛАРУС 2103 (2015)
БЕЛАРУС 320 (1998)
БЕЛАРУС 3522.5 (2013)
БЕЛАРУС 3525 (2019)
БЕЛАРУС 421 (2014)
БЕЛАРУС 451 (2023)
БЕЛАРУС 651 (2023)
БЕЛАРУС 923.7 (2022)
БЕЛАРУС 952.7 (2022)
Беларус-08Н (09Н) (2015)
Беларус-422.1 (2018)
КБ-00.000 (САЗ) (2015)
КМ-2 (САЗ) (2015)
МТЗ-082
МТЗ-100
МТЗ-1005 (2008)
МТЗ-1021.3 (2010)
МТЗ-1025.4 (2009)
МТЗ-112Н, 132Н (2010)
МТЗ-1221 (1997)
МТЗ-1221 (2009) (2009)
МТЗ-1221.4 (2009)
МТЗ-1221.4 (2009)
МТЗ-1221.5 (2013)
МТЗ-1222/1523 (2009)
МТЗ-1522 (2008)
МТЗ-1523
МТЗ-1523 (2013)
МТЗ-1523 (2008) (2008)
МТЗ-1523.4 (2010)
МТЗ-1523.6 (2018)
МТЗ-2022 (2010)
МТЗ-2103 (2010)
МТЗ-2522 (2010)
МТЗ-310, 320, 321 (2011)
МТЗ-3522 (2011)
МТЗ-510/512, 520/522 (2010)
МТЗ-570 (2010)
МТЗ-80 (1998)
МТЗ-80 (2002) (2002)
МТЗ-80 (2009) (2009)
МТЗ-80.1 (2015)
МТЗ-821/921 (2009)
МТЗ-822 (2008)
МТЗ-826 (2010)
МТЗ-90/92 (2008)
МТЗ-900
МТЗ-900/920/950/952 (2009)
МТЗ-920.4/952.4 (2009)
МТЗ-922 (2008)
МТЗ-923 (2008)
ФР-00.010 (САЗ) (2015)
ФР-00700-Б (САЗ) (2015)
Схема
>
Не выбрано
Трансмиссия
Установка двигателя
Топливный бак
Управление подачей топлива для трактора Беларус–2122.4
Управление подачей топлива для трактора Беларус–2122.3
Установка воздухоочистителя
Установка фильтра топливного
Установка глушителя
Блок охлаждения
Ограждение вентилятора
Установка охладителя - Беларус-2122.4
Установка охладителя - Беларус-2122.3
Корпус сцепления
Управление сцеплением
Гидроусилитель
Бачок
Установка сцепления
Коробка передач
Узел передач. Вал первичный
Узел передач. Вал промежуточный
Узел передач. Фрикцион
Вал пониженных передач и заднего хода
Вал блока шестерен
Вал вторичный
Механизм управления
Привод насоса
Привод переднего ведущего моста
Привод карданный
Ограждение
Передний ведущий мост
Передний ведущий мост. Редуктор центральный.
Дифференциал
Редуктор конечной передачи переднего ведущего моста (1524-2308005)
Корпус заднего моста. Передача конечная. Механизм отключения привода независимого ВОМ.
Передача конечная
Дифференциал. Стакан подшипников
Привод блокировки
Тягово-сцепное устройство
Тяга рулевая
Колесо переднее ведущее
Колесо переднее ведущее - по заказу
Колесо заднее ведущее
Колесо заднее ведущее - по заказу
Ступица
Управление рулевое
Колонка рулевая
Кардан
Тормоза рабочие
Управление тормозами
Цилиндр рабочий 822-1602550-Б-01
Управление стояночным тормозом
Пневмопривод (комбинированный)
Баллон
Кран тормозной 2422.6-3514005
Кран тормозной 2422.6-3514505
Установка фар дорожных
Установка фонарей передних для тракторов Беларус-2122.3
Установка фонарей передних для тракторов Беларус-2122.4
Электрооборудование двигателя для Беларус-2122.4
Электрооборудование двигателя для Беларус-2122.3
Электрооборудование трансмиссии
Электрооборудование кабины Беларус-2122.3
Электрооборудование кабины Беларус-2122.4
Установка фонарей задних
Установка батарей аккумуляторных Беларус-2122.3
Установка батарей аккумуляторных Беларус-2122.4
Электрооборудование отопителя Беларус-2122.3
Электрооборудование отопителя Беларус-2122.4
Установка фар рабочих Беларус-2122.4
Установка фар рабочих Беларус-2122.3
Установка стартера на трактор Беларус-2122.3
Блок коммутации на трактор Беларус-2122.4
Установка щитка приборов 925М-3805105
Установка щитка приборов 822-3805105
Щиток приборов 925-3805110-03
Щиток приборов 925М-3805110
Аптечка
Вал отбора мощности задний
Передний ВОМ
Редуктор ВОМ
Управление ПВОМ
Гидроагрегаты и арматура
Устройство навесное
Узлы и элементы навесного устройства
Захват «Walterscheid» 2кат.
Захват «Walterscheid» 3кат.
Захват 2522-4605300/-01 «МТЗ» 3кат.
Шарниры и переходные элементы
Устройство навесное переднее
Установка переднего навесного устройства
Гидросистема трансмиссии
Установка стеклоочистителя переднего
Установка стеклоочистителя заднего
Установка стеклоомывателя
Кабина трактора
Установка кабины
Установка ящика инструментального
Облицовка только на трактор Беларус-2122.3
Облицовка только на трактор Беларус-2122.4
Установка сиденья
Установка сидения
Сиденье дополнительное
Установка кондиционера
Установка отопителя-охладителя
Установка конденсатора и фильтра-осушителя
Установка компрессора
Зеркало внутреннее
Зеркало наружное
Козырек противосолнечный
Облицовка
Облицовка
Крылья передних колес
Подножка
Подножка
Установка розеток и прикуривателя (3022-8700080-02)
Установка розеток и прикуривателя (2422.1-8700080)
Установка передней розетки
Установка блока коммутации и защиты
Управление трансмиссией
Управление задним навесным устройством
Управление распределителями EHS
Установка панели комбинированной только на трактор Беларус-2122.3
Управление двигателем (для трактора с двигателем Д-260.4S3A)
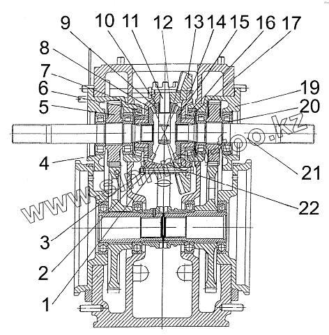
1
2
3
4
5
6
7
8
9
10
11
12
13
14
15
16
17
19
20
21
22
Позиция на иллюстрации
Заводской номер детали
Название детали
2022-2403020
2022-2403020
Дифференциал для запчастей
2022-2407060
2022-2407060
Стакан подшипников
2022-2403010
2022-2403010
Дифференциал
1
2022-2403034
Болт
2
2022-2403023
Пластина стопорная
3
ГайкаМ12
Гайка М 12
4
КольцоС125
Кольцо С125
5
2022-2407052
Шестерня
6
7216А
Подшипник
7
2022-2403049
Шайба
8
2022-2403019-Б
Крышка
9
2022-2403055
Сателлит
10
2022-2403025-Б
Шайба сателлита
11
2022-2403062-Б
Крестовина
12
Ролик4х29,8А3
Ролик 4х29,8 А3
13
2022-2403021-В
Шестерня ведомая
14
2022-2403018
Корпус
15
2022-2403048
Шестерня полуосевая
16
30216
Подшипник
17
2022-2407043
Кольцо
19
2022-2407042
Стакан подшипников
20
42311М1
Подшипник
21
2022-2407053
Вал
22
2022-2403017-Б
Проставка
Содержащиеся в справочниках-каталогах запасные части и детали не предлагаются к продаже, а носят исключительно информационный характер
Дополнительная информация
×
Название:
Номер:
Примечание: