Каталог запасных частей к технике: МТЗ 1523.5 с ГМТ. Коробка передач
33
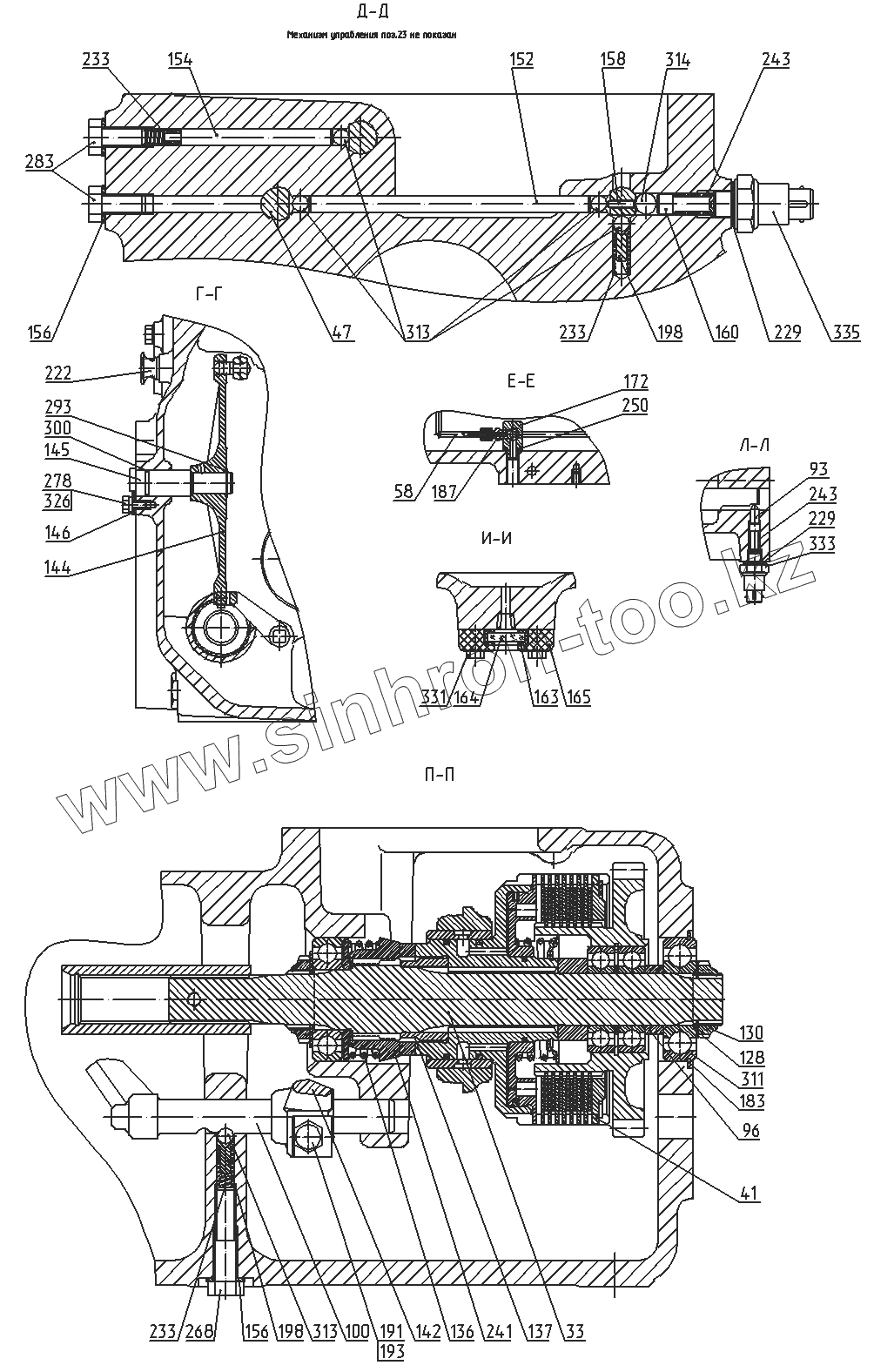
41
47
58
93
96
100
128
130
136
137
142
144
145
146
152
154
156
156
158
160
163
164
165
172
183
187
191
198
198
222
229
229
233
233
233
241
243
243
250
268
278
283
293
300
311
313
313
314
326
331
333
335
| Позиция на иллюстрации | Заводской номер детали | Название детали | |
|---|---|---|---|
| 1525-17000101) | 1525-17000101) | Коробка передач | |
| 1525-1700010-022) | 1525-1700010-022) | Коробка передач | |
| 1 | 1525-1701020 | Узел передач | |
| 3 | 1222-1701050 | Вал | |
| 5 | 1525-1701160 | Вал | |
| 8 | 1525-1701314-А | Шестерня | |
| 21 | 2025-1701430 | Трубопровод | |
| 23 | 2025-1702010 | Механизм управления | |
| 31 | 1522-1701350 | Втулка | |
| 33 | 1521-1802065 | Вал | |
| 36 | 1520-1701340 | Шестерня | |
| 38 | 1222-1701312-А | Шестерня | |
| 39 | 1222-1704010 | Привод насоса | |
| 41 | 1221-1802030 | Фрикцион | |
| 44 | 112-1701200 | Шестерня в сборе | |
| 47 | 85-1702050 | Поводок | |
| 50 | 80-1701140-Б | Гнездо | |
| 52 | 80-1701240 | Вал | |
| 56 | 80-1701310 | Стакан со штуцером и трубкой в сборе | |
| 58 | 80-1701420 | Трубка | |
| 61 | 80-1716010 | Фильтр в сборе | |
| 67 | 75-1701320 | Вал в сборе | |
| 73 | 1525-1701221 | Шестерня | |
| 79 | 2025-1701033 | Втулка | |
| 80 | 2025-1701525 | Шпилька | |
| 81 | 2025-1701525-01 | Шпилька | |
| 84 | 1523-1701025 | Корпус | |
| 86 | 1522-1701254 | Шайба 0,2 мм | |
| 87 | 1522-1701254-01 | Шайба 0,5 мм | |
| 88 | 1522-1701354 | Шайба | |
| 89 | 1522-1701525 | Шпилька | |
| 91 | 1522-1702035 | Поводок | |
| 93 | 1522-1702306 | Штифт | |
| 96 | 1521-1802043 | Втулка | |
| 99 | 1520-1701184 | Муфта | |
| 100 | 1520-1702038 | Поводок | |
| 107 | 1222-1701224 | Шестерня | |
| 109 | 1222-1701313 | Шестерня | |
| 111 | 1222-17013441) | Втулка | |
| 111 | 1025-17013442) | Шестерня | |
| 113 | 1222-1701349 | Втулка | |
| 115 | 1222-1701353 | Шайба | |
| 117 | 1222-1701361 | Шестерня | |
| 121 | 1222-1702029 | Вилка | |
| 122 | 1222-1702037 | Поводок | |
| 128 | 1221-1802019 | Шайба | |
| 130 | 1221-1802023 | Гайка | |
| 131 | 1221-1802091 | Пробка резьбовая | |
| 132 | 220-3503024 | Пластина стопорная | |
| 133 | 112-1701343 | Муфта | |
| 136 | 86-1802027 | Пружина | |
| 137 | 86-1802028 | Втулка | |
| 138 | 86-1802052 | Шайба | |
| 140 | 85-1702026 | Прокладка | |
| 141 | 85-1702027 | Вилка | |
| 142 | 85-1702034 | Вилка | |
| 144 | 85-1702041 | Коромысло | |
| 145 | 85-1702042 | Ось | |
| 146 | 85-1702043 | Пластина | |
| 148 | 85-1702045 | Поводок | |
| 152 | 85-1702046 | Палец | |
| 154 | 85-1702048 | Штифт | |
| 156 | 85-1702051 | Шайба | |
| 158 | 85-1702301 | Ось | |
| 160 | 85-1702305 | Штифт | |
| 163 | 85-4608086-Б | Уплотнитель | |
| 164 | 85-4608087-Б1 | Указатель | |
| 165 | 85-4608088-Б | Корпус | |
| 168 | 80-1701026 | Прокладка | |
| 170 | 80-1701045 | Гайка | |
| 172 | 80-1701057 | Штуцер | |
| 174 | 80-1701205 | Планка | |
| 175 | 80-1701206 | Кольцо | |
| 179 | 80-1701306 | Шайба | |
| 180 | 80-17013461) | Втулка | |
| 180 | 80-1701346-012) | Втулка | |
| 183 | 80-1701397 | Кольцо | |
| 187 | 80-1701549 | Штуцер | |
| 191 | 80-1702108 | Болт | |
| 196 | 80-1704016 | Прокладка | |
| 198 | 80-1704039 | Направляющая | |
| 200 | 80-1716016 | Прокладка | |
| 204 | 80-4608021 | Заглушка | |
| 207 | 75-1701352 | Втулка | |
| 210 | 70-1115012 | Хомутик | |
| 211 | 70-1701454-А2-01 | Крышка | |
| 219 | 52-2308097 | Гайка | |
| 222 | 50-1002318-Б | Рым | |
| 224 | 50-1701258 | Прокладка регулировочная 0,2 мм | |
| 225 | 50-1701259 | Прокладка регулировочная 0,5 мм | |
| 226 | 50-1701456-А | Прокладка | |
| 229 | 50-1702048 | Прокладка | |
| 231 | 50-1702092 | Болт призонный М12х42 | |
| 233 | 50-1702148-А | Пружина фиксатора | |
| 234 | 48А-3801023 | Трубка | |
| 241 | 8020-1802026 | Полумуфта | |
| 243 | 12-23-668-А | Пружина | |
| 245 | 54-31-472 | Кольцо пружинное | |
| 248 | Д01-015 | Штифт установочный | |
| 250 | Д18-055-А | Шайба | |
| 255 | ПК КГ 3, 8" | Пробка | |
| 257 | ШЦК 10х25 | Штифт | |
| 268 | Болт М12-6дх55.88.35.019 | Болт | |
| 269 | Болт М12-6дх100.58.019 | Болт | |
| 275 | Болт М8-6дх20.88.35.019 | Болт | |
| 278 | Болт М10-6дх20.88.35.019 | Болт | |
| 279 | Болт М10-6дх25.88.35.019 | Болт | |
| 280 | Болт М10-6дх30.88.35.019 | Болт | |
| 281 | Болт М10-6дх35.88.35.019 | Болт | |
| 282 | Болт М10-6дх40.109.40Х.019 | Болт | |
| 283 | Болт М12-6дх25.88.35.019 | Болт | |
| 284 | Болт М12-6дх30.88.35.019 | Болт | |
| 293 | С25 | Кольцо | |
| 294 | 2С70 | Кольцо | |
| 295 | 2С75 | Кольцо | |
| 300 | 026-030-25-2-2 | Кольцо | |
| 301 | 027-032-30-1-4 | Кольцо | |
| 305 | 12507 КМ | Подшипник | |
| 306 | 692215 К1М | Подшипник | |
| 308 | 6-67512 АШ2 | Подшипник | |
| 311 | 6-50306 К | Подшипник | |
| 313 | Шарик 10,0-60 | Шарик 10,0-60 | |
| 314 | Шарик 12,7-60 | Шарик | |
| 325 | Шайба 8Т | Шайба 8Т | |
| 326 | Шайба 10.ОТ | Шайба | |
| 327 | Шайба 12.ОТ | Шайба | |
| 331 | Болт М6х20 DIN EN 1665-98 | Болт | |
| 333 | Выключатель | Выключатель | |
| 335 | ВК 12-41 | Выключатель | |
| 343 | КК 70х78х31 Е (664514Е) | Подшипник | |
| 344 | КК 52х60х39 Е (664910Е) | Подшипник | |
| 348 | GT-D 109, 116 | Синхронизатор | |
| 348 | 3.26299.3 | Синхронизатор | |
| 355 | 1,6-О-С | Проволока |
Содержащиеся в справочниках-каталогах запасные части и детали не предлагаются к продаже, а носят исключительно информационный характер