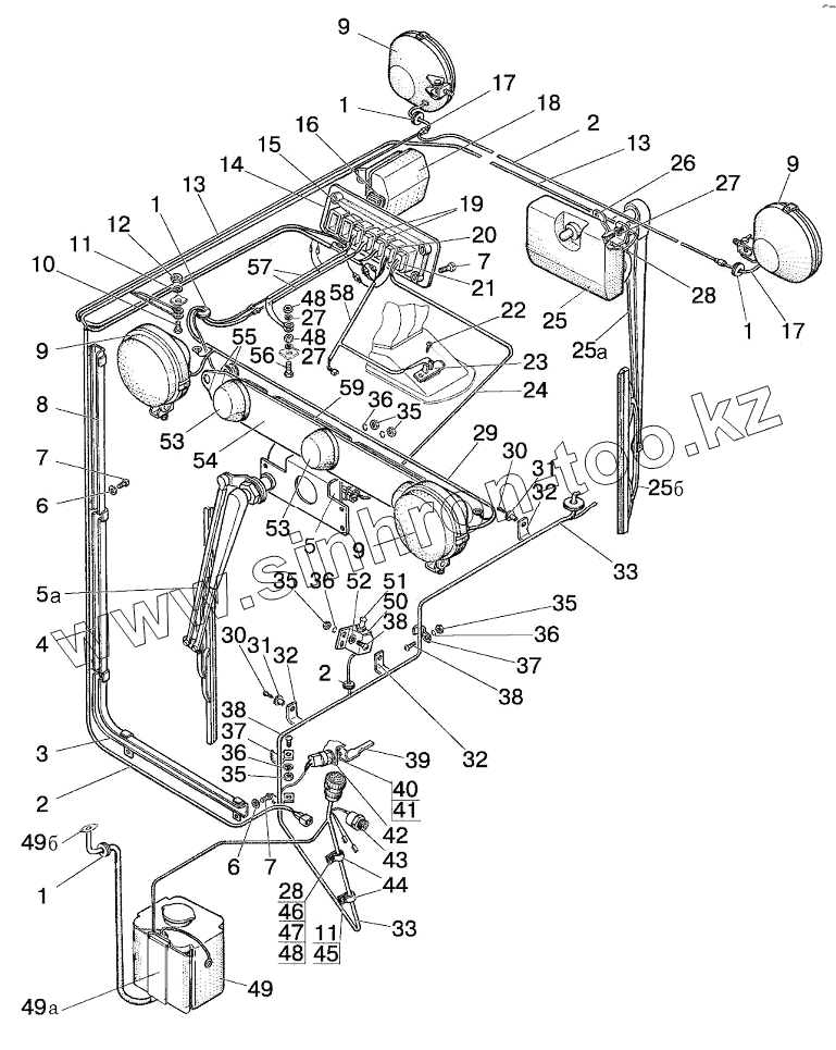
Каталог запасных частей к технике: МТЗ 1025/1025.2/1025.3. Электрооборудование по кабине
1
1
1
1
2
2
2
3
4
5
5а
6
6
7
7
7
8
9
9
9
9
10
11
11
12
13
13
14
15
16
17
17
18
19
20
21
22
23
24
25
25а
25б
26
27
27
27
28
28
29
30
30
31
31
32
32
32
33
33
35
35
35
35
36
36
36
36
37
37
38
38
38
39
40
41
42
43
44
45
46
47
48
48
48
49
49а
49б
50
51
52
53
53
54
55
56
57
58
59
| Позиция на иллюстрации | Заводской номер детали | Название детали | |
|---|---|---|---|
| 1 | 70-3723042-01 | Втулка | |
| 2 | 80-3724351-Г1 | Жгут | |
| 3 | 80-3723015 | Желоб | |
| 4 | 80-3723020 | Желоб | |
| 5 | 5205.10 | Стеклоочиститель пантографный | |
| 5а | 5205.25 | Щетка с рычагом | |
| 6 | ШайбаС6.01.019 | Шайба | |
| 7 | ВинтВ.М6-6gx12.58.019 | Винт | |
| 8 | 80-3723010 | Желоб | |
| 9 | 8724.31.06 | Фара | |
| 10 | БолтМ8-6gx14.88.35.019 | Болт М8-6gx14.88.35.019 | |
| 11 | Шайба8Т | Шайба 8Т | |
| 12 | ГайкаМ8-6Н.6.019 | Гайка | |
| 13 | 80В-3724310-14 | Провод | |
| 14 | 80-3801342 | Щиток | |
| 15 | 3710.40 | Выключатель знака автопоезда | |
| 16 | 80-3801327 | Заглушка | |
| 17 | 80-3724035-Б | Провод | |
| 18 | 3714.10 | Плафон освещения кабины | |
| 19 | 3710.30 | Выключатель фар рабочих | |
| 20 | 3709.15 | Переключатель вентилятора | |
| 21 | 3709.25 | Переключатель стеклоочистителя | |
| 22 | Винт4х10.01.019 | Винт | |
| 23 | 11.3729 | Дополнительное сопротивление | |
| 24 | 80В-3724010 | Жгут | |
| 25 | 5205.20 | Стеклоочиститель | |
| 25а | 5205.30 | Рычаг стеклоочистителя | |
| 25б | 5205.35 | Щетка стеклоочистителя | |
| 26 | 80-5205031 | Кронштейн | |
| 27 | Шайба6Т | Шайба | |
| 28 | БолтМ6-6gx16.88.35.019 | Болт | |
| 29 | 80-3724232-Б | Жгут | |
| 30 | Шуруп2-4х16.019 | Шуруп | |
| 31 | А37.10.031 | Бонка | |
| 32 | 85-3723041-01 | Скоба | |
| 33 | 80-3724300-Г | Жгут | |
| 35 | ГайкаМ5-6Н.6.019 | Гайка | |
| 36 | Шайба5Т | Шайба | |
| 37 | 80-3723038 | Скоба | |
| 38 | ВинтВ.М5-6gx16.58.019 | Винт В.М5-6gx16.58.019 | |
| 39 | 85-3710032 | Рычаг | |
| 40 | 85-3710025 | Гайка | |
| 41 | Шайба14Л | Шайба пружинная | |
| 42 | 3720.10 | Выключатель сигнала торможения | |
| 43 | 3829.15 | Датчик аварийного давления Масла (ДАДМ-03) | |
| 44 | 1321-8700029 | Хомут | |
| 45 | ВинтВ.М8-6gx25.58.019 | Винт В.М8-6gx25.58.019 | |
| 46 | ВинтВ.М6-6gx25.58.019 | Винт В.М6-6gx25.58.019 | |
| 47 | ШайбаС8.01.019 | Шайба | |
| 48 | ГайкаМ6-6Н.6.019 | Гайка | |
| 49 | 5208.25 | Стеклоомыватель электрический | |
| 49а | 5208.20 | Кронштейн | |
| 49б | 5208.10 | Жиклер | |
| 50 | 80-3710012 | Кронштейн | |
| 51 | 3710.60 | Выключатель лампы ручного тормоза | |
| 52 | ШайбаС5.01.019 | Шайба | |
| 53 | 3738.10 | Фонарь автопоезда | |
| 54 | 80-3738001 | Кронштейн | |
| 55 | 80-6708904 | Прокладка | |
| 56 | БолтМ6-6gx20.58.35.019 | Болт | |
| 57 | 80-3724231-Б | Жгут | |
| 58 | 80-3724353-Г | Жгут | |
| 59 | 80-3724233-Б | Жгут |
Содержащиеся в справочниках-каталогах запасные части и детали не предлагаются к продаже, а носят исключительно информационный характер