Вернуться на главную
Поиск
Каталоги запчастей к технике
Сельхозтехника
МТЗ
1025/1025.2/1025.3
Балласт
Каталог запасных частей к технике: МТЗ 1025/1025.2/1025.3. Балласт
zoom-in
zoom-out
enlarge
shrink
circle-right
circle-left
file-text2
info
cart
Тип техники
Не выбрано
Легковые автомобили
Грузовые автомобили и прицепы
Автобусы
Сельхозтехника
Спецтехника
Двигатели
Мототехника
Марка
Не выбрано
AGCO
Amity
CASE IH
DongFeng
Fortschritt
Foton
Franz Kleine
Gaspardo
Great Plains
KRONE
KUHN
Lemken
Lovol
MacDon
Massey Ferguson
New Holland
TIGARBO
Vaderstad
Versatile
Wirax
Агро
Агротехмаш
Бобруйскагромаш (ОАО «УКХ «Бобруйскагромаш»)
БЭМЗ
ВгТЗ
Воронежсельмаш
ВТЗ
Гомсельмаш
ДКЗ
ЗАО "Техника-сервис"
ЗиД
КЗК
Кировец-Ландтехник
Клевер
Красная Звезда
Лидагропроммаш
Лидсельмаш
ЛТЗ
Машстройхолдинг
Минитракторы
Мордовагромаш
МТЗ
Навигатор-Новое машиностроение
Нефтекамский автозавод
ПТЗ
Ремком
РСМ
Сибсельмаш
ТеКЗ
ТКЗ
ХЗТСШ
ХТЗ
ЮМЗ
Модель
Не выбрано
1025.5 (2013)
1025/1025.2/1025.3 (2009)
1220 (2011)
1220.5 (2013)
1523.5 (2013)
1523.5 с ГМТ (2014)
2122.3/2122.4 (2015)
3022ДЦ.1 (2011)
320.4М (2019)
622 (2012)
800/900 (2003)
80Х (2012)
892 (2011)
922.3 / 922.4 (2013)
922.5 (2013)
923.4 (2014)
923.5 (2013)
92П (2010)
952.5 (2013)
БЕЛАРУС 1025.7 (2022)
БЕЛАРУС 1220.7 (2022)
БЕЛАРУС 1221.7 (2022)
БЕЛАРУС 2103 (2015)
БЕЛАРУС 320 (1998)
БЕЛАРУС 3522.5 (2013)
БЕЛАРУС 3525 (2019)
БЕЛАРУС 421 (2014)
БЕЛАРУС 451 (2023)
БЕЛАРУС 651 (2023)
БЕЛАРУС 923.7 (2022)
БЕЛАРУС 952.7 (2022)
Беларус-08Н (09Н) (2015)
Беларус-422.1 (2018)
КБ-00.000 (САЗ) (2015)
КМ-2 (САЗ) (2015)
МТЗ-082
МТЗ-100
МТЗ-1005 (2008)
МТЗ-1021.3 (2010)
МТЗ-1025.4 (2009)
МТЗ-112Н, 132Н (2010)
МТЗ-1221 (1997)
МТЗ-1221 (2009) (2009)
МТЗ-1221.4 (2009)
МТЗ-1221.4 (2009)
МТЗ-1221.5 (2013)
МТЗ-1222/1523 (2009)
МТЗ-1522 (2008)
МТЗ-1523
МТЗ-1523 (2013)
МТЗ-1523 (2008) (2008)
МТЗ-1523.4 (2010)
МТЗ-1523.6 (2018)
МТЗ-2022 (2010)
МТЗ-2103 (2010)
МТЗ-2522 (2010)
МТЗ-310, 320, 321 (2011)
МТЗ-3522 (2011)
МТЗ-510/512, 520/522 (2010)
МТЗ-570 (2010)
МТЗ-80 (1998)
МТЗ-80 (2002) (2002)
МТЗ-80 (2009) (2009)
МТЗ-80.1 (2015)
МТЗ-821/921 (2009)
МТЗ-822 (2008)
МТЗ-826 (2010)
МТЗ-90/92 (2008)
МТЗ-900
МТЗ-900/920/950/952 (2009)
МТЗ-920.4/952.4 (2009)
МТЗ-922 (2008)
МТЗ-923 (2008)
ФР-00.010 (САЗ) (2015)
ФР-00700-Б (САЗ) (2015)
Схема
>
Не выбрано
Блок цилиндров. Установка передней опоры (Д-245/Д-245С) (1025, 1025.2)
Блок цилиндров. Установка передней опоры (Д-245С2) (1025.3)
Установка головки цилиндров и впускного тракта (Д-245/Д-245С) (1025, 1025.2)
Установка головки цилиндров и впускного тракта (Д-245С2) (1025.3)
Поршни и шатуны. Коленчатый вал и маховик (Д-245/Д-245С) (1025, 1025.2)
Поршни и шатуны. Коленчатый вал и маховик (Д-245С2) (1025.3)
Распределительный механизм (Д-245/Д-245С/Д-245С2)
Система впуска и выпуска (Д-245/Д-245С) (1025, 1025.2)
Система впуска и выпуска (Д-245С2) (1025.3)
Маслопроводы турбокомпрессора (Д-245)
Маслопроводы турбокомпрессора (Д-245С)
Маслопроводы турбокомпрессора (Д-245С2)
Установка насоса рулевого управления (Д-245/Д-245С/Д-245С2)
Баки топливные
Бак топливный (в комплектации трактора с гидроподъемником)
Топливные трубопроводы и установка топливной аппаратуры (Д-245/Д-245С)
Топливные трубопроводы и установка топливной аппаратуры (Д-245С)
Топливные трубопроводы и установка топливной аппаратуры (Д-245С2)
Фильтр топливный грубой очистки (Д-245/Д-245С/Д-245С2)
Фильтр топливный тонкой очистки (Д-245/Д-245С/Д-245С2)
Управление подачей топлива
Управление подачей топлива (с гидроподъемником)
Воздухоочиститель (Д-245/Д-245С) (1025, 1025.2)
Установка воздухоочистителя «Donaldson» (Д-245С2) (1025.3)
Глушитель
Радиатор водяной (для Д-245/Д-245С) (1025, 1025.2)
Блок охлаждения (для Д-245С2) (1025.3)
Установка термостата (Д-245/Д-245С/Д-245С2)
Установка водяного насоса. Установка вентилятора (Д-245/Д-245С) (1025, 1025.2)
Установка водяного насоса. Установка вентилятора (Д-245С2) (1025.3)
Ограждение вентилятора
Шторка (Д-245/Д-245С)
Охладитель надувочного воздуха (Д-245С2) (1025.3)
Установка масляного картера (Д-245/Д-245С/Д-245С2)
Установка масляного насоса. Установка приемника масляного насоса (Д-245/Д-245С/Д-245С2)
Установка масляного фильтра с жидкостно-масляным теплообменником (Д-245/Д-245С/Д-245С2)
Установка компрессора (Д-245/Д-245С/Д-245С2)
Сцепление
Корпус сцепления
Корпус сцепления
Управление сцеплением
Коробка передач
Узел коробки передач
Вал промежуточный
Вал вторичный
Вал пониженных передач
Механизм управления коробкой передач
Привод насоса
Фильтр
Фильтр-распределитель
Привод переднего ведущего моста
Привод карданный
Ограждение
Передний ведущий мост 72-2300020-А (1025)
Передний ведущий мост 822-2300020 (1025.2, 1025.3)
Главная передача переднего ведущего моста
Дифференциал
Редуктор конечной передачи переднего ведущего моста (для ПВМ 72-2300020-А (рис.53.1)) (1025)
Редуктор конечной передачи переднего ведущего моста (для ПВМ 822-2300020(рис.53.2)) (1025.2, 1025.3)
Корпус заднего моста. Дифференциал. Конечная передача
Механизм блокировки дифференциала
Механизм блокировки дифференциала «мокрого» типа
Управление блокировкой дифференциала заднего моста (1025, 1025.2)
Устройство прицепное. Вариант «крюк» (по заказу).
Устройство прицепное. Вариант «маятник или прицеп» (по заказу)
Тягово-сцепное устройство
Тягово-сцепное устройство (варианты комплектации)
Полурама
Устройство буксирное
Крюк прицепной гидрофицированный
Тяга рулевая
Колеса передние ведущие
Колеса передние ведущие
Колеса задние ведущие. Ступицы задних колес
Колонка рулевая
Управление рулевое (с ПВМ 822-2300020) (1025.2, 1025.3)
Управление рулевое (с ПВМ 72-2300020-А) (1025)
Управление рулевое с ПВМ 822-2300020-04 и отдельным баком (1025.3)
Бак (1025.3)
Гидроцилиндр Ц63
Тормоза. Управление тормозами
Тормоза (вариант исполнения)
Тормоза «мокрые» (левый/правый)
Тормоз стояночно-запасной, управление стояночно-запасным тормозом
Тормоз стояночный. Управление стояночным тормозом
Управление «мокрыми» тормозами
Пневмопривод (вариант). (1025, 1025.2)
Пневмопривод с двумя баллонами (вариант). (1025, 1025.2)
Пневмопривод (двухпроводный)
Регулятор давления
Баллон
Кран тормозной (1025, 1025.2)
Кран тормозной (1025.3)
Головка соединительная (1025, 1025.2)
Головка соединительная (1025.3)
Электрооборудование по дизелю (1025, 1025.2)
Электрооборудование по дизелю (1025.3)
Электрооборудование трансмиссии
Электрооборудование по кабине
Генератор
Установка батарей аккумуляторных (система запуска 12В) (1025, 1025.2)
Установка батарей аккумуляторных (система запуска 24В) (1025, 1025.2)
Установка батарей аккумуляторных (1025.3)
Подогреватель электрофакельный (1025, 1025.2)
Стартер
Установка фар дорожных
Установка фонарей передних
Установка фонарей передних
Установка фонарей задних
Основание, приборы
Кабина
Панели
Двери кабины
Сиденье оператора
Сиденье оператора
Подвеска сиденья
Сиденье дополнительное
Отопитель
Зеркало заднего вида внутреннее
Зеркало заднего вида боковое
Козырек противосолнечный
Облицовка (1025, 1025.2)
Облицовка (вид слева)
Облицовка (вид справа) (1025.3)
Облицовка (сечения) (1025.3)
Крылья передние (с ПВМ 72-2300020-А) (1025)
Крылья передние (для ПВМ 822-2300020-02 с удлиненными рукавами)
Крылья передние (для ПВМ 822-2300020-04 с короткими рукавами)
Подножка
Управление ПВМ (1025)
Управление ПВМ и БД заднего моста (1025.2, 1025.3)
Вал отбора мощности задний 85-4202010
Вал отбора мощности задний 1221-4202010-А
Управление задним валом отбора мощности
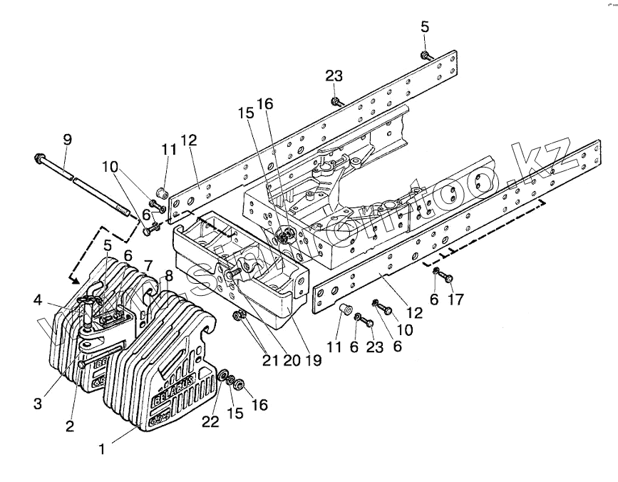
Балласт
Привод насоса
Механизм задней навески
Механизм задней навески (по заказу)
Механизм задней навески (с гидроподъемником)
Наружная блокировка нижних тяг
Стяжка телескопическая
Гидросистема М1221-4600010
Корпус гидросистемы М1221-4600015
Гидросистема Р1221-4600010
Корпус гидросистемы Р1221-4600015
Гидросистема 85-4600010
Управление гидрораспределителем RS213 Mita, RS 213 Belarus, РП 70 (1025, 1025.3)
Управление гидрораспределителем Р80
Корпус гидросистемы и фильтр
Гидроцилиндр
Гидрораспределитель Р80-3/4-222-ЗГг
Гидрораспределитель РП70
Регулятор
Привод регулятора
Муфта быстросоединяемая
Смеситель
Механизм фиксации
Цилиндр гидроподъемника
Распределитель гидроподъемника
Управление гидроподъемником
Гидроподъемник
Стенка, крышка
Инструмент оператора
Аптечка
Ящик инструментальный
1
2
3
4
5
5
6
6
6
6
6
7
8
9
10
10
11
11
12
12
12
15
15
16
16
17
19
20
21
22
23
23
Позиция на иллюстрации
Заводской номер детали
Название детали
1
80-4235011-A
Груз
2
1025-4235012
Болт
3
85-4235025-Б
Проушина
4
70-4235030
Шкворень
5
БолтМ16-6gx45.88.35.019
Болт М16-6gx45.88.35.019
6
Шайба16.ОТ
Шайба
7
ШайбаС16.01.019
Шайба С 16.01.019
8
1521-4235011-A
Груз
9
1025-4235015-01
Струна
10
БолтМ16-6gx32.88.35.019
Болт
11
80-4235029
Втулка
12
80-4235028
Пластина правая
12
80-4235028-01
Пластина левая
15
Шайба20.ОТ
Шайба
16
ГайкаМ20-6Н.6.019
Гайка
17
БолтМ16-6gx40.88.35.019
Болт М16-6gx40.88.35.019
19
1521-4235020
Кронштейн
20
70-4605036
Болт
21
ГайкаМ18-6Н.6.019
Гайка М18-6Н.6.019
22
40-3502084
Шайба
23
БолтМ16-6gx50.88.35.019
Болт М16-6gx50.88.35.019
Содержащиеся в справочниках-каталогах запасные части и детали не предлагаются к продаже, а носят исключительно информационный характер
Дополнительная информация
×
Название:
Номер:
Примечание: