Каталог запасных частей к технике: Минитракторы Уралец. Дополнительная коробка передач (нового образца)
1
2
2
2
3
3
3
4
5
9
13
19
19
20
20
32
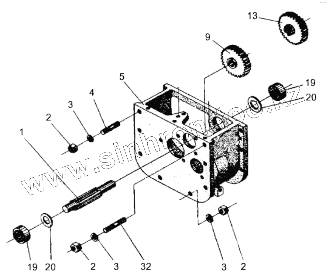
| Позиция на иллюстрации | Заводской номер детали | Название детали | |
|---|---|---|---|
| 1 | 14.37.128-1 | Вал подъёмника | |
| 2 | GB6170-86 | Гайка | |
| 3 | GB93-87 | Шайба | |
| 4 | GB901-88 | Шпилька | |
| 5 | 10T.37.102-A | Корпус дополнительной коробки передач | |
| 9 | 14.37.205-1 | Шестерня подъемная | |
| 13 | 14.37.206-1 | Шестерня передаточная | |
| 19 | GB276-89 | Подшипник | |
| 20 | 10T.37.129 | Кольцо упорное внешнее | |
| 32 | GB901-88 | Шпилька |
Содержащиеся в справочниках-каталогах запасные части и детали не предлагаются к продаже, а носят исключительно информационный характер