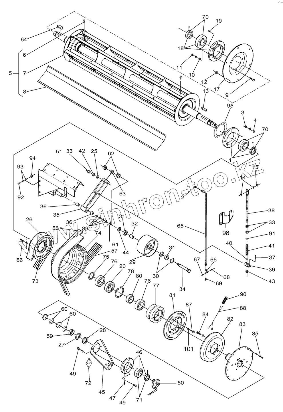
Каталог запасных частей к технике: Massey Ferguson Fend-8300/8350. Rear Beater
1
2
3
4
5
6
7
8
9
10
11
12
13
14
15
17
18
19
20
25
26
27
28
29
30
31
31
32
33
33
34
35
35
36
36
37
38
39
40
41
42
43
44
45
46
47
49
49
50
51
57
58
59
60
60
61
62
63
64
65
66
67
68
69
70
70
71
72
73
73
73
74
75
76
76
77
77
78
80
80
81
81
82
82
83
83
84
84
85
86
87
87
88
89
90
90
91
92
93
94
95
98
101
| Позиция на иллюстрации | Заводской номер детали | Название детали | |
|---|---|---|---|
| 1 | D41717300 | BEARING | |
| 2 | D43009900 | GREASE | |
| 3 | D20400446 | WASHER | |
| 4 | 3009695X1 | Nut | |
| 5 | D28385021 | REAR BEATER | |
| 6 | D40697900 | SCREW | |
| 7 | D28385022 | BEATER | |
| 8 | D28380423 | PLATE | |
| 9 | 3009509X1 | Hex Cap Screw | |
| 10 | D20400446 | WASHER | |
| 11 | 3009695X1 | Nut | |
| 12 | 394367X1 | Locknut | |
| 13 | D43159000 | KEY | |
| 14 | D20400471 | WASHER | |
| 15 | 1440329X1 | Locknut | |
| 17 | D28380103 | COVER | |
| 18 | D41717300 | BEARING | |
| 19 | 339003X1 | Grease Nipple | |
| 20 | D41617700 | BEAR. 6015 2RS | |
| 25 | D20400460 | WASHER | |
| 26 | D41979800 | BELT | |
| 27 | D28780617 | KIT, WASHER | |
| 28 | D25700322 | NUT | |
| 29 | D28780486 | PULLEY | |
| 30 | 339199X1 | CIRCLIP | |
| 31 | SKF62042RS | BEAR. 6204 2RS | |
| 32 | D28780007 | RING | |
| 33 | 339034X1 | Nut | |
| 34 | D28780008 | BOLT | |
| 35 | D28786659 | LEVER | |
| 35 | D28787003 | ARM | |
| 36 | D43364800 | BUSH | |
| 37 | 339129X1 | SPLIT PIN | |
| 38 | D28380011 | TIE ROD | |
| 39 | D28780030 | PIVOT | |
| 40 | D20400459 | WASHER | |
| 41 | D28210881 | COMP.SPRING | |
| 42 | D20400459 | WASHER | |
| 43 | 1442739X1 | Locknut | |
| 44 | D28380003 | RING | |
| 45 | D28380020 | YOKE | |
| 46 | D41711000 | FLANGE | |
| 47 | 1441858X1 | Grease Fitting | |
| 49 | 3009507X1 | Hex Cap Screw | |
| 50 | D28780404 | RETAINER | |
| 51 | D28780830 | TENSIONER | |
| 52 | D40425900 | SCREW | |
| 57 | D41990059 | BELT | |
| 58 | D41990001 | V-BELT | |
| 59 | D28380195 | BUSH | |
| 60 | D42595900 | TIGHTENER | |
| 61 | 1440476X1 | CIRCLIP | |
| 62 | D28780777 | ECCENTRIC | |
| 63 | D28780776 | SPACER | |
| 64 | D43110600 | KEY | |
| 65 | D28780803 | TUBE | |
| 66 | D43009200 | BRACKET | |
| 67 | 339560X1 | Hex Cap Screw | |
| 68 | 1441462X1 | LOCKNUT | |
| 69 | 339003X1 | Grease Nipple | |
| 70 | D41717400 | BEARING ASSY | |
| 71 | D41705700 | BALL BEARING | |
| 72 | D28380178 | DOG | |
| 73 | D28380300 | CLUTCH | |
| 73 | D28380700 | CLUTCH | |
| 73 | D28380047 | PULLEY | |
| 74 | D28380045 | PULLEY | |
| 75 | D42505500 | CIRCLIP | |
| 76 | D41617700 | BEAR. 6015 2RS | |
| 77 | D28380285 | BEARING CARRIER | |
| 77 | D28380701 | HUB | |
| 78 | D42516700 | CIRCLIP | |
| 80 | D28380658 | RING | |
| 80 | D28380703 | SPACER | |
| 81 | D45060300 | PLATE | |
| 81 | D45080168 | MAGNET | |
| 82 | D45060200 | MAGNET | |
| 82 | D45080169 | PLATE | |
| 83 | D28380286 | HUB | |
| 83 | D28380702 | HUB | |
| 84 | D40410700 | SCREW | |
| 84 | D40464200 | SCREW | |
| 85 | 1440349X1 | SCREW | |
| 86 | 339337X1 | Hex Cap Screw | |
| 87 | 339139X1 | HEX. SOCK. SCREW | |
| 87 | D40464300 | SCREW | |
| 88 | D28850906 | HARNESS | |
| 89 | D20400531 | SPACER | |
| 90 | D28751867 | SHEATH | |
| 90 | D28380704 | FLEXIBLE TUBE | |
| 91 | D28181284 | WASHER | |
| 92 | D40407200 | HEX. SOCK. SCREW | |
| 93 | D20400473 | WASHER | |
| 94 | D41092500 | NUT | |
| 95 | D28385023 | SHIM | |
| 96 | D41102100 | WASHER | |
| 97 | D41100900 | SPRING WASHER | |
| 98 | D28285889 | BRACKET | |
| 99 | D45010003 | PLUG | |
| 100 | D45067900 | CAP | |
| 101 | D41652600 | WASHER |
Содержащиеся в справочниках-каталогах запасные части и детали не предлагаются к продаже, а носят исключительно информационный характер