Каталог запасных частей к технике: Massey Ferguson Fend-8300/8350. Brake Pedals And Gearshift
1
2
3
4
6
7
9
9
10
10
11
11
12
12
13
13
14
14
15
15
16
17
17
18
18
19
19
20
21
21
22
23
24
25
26
27
28
29
30
32
33
34
35
36
38
38
39
39
40
40
40
40
41
42
43
43
58
61
63
64
65
66
66
67
68
69
70
71
72
73
74
75
80
80
82
83
84
84
86
86
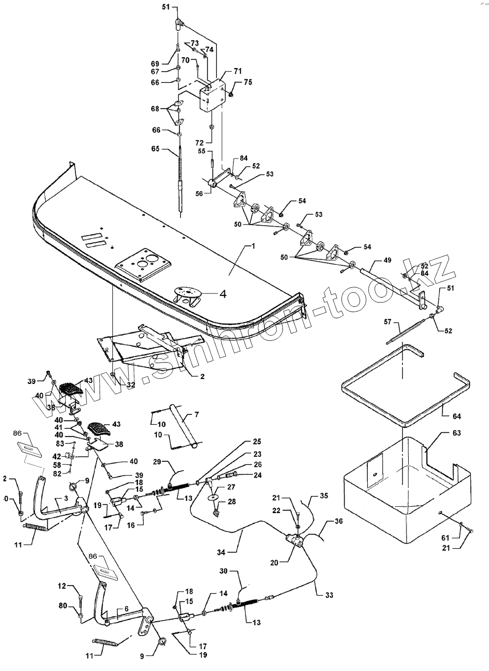
| Позиция на иллюстрации | Заводской номер детали | Название детали | |
|---|---|---|---|
| 1 | D28981714 | FRAME | |
| 2 | D28981669 | BRACKET | |
| 3 | D28985768 | BRAKE PEDAL | |
| 4 | D28989012 | SUPPORT | |
| 6 | D28985768 | BRAKE PEDAL | |
| 7 | D28981670 | SHAFT | |
| 9 | D43319300 | BUSH | |
| 10 | 354416X1 | PIN | |
| 11 | D28800460 | SPRING | |
| 12 | 339337X1 | Hex Cap Screw | |
| 13 | D45908000 | RAM | |
| 14 | 339402X1 | Nut | |
| 15 | D45905300 | FORK HEAD | |
| 16 | 339761X1 | Hex Cap Screw | |
| 17 | D45905500 | BOLT | |
| 18 | D45905600 | WASHER | |
| 19 | 354057X1 | SPLIT PIN | |
| 20 | D45908100 | RAM | |
| 21 | 339124X1 | Hex Cap Screw | |
| 22 | D20400506 | WASHER | |
| 23 | D45908400 | CONNECTOR | |
| 24 | D45908500 | SCREW | |
| 25 | D45713600 | GASKET | |
| 26 | D45713700 | GASKET | |
| 27 | D28780948 | WASHER | |
| 28 | D45908300 | SWITCH | |
| 29 | D28980948 | PIPE | |
| 30 | D28980947 | PIPE | |
| 32 | 394367X1 | Locknut | |
| 33 | D28985953 | TUBE | |
| 34 | D28985953 | TUBE | |
| 35 | D28980944 | PIPE | |
| 36 | D28980945 | PIPE | |
| 38 | D28981203 | BRAKE PEDAL | |
| 39 | 339804X1 | Hex Cap Screw | |
| 40 | D20400404 | WASHER | |
| 41 | 1441462X1 | LOCKNUT | |
| 42 | D28981584 | PAWL | |
| 43 | D44719500 | RUBBER | |
| 58 | D20400466 | WASHER | |
| 61 | D20400506 | WASHER | |
| 63 | D28980684 | COVER | |
| 64 | D28782160 | GASKET | |
| 65 | D46439500 | CABLE | |
| 66 | D46434600 | NUT | |
| 67 | D41010600 | NUT | |
| 68 | D46434800 | TOGGLE | |
| 69 | D28760913 | BOLT | |
| 70 | 339666X1 | Hex Cap Screw | |
| 71 | D28980806 | BRACKET | |
| 72 | 1441462X1 | LOCKNUT | |
| 73 | 3009493X1 | Hex Cap Screw | |
| 74 | D20400471 | WASHER | |
| 75 | 1440329X1 | Locknut | |
| 80 | 339169X1 | Nut | |
| 82 | D40400900 | SETSCREW | |
| 83 | 1441917X1 | Locknut | |
| 84 | D41101900 | SPRING WASHER | |
| 86 | D28981747 | SEAL |
Содержащиеся в справочниках-каталогах запасные части и детали не предлагаются к продаже, а носят исключительно информационный характер